GM Service Manual Online
For 1990-2009 cars only

    Object Number: 792734  Size: SH

    Important: To determine if the striker adjustment is required, proceed as follows.

  1. Ensure that the door is properly aligned with the door opening before proceeding with the striker adjustment.
  2. Open and close the door on the striker (2). Note if the door drags on the striker causing the door to move upward or downward upon contact with the striker. Also note the closing effort to fully engage the latch.

  3. Object Number: 794023  Size: SH

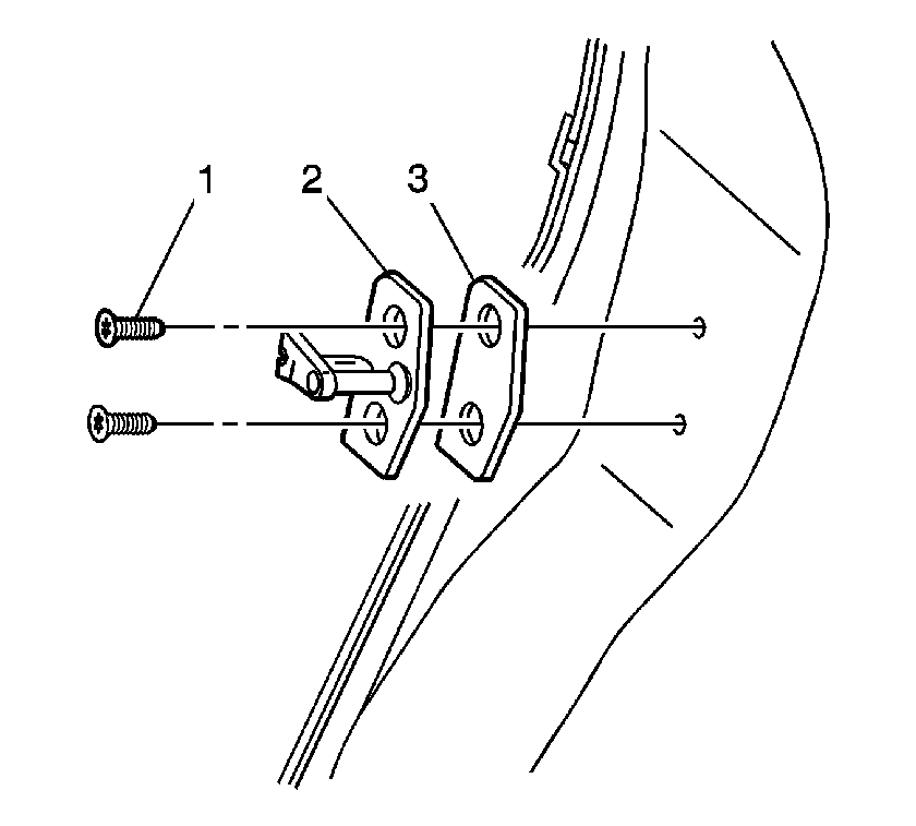
    Important: When the striker bolts have been removed, the striker anchor plate (1) will slip down in the door pillar or quarter panel and the trim will need to be removed to gain access.

  4. Using a soft marker, mark around the striker (2) for reference of the original position. Loosen the striker screws just enough to allow the movement of the door striker and shims if equipped.
  5. Adjust the door striker up or down and inboard or outboard as required.
  6. Move the striker to eliminate drag on the striker and door latch and to achieve proper door position within door opening. Start with up/down position, then position the striker to achieve proper alignment to the door opening. Set the in/out adjustment for proper door seal engagement ensuring that the door closing efforts are correct.
  7. Notice: Use the correct fastener in the correct location. Replacement fasteners must be the correct part number for that application. Fasteners requiring replacement or fasteners requiring the use of thread locking compound or sealant are identified in the service procedure. Do not use paints, lubricants, or corrosion inhibitors on fasteners or fastener joint surfaces unless specified. These coatings affect fastener torque and joint clamping force and may damage the fastener. Use the correct tightening sequence and specifications when installing fasteners in order to avoid damage to parts and systems.

  8. Adjust the striker and add spacers as required.
  9. Tighten
    Tighten the screws to 20 N·m (15 lb ft).

  10. Inspect the door for proper operation.
  11. Close the door.