GM Service Manual Online
For 1990-2009 cars only

Removal Procedure

    Important: Do NOT attempt repairs in order to correct lock discrepancies. Replace the lock. Do NOT remove the energy absorber pad when removing the lock.

  1. Remove the rear door trim panel . Refer to Rear Side Door Trim Panel Replacement .
  2. Remove the rear door water deflector. Refer to Rear Side Door Water Deflector Replacement .

  3. Object Number: 1350838  Size: SH

    Important: The outside handles have adjustable outside handle lock rods. This allows for adjustment of the amount of travel needed in order to operate the outside handle.

    When servicing a vehicle with adjustable outside handle lock rods, remove all free play between the outside handle and the lock. Also, do not operate the outside handle before these connections are made.

  4. Open the outside handle rod to lock clip located on the door lock.
  5. The door handle rod should be loose from the lock.


    Object Number: 315760  Size: SH
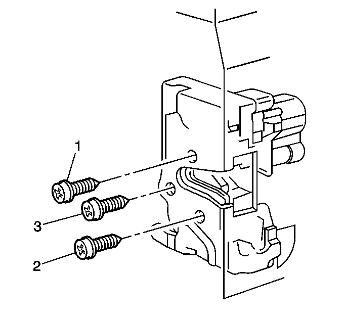
  6. Remove the screws (1, 3, 2) securing the lock to the door.
  7. Remove the door lock and cable/rod through the access hole in the door inner panel.
  8. Disconnect the electrical connector from the lock by pulling out the tab.
  9. Remove the door lock and cable from the lock.

Installation Procedure

  1. Install the door lock and cable to the lock.
  2. Connect the electrical connector to the lock by pushing in on the tab.
  3. Install the lock and cable/rod through the access hole in the inner door panel.

  4. Object Number: 315760  Size: SH
  5. Install the screws (1, 3, 2) securing the lock to the door.
  6. Notice: Use the correct fastener in the correct location. Replacement fasteners must be the correct part number for that application. Fasteners requiring replacement or fasteners requiring the use of thread locking compound or sealant are identified in the service procedure. Do not use paints, lubricants, or corrosion inhibitors on fasteners or fastener joint surfaces unless specified. These coatings affect fastener torque and joint clamping force and may damage the fastener. Use the correct tightening sequence and specifications when installing fasteners in order to avoid damage to parts and systems.

  7. Install the top screw first (1) then the bottom (2) and lastly the middle screw (3).
  8. Tighten
    Tighten the screws to 10 N·m (89 lb in).


    Object Number: 1350838  Size: SH
  9. Install the outside handle rod into the clip.
  10. Close the clip over the outside handle rod.
  11. Inspect the door for proper operation.
  12. Install the rear door water deflector. Refer to Rear Side Door Water Deflector Replacement .
  13. Install the rear door trim panel. Refer to Rear Side Door Trim Panel Replacement .