| Table 1: | Fuse Block - Underhood Usage |
| Table 2: | Fuse Block - Underhood C1 |
| Table 3: | Fuse Block - Underhood C2 |
| Table 4: | Fuse Block - Underhood C3 |
| Table 5: | Fuse Block - Underhood C4 |
| Table 6: | Body Control Module (BCM) Usage |
| Table 7: | Body Control Module (BCM) C1 |
| Table 8: | Body Control Module (BCM) C2 |
| Table 9: | Body Control Module (BCM) C3 |
| Table 10: | Body Control Module (BCM) C4 |
| Table 11: | Fuse Block - Rear Usage |
| Table 12: | Fuse Block - Rear C1 |
| Table 13: | Fuse Block - Rear C2 |
| Table 14: | Fuse Block - Rear C3 |
| Table 15: | Fuse Block - Rear C4 |
No. | Device | Rating | Description |
|---|---|---|---|
1 | A/C CLU | 10A | A/C CLUTCH Relay 34 |
2 | ETC | 15A | Throttle Actuator Control (TAC) Module |
3 | IGN 1 | 15A | Ignition Control Module (ICM), Park/Neutral Position (PNP) Switch |
4 | TRANS | 10A | 1-2 Shift Solenoid (1-2 SS) Valve, 2-3 Shift Solenoid (2-3 SS) Valve, Torque Convertor Clutch Pulse Width Modulation (TCC PWM) Solenoid Valve |
5 | INJ | 10A | Fuel Injectors |
6 | EMISSION 1 | 10A | Evaporative Emission (EVAP) Canister Purge Solenoid, Heated Oxygen (HO2S) Sensors, Mass Air Flow (MAF)/Intake Air Temperature (IAT) Sensor |
7 | LH LOW | 10A | Headlamp - Low Beam - Left |
8 | HORN | 15A | Horn Relay 37 |
9 | RH LOW | 10A | Headlamp - Low Beam - Right |
10 | FRT FOG LP | 15A | FRT FOG LP Relay 36 |
11 | LH HIGH | 10A | Headlamp - High Beam - Left |
12 | RH HIGH | 10A | Headlamp - High Beam - Right |
13 | PCM | 10A | Powertrain Control Module (PCM) |
14 | WIPER | 25A | Wiper 1 Relay 39 |
15 | ABS | 10A | Electronic Brake Control Module (EBCM) (JL9) |
16 | PCM IGN 1 | 10A | Powertrain Control Module (PCM) |
17 | C/FAN 1 | 30A | COOL FAN 1 Relay 28 |
18 | C/FAN 2 | 30A | COOL FAN 2 Relay 30 |
19 | RUN RLY | 30A | HVAC Blower High Relay 4, RUN Relay 3 |
20 | IBCM 1 | 30A | Body Control Module (BCM), AIR BAG (BATT) Fuse , CLUSTER/THEFT Fuse, HVAC CTRL (BATT) Fuse, IGN SENSOR Fuse, and RADIO Fuse |
21 | IBCM (R/C) | 30A | AIR BAG (IGN) Fuse, EPS Fuse, and RUN/CRANK Fuse |
22 | RBEC 1 | 60A | BACK UP LP Fuse 17, CIG/AUX Fuse 20, HTD ST Fuse 14, RKE/XM Fuse 16, SUN RF Fuse 10, and RR DEFOG Relay 26 |
23 | RBEC 2 | 60A | DRV ST Fuse 2, EMISSION 2 Fuse 5, FUEL Fuse 25, PARK LPS Fuse 6, and TRUNK Fuse 22 |
24 | ABS | 60A | Electronic Brake Control Module (EBCM) (JL9) |
25 | IBCM 2 | 50A | DOOR LOCK Fuse, INTERIOR LIGHTS Fuse, and ACCESSORY Relay |
26 | STARTER | 30A | Starter Relay 31 |
27 | WIPER Diode | -- | Wiper 1 Relay 39, Wiper 2 Relay 40 |
28 | COOL FAN 1 Relay | -- | Cooling Fan - Left |
29 | COOL SER/PAR Relay | -- | Cooling Fan - Left, Cooling Fan - Right |
30 | COOL FAN 2 Relay | -- | Cooling Fan - Right |
31 | STARTER Relay | -- | Starter Solenoid |
32 | RUN/CRANK Relay | -- | ABS Fuse 15, IBCM (R/C) Fuse 21, IGN 1 Fuse 3, INJ Fuse 5, PCM IGN 1 Fuse 16, TRANS Fuse 4 |
33 | POWERTRAIN Relay | -- | Emission 1 Fuse 6, and ETC Fuse 2 |
34 | A/C CLUTCH Relay | -- | A/C Compressor Clutch |
35 | HIGH BEAM Relay | -- | LH HIGH Fuse 11, RH HIGH Fuse 12 |
36 | FRT FOG Relay | -- | Fog Lamp - LF, Fog Lamp - RF |
37 | HORN Relay | -- | Horn Assembly |
38 | LOW BEAM Relay | -- | LH LOW Fuse 7, RH LOW Fuse 9 |
39 | WIPER 1 Relay | -- | Wiper 2 Relay 40 |
40 | WIPER 2 Relay | -- | Windshield Wiper Motor Assembly |
41 | EPS | 80A | Power Steering Control Module |
42 | DRL | 10A | Body Control Module (BCM) |
43 | DRL Relay | Daytime Running Lamps (DRL) | |
44 | STOP LP | 10A | STOP LP Relay 45 |
45 | STOP LP Relay | Center High Mounted Stop Lamp (CHMSL) |
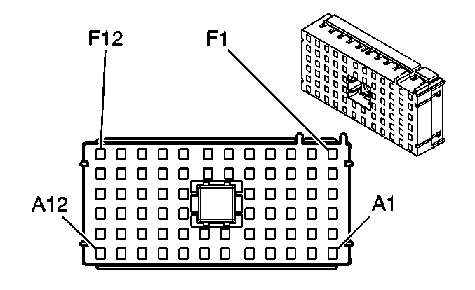
| |||||||
|---|---|---|---|---|---|---|---|
Connector Part Information |
| ||||||
Pin | Wire Color | Circuit No. | Function | ||||
A1 | -- | -- | Not Used | ||||
A2 | GY | 532 | Cooling Fan Motor Supply Voltage | ||||
A3 | BK | 450 | Ground | ||||
A4-A12 | -- | -- | Not Used | ||||
B1 | WH | 504 | Cooling Fan Low Reference | ||||
B2-B9 | -- | -- | Not Used | ||||
B10 | PK | 839 | Ignition 1 Voltage | ||||
B11 | PK/BK | 5291 | Ignition 1 Voltage | ||||
B12 | -- | -- | Not Used | ||||
C1-C5 | -- | -- | Not Used | ||||
C6-C7 | -- | -- | Not Available | ||||
C8 | -- | -- | Not Used | ||||
C9 | PK | 39 | Ignition 1 Voltage | ||||
C10 | -- | -- | Not Used | ||||
C11 | PK/BK | 5291 | Ignition 1 Voltage | ||||
C12 | -- | -- | Not Used | ||||
D1-D2 | -- | -- | Not Used | ||||
D3 | BN | 818 | Vehicle Speed Signal | ||||
D4 | PK/BK | 5290 | Ignition 1 Voltage | ||||
D5 | -- | -- | Not Used | ||||
D6-D7 | -- | -- | Not Available | ||||
D8 | PK | 239 | Ignition 1 Voltage | ||||
PK | 239 | Ignition 1 Voltage | |||||
D9 | -- | -- | Not Used | ||||
D10 | PU/WH | 1035 | Starter Relay Coil Supply Voltage | ||||
D11 | PK/BK | 5291 | Ignition 1 Voltage | ||||
PK/BK | 5291 | Ignition 1 Voltage | |||||
D12 | PU | 6 | Starter Solenoid Crank Voltage | ||||
E1-E2 | -- | -- | Not Used | ||||
E3 | L-BU | 409 | Cooling Fan Motor Supply Voltage | ||||
E4-E5 | -- | -- | Not Used | ||||
E6-E7 | -- | -- | Not Available | ||||
E8 | D-GN | 59 | A/C Compressor Clutch Supply Voltage | ||||
E9-E10 | -- | -- | Not Used | ||||
E11 | PK/BK | 5291 | Ignition 1 Voltage | ||||
PK/BK | 5291 | Ignition 1 Voltage | |||||
E12 | -- | -- | Not Used | ||||
F1-F12 | -- | -- | Not Used | ||||
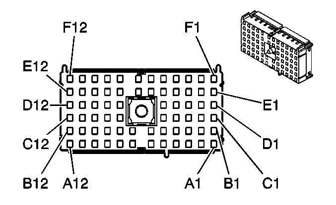
| |||||||
|---|---|---|---|---|---|---|---|
Connector Part Information |
| ||||||
Pin | Wire Color | Circuit No. | Function | ||||
A1 | -- | -- | Not Used | ||||
A2 | RD/WH | 540 | Battery Positive Voltage | ||||
A3 | YE | 5199 | Run/Crank Relay Coil Control | ||||
A4 | -- | -- | Not Used | ||||
A5 | YE | 61 | Low Reference | ||||
A6 | OG | 228 | Windshield Washer Pump Control | ||||
A7 | -- | -- | Not Used | ||||
A8 | PU | 5531 | Hood Closed Switch Signal (AP3) | ||||
A9-A10 | -- | -- | Not Used | ||||
A11 | D-BU | 473 | High Speed Cooling Fan Relay Control | ||||
A12 | -- | -- | Not Used | ||||
B1-B4 | -- | -- | Not Used | ||||
B5 | GY | 91 | Windshield Wiper Switch Signal 2 | ||||
B6 | D-GN | 113 | Windshield Wiper Switch Signal 2 | ||||
B7 | -- | -- | Not Used | ||||
B8 | BN | 818 | Vehicle Speed Signal | ||||
BN | 818 | Vehicle Speed Signal (C3Y) | |||||
B9 | TN | 28 | Horn Relay Control | ||||
B10 | D-GN | 335 | Low Speed Cooling Fan Relay Control | ||||
B11-B12 | -- | -- | Not Used | ||||
C1 | YE | 447 | Starter Relay Coil Control | ||||
C2 | -- | -- | Not Used | ||||
C3 | TN/WH | 1969 | Headlamp High Beam Relay Control | ||||
C4 | D-GN/WH | 636 | Ambient Air Temperature Sensor Signal | ||||
C5 | -- | -- | Not Used | ||||
C6-C7 | -- | -- | Not Available | ||||
C8-C9 | -- | -- | Not Used | ||||
C10 | BK | 350 | Ground | ||||
C11 | -- | -- | Not Used | ||||
C12 | BN | 9 | Park Lamp Supply Voltage | ||||
D1 | -- | -- | Not Used | ||||
D2 | WH | 17 | Stop Lamps Switch Signal | ||||
WH | 17 | Stop Lamps Switch Signal | |||||
D3-D4 | -- | -- | Not Used | ||||
D5 | TN/WH | 99 | Windshield Washer Fluid Level Signal | ||||
D6-D7 | -- | -- | Not Available | ||||
D8 | D-BU/WH | 1315 | Right Front Turn/DRL Supply Voltage | ||||
D9 | -- | -- | Not Used | ||||
D10 | PK/WH | 1970 | Headlamp Low Beam Relay Control | ||||
D11-D12 | -- | -- | Not Used | ||||
E1 | D-GN/WH | 459 | A/C Compressor Clutch Relay Control | ||||
E2 | L-BU | 20 | Stop Lamp Supply Voltage | ||||
E3-E5 | -- | -- | Not Used | ||||
E6 | PK | 139 | Ignition 1 Voltage (JL9) | ||||
E7-E12 | -- | -- | Not Used | ||||
F1 | PK/BK | 109 | Hood Ajar Switch Signal (AP3) | ||||
F2 | -- | -- | Not Used | ||||
F3 | BN | 5069 | Main Relay Coil Control | ||||
F4 | YE | 317 | Fog Lamp Relay Control | ||||
F5 | -- | -- | Not Used | ||||
F6 | PK | 639 | Ignition 1 Voltage | ||||
F7 | PU | 92 | Windshield Wiper Motor High Speed Control | ||||
F8 | D-GN | 95 | Windshield Wiper Motor Low Speed Control | ||||
F9-F10 | -- | -- | Not Used | ||||
F11 | L-BU/WH | 1314 | Left Front Turn/DRL Supply Voltage | ||||
F12 | L-GN/BK | 592 | DRL Relay Control | ||||
| |||||||
|---|---|---|---|---|---|---|---|
Connector Part Information |
| ||||||
Pin | Wire Color | Circuit No. | Function | ||||
A1-A2 | -- | -- | Not Used | ||||
A3 | TN/WH | 312 | Right Headlamp Low Beam Supply Voltage | ||||
A4 | PU | 2234 | Front Fog Lamp Supply Voltage | ||||
PU | 2234 | Front Fog Lamp Supply Voltage | |||||
A5 | PU | 5531 | Hood Closed Switch Signal (AP3) | ||||
A6 | -- | -- | Not Used | ||||
A7 | OG | 228 | Windshield Washer Pump Control | ||||
A8-A11 | -- | -- | Not Used | ||||
A12 | L-GN/BK | 311 | Right Headlamp High Beam Supply Voltage | ||||
B1 | BN | 9 | Park Lamp Supply Voltage | ||||
BN | 9 | Park Lamp Supply Voltage | |||||
B2 | PU | 359 | DRL Supply Voltage | ||||
B3-B6 | -- | -- | Not Used | ||||
B7 | TN/WH | 99 | Windshield Washer Fluid Level Signal | ||||
B8 | YE | 61 | Low Reference | ||||
B9 | D-GN/WH | 636 | Ambient Air Temperature Sensor Signal | ||||
B10 | PK/BK | 109 | Hood Ajar Switch Signal (AP3) | ||||
B11 | -- | -- | Not Used | ||||
B12 | D-GN/WH | 711 | Left Headlamp High Beam Supply Voltage | ||||
C1-C5 | -- | -- | Not Used | ||||
C6-C7 | -- | -- | Not Available | ||||
C8-C12 | -- | -- | Not Used | ||||
D1-D4 | -- | -- | Not Used | ||||
D5 | D-BU/WH | 1315 | Right Front Turn/DRL Supply Voltage | ||||
D6-D7 | -- | -- | Not Available | ||||
D8-D12 | -- | -- | Not Used | ||||
E1-E3 | -- | -- | Not Used | ||||
E4 | D-GN | 29 | Horn Control | ||||
E5-E12 | -- | -- | Not Used | ||||
F1-F2 | -- | -- | Not Used | ||||
F3 | PU | 359 | DRL Supply Voltage | ||||
YE | 712 | Left Headlamp Low Beam Supply Voltage | |||||
F4 | -- | -- | Not Used | ||||
F5 | L-BU | 1314 | Left Front Turn/DRL Supply Voltage | ||||
F6-F12 | -- | -- | Not Used | ||||
| |||||||
|---|---|---|---|---|---|---|---|
Connector Part Information |
| ||||||
Pin | Wire Color | Circuit No. | Function | ||||
A1 | -- | -- | Not Used | ||||
A2 | D-GN | 591 | Ignition 1 Voltage | ||||
A3 | RD/BK | 242 | Battery Positive Voltage | ||||
A4 | RD/BK | 442 | Battery Positive Voltage | ||||
A5-A6 | -- | -- | Not Used | ||||
B1 | -- | -- | Not Used | ||||
B2 | RD/BK | 342 | Battery Positive Voltage | ||||
B3 | RD/BK | 542 | Battery Positive Voltage (JL9) | ||||
RD/BK | 542 | Battery Positive Voltage (JL9) | |||||
B4 | RD/BK | 142 | Battery Positive Voltage | ||||
B5 | RD/BK | 42 | Battery Positive Voltage | ||||
B6 | -- | -- | Not Used | ||||
Device | Rating | Description |
|---|---|---|
AIR BAG (BATT) | 10A | Inflatable Restraint Sensing and Diagnostic Module (SDM) |
AIR BAG (IGN) | 10A | Inflatable Restraint Sensing and Diagnostic Module (SDM) |
CLUSTER/THEFT | 10A | Instrument Panel Cluster (IPC) and Theft Deterrent Control Module |
DOOR LOCK | 15A | Body Control Module (BCM) Logic |
EPS | 2A | Power Steering Control Module |
HVAC BLOWER | 20A | HVAC Control Module |
HVAC BLOWER HIGH Relay | -- | Blower Motor |
HVAC CTRL (BATT) | 10A | Data Link Connector (DLC) and HVAC Control Module |
HVAC CTRL (IGN) | 10A | HVAC Control Module |
IGN SENSOR | 2A | Ignition Switch |
INTERIOR LIGHTS | 10A | Body Control Module (BCM) Logic |
ONSTAR | 10A | Vehicle Communication Interface Module (VCIM) (UE1) |
PEDAL | 10A | Adjustable Pedals Module (JF4) and Adjustable Pedals Position Switch (JF4) |
POWER MIRRORS | 2A | Outside Rearview Mirror Switch |
POWER WINDOWS | 30A | Window Switch - Driver and Window Switch - Passenger |
RADIO | 10A | Radio |
ROOF/HEAT SEAT | 10A | Heated Seat Control Module - Driver (KA1), Heated Seat Control Module - Passenger (KA1), Heated Seat Switch - Driver (KA1), Heated Seat Switch - Passenger (KA1) and Sunroof Control Module (CF5)(C3Y) |
RUN/CRANK | 2A | A/T Shift Lock Control Assembly, Cruise Control On/Off Switch |
WIPER SW | 10A | Windshield Wiper/Washer Switch |
| |||||||
|---|---|---|---|---|---|---|---|
Connector Part Information |
| ||||||
Pin | Wire Color | Circuit No. | Function | ||||
1 | -- | -- | Not Used | ||||
2 | L-GN/BK | 592 | DRL Relay Control | ||||
3 | D-GN/WH | 636 | Ambient Air Temperature Sensor Signal | ||||
4 | TN | 305 | Trunk Key Switch Signal | ||||
5 | -- | -- | Not Used | ||||
6 | YE | 61 | Low Reference | ||||
7-11 | -- | -- | Not Used | ||||
12 | BK | 1050 | Ground | ||||
13 | TN | 28 | Horn Relay Control | ||||
14 | -- | -- | Not Used | ||||
15 | L-BU | 2182 | Reverse Lamp Relay Control | ||||
16 | L-BU | 1344 | Trunk Release Relay Control | ||||
17 | -- | -- | Not Used | ||||
18 | OG/BK | 744 | Rear Compartment Lid Ajar Switch Signal | ||||
19 | YE | 317 | Fog Lamp Relay Control | ||||
20-21 | -- | -- | Not Used | ||||
22 | D-GN | 113 | Windshield Wiper Switch Signal 2 | ||||
23 | -- | -- | Not Used | ||||
24 | WH | 17 | Stop Lamp Switch Signal | ||||
25 | -- | -- | Not Used | ||||
26 | YE | 196 | Windshield Wiper Motor Park Switch Signal | ||||
27-28 | -- | -- | Not Used | ||||
29 | TN/WH | 1969 | Headlamp High Beam Relay Control | ||||
30-32 | -- | -- | Not Used | ||||
33 | BN/WH | 1571 | Traction Control Switch Signal (NW7, NW9) | ||||
34 | -- | -- | Not Used | ||||
35 | L-GN | 262 | Driver Door Key Switch Signal | ||||
36 | -- | -- | Not Used | ||||
37 | D-GN | 5060 | Low Speed GMLAN Serial Data | ||||
38 | L-BU/WH | 1314 | Left DRL/Turn Supply Voltage | ||||
39 | -- | -- | Not Used | ||||
40 | D-GN/WH | 1135 | A/T Shift Lock Control Solenoid Supply Voltage | ||||
41 | -- | -- | Not Used | ||||
42 | WH | 17 | Stop Lamp Supply Voltage | ||||
43-46 | -- | -- | Not Used | ||||
47 | L-GN | 1478 | Coolant Level Switch Signal | ||||
48-50 | -- | -- | Not Used | ||||
51 | GY/BK | 745 | Left Front Door Ajar Switch Signal | ||||
52 | -- | -- | Not Used | ||||
53 | L-GN/BK | 748 | Right Rear Door Ajar Switch Signal | ||||
54 | L-BU/BK | 747 | Left Rear Door Ajar Switch Signal | ||||
55 | D-GN | 5060 | Low Speed GMLAN Serial Data | ||||
56 | D-BU/WH | 1315 | Right DRL/Turn Supply Voltage | ||||
57 | WH | 193 | Rear Defog Relay Control | ||||
58 | YE | 5199 | Run/Crank Relay Coil Control | ||||
59 | L-BU | 1134 | Park Brake Switch Signal | ||||
60 | PK | 849 | Brake Fluid Level Sensor Signal | ||||
61 | D-GN | 5525 | Tap Up/Tap Down Enable Signal (GT) | ||||
62 | TN/WH | 99 | Windshield Washer Fluid Level Signal | ||||
63-64 | -- | -- | Not Used | ||||
65 | WH | 1080 | Park Lamp Relay Control | ||||
66 | WH | 682 | Door Lock Lock/Unlock Signal | ||||
67 | WH | 682 | Door Lock Lock/Unlock Signal | ||||
68 | -- | -- | Not Used | ||||
69 | PK/BK | 109 | Hood Ajar Switch Signal (AP3) | ||||
70 | PU | 5531 | Hood Ajar Switch Signal (AP3) | ||||
71 | BN/WH | 2091 | Trunk Release Switch Supply Voltage | ||||
72 | TN/WH | 746 | Right Front Door Ajar Switch Signal | ||||
| |||||||
|---|---|---|---|---|---|---|---|
Connector Part Information |
| ||||||
Pin | Wire Color | Circuit No. | Function | ||||
1 | TN/BK | 2500 | High Speed GMLAN Serial Data Bus + | ||||
2 | TN/BK | 2500 | High Speed GMLAN Serial Data Bus + | ||||
3 | PK/WH | 1970 | Headlamp Low Beam Relay Control | ||||
4 | PU | 524 | Headlamp Dimmer Switch High Beam Signal | ||||
5 | BN/WH | 301 | Park Lamp Switch Signal | ||||
6-8 | -- | -- | Not Used | ||||
9 | WH | 111 | Hazard Switch Signal | ||||
10 | -- | -- | Not Used | ||||
11 | D-GN | 264 | Security Indicator Signal | ||||
12 | L-GN | 377 | Serial Data | ||||
13 | BK/WH | 651 | Ground | ||||
14 | TN | 28 | Horn Relay Control | ||||
15 | WH | 103 | Headlamp Switch Headlamps on Signal | ||||
16 | OG | 192 | Front Fog Lamp Switch Signal | ||||
17 | PU/WH | 549 | Headlamp Switch Headlamps Off Signal | ||||
18 | WH | 5359 | 5-Volt Reference | ||||
19 | TN | 2501 | High Speed GMLAN Serial Data Bus - | ||||
20 | TN | 2501 | High Speed GMLAN Serial Data Bus - | ||||
21-25 | -- | -- | Not Used | ||||
26 | D-GN | 44 | Instrument Panel Lamps Dimmer Switch Signal | ||||
27-28 | -- | -- | Not Used | ||||
29 | L-GN | 5980 | Adjustable Pedals Inhibit Signal (JF4) | ||||
30 | -- | -- | Not Used | ||||
31 | YE | 5361 | Brake Pedal Position Sensor Signal | ||||
32 | -- | -- | Not Used | ||||
33 | YE | 317 | Fog Lamp Relay Control | ||||
34-36 | -- | -- | Not Used | ||||
37 | D-GN | 5060 | Low Speed GMLAN Serial Data | ||||
38 | D-GN | 5060 | Low Speed GMLAN Serial Data | ||||
39-43 | -- | -- | Not Used | ||||
44 | L-GN/BK | 1137 | DRL Ambient Light Sensor Signal | ||||
45-46 | -- | -- | Not Used | ||||
47 | YE/BK | 1138 | DRL Ambient Light Sensor Low Reference | ||||
48-50 | -- | -- | Not Used | ||||
51 | BN | 1356 | Flash To Pass Switch Signal | ||||
52-54 | -- | -- | Not Used | ||||
55 | D-GN | 5060 | Low Speed GMLAN Serial Data | ||||
56 | WH | 1390 | Off/Run/Crank Voltage | ||||
57 | GY | 112 | Windshield Wiper Switch Signal 1 | ||||
58 | PU | 719 | Low Reference | ||||
59 | BN | 5360 | Low Reference | ||||
60 | -- | -- | Not Used | ||||
61 | GY | 1884 | Cruise Control Switch Signal (K34) | ||||
62 | WH/BK | 1073 | Ignition Key Resistor Signal | ||||
63-65 | -- | -- | Not Used | ||||
66 | YE/BK | 1418 | Left Turn Signal Switch Signal | ||||
67 | D-GN/WH | 1419 | Right Turn Signal Switch Signal | ||||
68 | L-BU | 292 | Rear Defog Switch Signal | ||||
69 | D-GN/WH | 762 | A/C Request Signal | ||||
70-71 | -- | -- | Not Used | ||||
72 | TN | 683 | Rear Defog Indicator Supply Voltage | ||||
| |||||||
|---|---|---|---|---|---|---|---|
Connector Part Information |
| ||||||
Pin | Wire Color | Circuit No. | Function | ||||
A1 | TN | 294 | Door Lock Actuator Unlock Control | ||||
A2 | TN | 294 | Door Lock Actuator Unlock Control | ||||
TN | 294 | Door Lock Actuator Unlock Control | |||||
A3 | OG | 1732 | Courtesy Lamps Supply Voltage | ||||
A4 | GY | 295 | Door Lock Actuator Lock Control | ||||
GY | 295 | Door Lock Actuator Lock Control | |||||
A5 | GY/BK | 295 | Door Lock Actuator Lock Control | ||||
GY/BK | 295 | Door Lock Actuator Lock Control | |||||
A6 | PK | 1139 | Ignition 1 Voltage | ||||
A7 | BN | 9 | Park Lamp Supply Voltage | ||||
A8 | PK | 339 | Ignition 1 Voltage (GT) | ||||
A9 | YE | 18 | Left Rear Stop/Turn Lamp Supply Voltage | ||||
A10 | GY | 157 | Courtesy Lamp Control | ||||
A11 | D-BU | 1307 | Power Window Master Switch Lockout Control | ||||
A12 | D-GN | 19 | Right Rear Stop/Turn Lamp Supply Voltage | ||||
B1 | TN | 694 | Driver Door Lock Actuator Unlock Control | ||||
B2-B4 | -- | -- | Not Used | ||||
B5 | BN | 4 | Accessory Voltage | ||||
B6-B7 | -- | -- | Not Available | ||||
B8-B10 | -- | -- | Not Used | ||||
B11 | D-BU | 1307 | Power Window Master Switch Lockout Control | ||||
B12 | GY | 8 | Instrument Panel Lamp Supply Voltage | ||||
C1-C2 | -- | -- | Not Available | ||||
C3 | YE | 243 | Accessory Voltage (KA1) | ||||
YE | 243 | Accessory Voltage (KA1) | |||||
C4 | -- | -- | Not Used | ||||
C5 | YE | 343 | Accessory Voltage | ||||
C6-C7 | -- | -- | Not Available | ||||
C8 | -- | -- | Not Used | ||||
C9 | L-GN | 377 | Serial Data | ||||
C10 | -- | -- | Not Used | ||||
C11 | D-BU | 1307 | Power Window Master Switch Lockout Control | ||||
C12 | OG | 228 | Windshield Washer Pump Control | ||||
D1 | RD/BK | 342 | Battery Positive Voltage | ||||
D2 | -- | -- | Not Available | ||||
D3 | YE | 243 | Accessory Voltage | ||||
D4 | RD/WH | 640 | Battery Positive Voltage | ||||
D5 | YE | 343 | Accessory Voltage | ||||
D6 | D-GN | 591 | Ignition 1 Voltage | ||||
D7-D9 | -- | -- | Not Used | ||||
D10 | RD/BK | 442 | Battery Positive Voltage | ||||
D11 | RD/WH | 1340 | Battery Positive Voltage | ||||
D12 | RD/BK | 242 | Battery Positive Voltage | ||||
| |||||||
|---|---|---|---|---|---|---|---|
Connector Part Information |
| ||||||
Pin | Wire Color | Circuit No. | Function | ||||
A1-A12 | -- | -- | Not Used | ||||
B1 | OG | 228 | Windshield Washer Pump Control | ||||
B2 | GY | 8 | Instrument Panel Lamp Supply Voltage | ||||
B3 | BN | 41 | Ignition 3 Voltage | ||||
B4-B5 | -- | -- | Not Used | ||||
B6 | BN | 141 | Ignition 3 Voltage | ||||
B7-B12 | -- | -- | Not Used | ||||
C1 | RD/WH | 340 | Battery Positive Voltage | ||||
C2 | GY | 8 | Instrument Panel Lamp Supply Voltage | ||||
C3 | L-GN | 377 | Serial Data | ||||
C4 | OG | 52 | Blower Motor High Control | ||||
C5 | BN | 9 | Park Lamp Supply Voltage | ||||
C6-C7 | -- | -- | Not Available | ||||
C8 | BN | 4 | Accessory Voltage | ||||
BN | 4 | Accessory Voltage | |||||
C9-C12 | -- | -- | Not Used | ||||
D1 | RD/WH | 1040 | Battery Positive Voltage | ||||
D2 | -- | -- | Not Used | ||||
D3 | PK | 3 | Ignition 1 Voltage | ||||
PK | 3 | Ignition 1 Voltage | |||||
D4 | PU | 65 | Blower Motor Supply Voltage | ||||
D5 | -- | -- | Not Used | ||||
D6-D7 | -- | -- | Not Available | ||||
D8 | YE | 143 | Accessory Voltage | ||||
D9 | -- | -- | Not Used | ||||
D10 | RD/WH | 740 | Battery Positive Voltage (JF4) | ||||
RD/WH | 740 | Battery Positive Voltage (JF4) | |||||
D11-D12 | -- | -- | Not Used | ||||
E1 | RD/WH | 440 | Battery Positive Voltage | ||||
RD/WH | 440 | Battery Positive Voltage | |||||
E2 | -- | -- | Not Used | ||||
E3 | D-BU | 101 | Blower Motor Supply Voltage | ||||
E4-E9 | -- | -- | Not Used | ||||
E10 | RD/WH | 840 | Battery Positive Voltage (UE1) | ||||
E11 | -- | -- | Not Used | ||||
E12 | BK | 650 | Ground | ||||
F1 | RD/WH | 1440 | Battery Positive Voltage | ||||
RD/WH | 1440 | Battery Positive Voltage | |||||
F2 | GY | 8 | Instrument Panel Lamp Supply Voltage | ||||
GY | 8 | Instrument Panel Lamp Supply Voltage (JF4) | |||||
F3 | GY | 8 | Instrument Panel Lamp Supply Voltage | ||||
GY | 8 | Instrument Panel Lamp Supply Voltage | |||||
F4-F5 | -- | -- | Not Used | ||||
F6 | PK | 339 | Ignition 1 Voltage | ||||
F7-F8 | -- | -- | Not Used | ||||
F9 | PK | 1039 | Ignition 1 Voltage | ||||
F10-F12 | -- | -- | Not Used | ||||
No. | Device | Rating | Description |
|---|---|---|---|
1 | -- | -- | Not Used |
2 | DRV ST | 30A | Seat Adjuster Switch - Driver |
3 | -- | -- | Not Used |
4 | -- | -- | Not Used |
5 | EMISSION 2 | 10A | Evaporative Emission (EVAP) Canister Vent Solenoid Valve |
6 | PARK LPS | 10A | PARK LPS Relay 27 |
7-9 | -- | -- | Not Used |
10 | SUN RF | 15A | Sunroof Control Module (CF5) (C3Y) |
11-12 | -- | -- | Not Used |
13 | AUDIO AMP | 15A | Audio Amplifier (U85) |
14 | HTD ST | 15A | Heated Seat Control Module - Driver (KA1) and Heated Seat Control Module - Passenger (KA1) |
15 | -- | -- | Not Used |
16 | RKE/XM/DVD/UGD | 7.5A | Digital Radio Receiver (U2K) and Remote Control Door Lock Receiver (RCDLR) |
17 | BACK UP LP | 10A | BACK UP LP Relay 33 |
18-19 | -- | -- | Not Used |
20 | CIG/AUX | 20A | Auxiliary Power Outlet and Cigar Lighter |
21 | -- | -- | Not Used |
22 | TRUNK | 10A | TRUNK Relay 36 |
23 | RR DEFOG | 30A | Rear Window Defogger Grid |
24 | -- | -- | Not Used |
25 | FUEL | 15A | FUEL Relay 37 |
26 | RR DEFOG Relay | -- | RR DEFOG Fuse 23 |
27 | PARK LPS Relay | -- | Backup Lamp - Left, Backup Lamp - Right, Body Control Module (BCM), HVAC Control Module, License Lamp - Left, License Lamp - Right, Park/Turn Signal Lamp - LF, Park/Turn Signal Lamp - RF, Tail Lamp - Left, Tail Lamp - Right, Tail/Stop and Turn Signal Lamp - Left, Tail/Stop and Turn Signal Lamp - Right |
28-32 | -- | -- | Not Used |
33 | BACK UP LP Relay | -- | Backup Lamp - Left, Backup Lamp - Right, and Inside Rearview Mirror (DD8) |
34-35 | -- | -- | Not Used |
36 | TRUNK Relay | -- | Rear Compartment Lid Latch |
37 | FUEL Relay | -- | Fuel Pump |
38 | CARGO LP Diode | -- | Rear Compartment Lid Latch |
| |||||||
|---|---|---|---|---|---|---|---|
Connector Part Information |
| ||||||
Pin | Wire Color | Circuit No. | Function | ||||
A1-A3 | -- | -- | Not Used | ||||
A4 | RD/BK | 142 | Battery Positive Voltage | ||||
A5 | -- | -- | Not Available | ||||
A6 | RD/BK | 1242 | Battery Positive Voltage (AG1/ASN) | ||||
A7 | GY | 8 | Instrument Panel Lamp Supply Voltage | ||||
GY | 8 | Instrument Panel Lamp Supply Voltage (NW7/NW9) | |||||
A8 | -- | -- | Not Used | ||||
A9 | D-GN/WH | 465 | Fuel Pump Relay Control | ||||
A10 | GY | 120 | Fuel Pump Supply Voltage | ||||
A11-A12 | -- | -- | Not Used | ||||
B1-B2 | -- | -- | Not Used | ||||
B3 | RD/WH | 1540 | Battery Positive Voltage | ||||
B4-B5 | -- | -- | Not Available | ||||
B6 | -- | -- | Not Used | ||||
B7 | BN/WH | 2517 | Keypad Red LED Signal (UE1) | ||||
B8 | WH | 193 | Rear Defog Relay Control | ||||
B9 | GY | 8 | Instrument Panel Lamp Supply Voltage | ||||
B10-B12 | -- | -- | Not Used | ||||
C1 | -- | -- | Not Used | ||||
C2 | BN | 818 | Vehicle Speed Signal (C3Y) | ||||
C3 | -- | -- | Not Used | ||||
C4 | WH | 1080 | Park Lamp Relay Control | ||||
C5 | GY | 157 | Courtesy Lamp Control | ||||
C6-C7 | -- | -- | Not Available | ||||
C8 | -- | -- | Not Used | ||||
C9 | OG | 1732 | Courtesy Lamps Supply Voltage | ||||
OG | 1732 | Courtesy Lamps Supply Voltage | |||||
C10-C11 | -- | -- | Not Used | ||||
C12 | PU | 293 | Rear Defog Element Supply Voltage | ||||
D1 | BN | 9 | Park Lamp Supply Voltage | ||||
BN | 9 | Park Lamp Supply Voltage | |||||
D2 | -- | -- | Not Used | ||||
D3 | BK | 1050 | Ground (UE1) | ||||
D4 | BK | 1350 | Ground (GT) | ||||
D5 | YE/BK | 2516 | Keypad Green LED Signal (UE1) | ||||
D6-D7 | -- | -- | Not Available | ||||
D8-D9 | -- | -- | Not Used | ||||
D10 | GY | 8 | Instrument Panel Lamp Supply Voltage (KA1) | ||||
GY | 8 | Instrument Panel Lamp Supply Voltage (KA1) | |||||
D11-D12 | -- | -- | Not Used | ||||
E1-E3 | -- | -- | Not Used | ||||
E4 | BK | 1350 | Ground (GT) | ||||
E5 | L-GN/BK | 2515 | Keypad Supply Voltage (UE1) | ||||
E6 | -- | -- | Not Used | ||||
E7 | RD/WH | 1140 | Battery Positive Voltage (KA1) | ||||
RD/WH | 1140 | Battery Positive Voltage (KA1) | |||||
E8-E9 | -- | -- | Not Available | ||||
E10 | L-BU | 1344 | Trunk Release Relay Control | ||||
E11 | GY | 8 | Instrument Panel Lamp Supply Voltage | ||||
GY | 8 | Instrument Panel Lamp Supply Voltage | |||||
E12 | -- | -- | Not Used | ||||
F1 | -- | -- | Not Used | ||||
F2 | YE | 243 | Accessory Voltage | ||||
F3-F5 | -- | -- | Not Used | ||||
F6 | D-GN/WH | 2514 | Keypad Signal (UE1) | ||||
F7 | RD/WH | 1840 | Battery Positive Voltage (U85) | ||||
F8 | -- | -- | Not Available | ||||
F9 | RD/BK | 42 | Battery Positive Voltage | ||||
F10 | TN/WH | 56 | Rear Compartment Lid Release Switch Supply Voltage | ||||
F11 | GY | 8 | Instrument Panel Lamp Supply Voltage | ||||
GY | 8 | Instrument Panel Lamp Supply Voltage | |||||
F12 | -- | -- | Not Used | ||||
| |||||||
|---|---|---|---|---|---|---|---|
Connector Part Information |
| ||||||
Pin | Wire Color | Circuit No. | Function | ||||
A1 | -- | -- | Not Used | ||||
A2 | BN | 9 | Park Lamp Supply Voltage | ||||
A3- A12 | -- | -- | Not Used | ||||
B1 | BN | 9 | Park Lamp Supply Voltage | ||||
BN | 9 | Park Lamp Supply Voltage | |||||
B2 | -- | -- | Not Used | ||||
B3 | L-GN | 24 | Backup Lamp Supply Voltage | ||||
L-GN | 24 | Backup Lamp Supply Voltage | |||||
B4-B5 | -- | -- | Not Used | ||||
B6-B7 | -- | -- | Not Available | ||||
B8-B12 | -- | -- | Not Used | ||||
C1-C2 | -- | -- | Not Available | ||||
C3-C5 | -- | -- | Not Used | ||||
C6-C7 | -- | -- | Not Available | ||||
C8-C9 | -- | -- | Not Used | ||||
C9 | D-GN | 19 | Right Rear Stop/Turn Lamp Supply Voltage | ||||
C10 | -- | -- | Not Used | ||||
C11 | YE | 18 | Left Rear Stop/Turn Lamp Supply Voltage | ||||
C12 | -- | -- | Not Used | ||||
D1-D12 | -- | -- | Not Used | ||||
| |||||||
|---|---|---|---|---|---|---|---|
Connector Part Information |
| ||||||
Pin | Wire Color | Circuit No. | Function | ||||
A1 | BN | 818 | Vehicle Speed Signal (C3Y) | ||||
A2 | YE | 243 | Accessory Voltage (CF5/C3Y) | ||||
A3-A4 | -- | -- | Not Used | ||||
A5 | RD/WH | 1640 | Battery Positive Voltage (CF5) | ||||
A6 | -- | -- | Not Used | ||||
B1 | -- | -- | Not Used | ||||
B2 | BK | 1050 | Ground (UE1) | ||||
B3 | BK | 1350 | Ground (C3Y) | ||||
B4 | -- | -- | Not Used | ||||
B5 | RD/WH | 1940 | Battery Positive Voltage (C3Y) | ||||
B6 | -- | -- | Not Used | ||||
C1-C2 | -- | -- | Not Used | ||||
C3-C4 | -- | -- | Not Available | ||||
C5 | GY | 2516 | Keypad Green LED Signal (UE1) | ||||
C6 | GY | 157 | Courtesy Lamp Control | ||||
GY | 157 | Courtesy Lamp Control (C3Y) | |||||
D1 | -- | -- | Not Used | ||||
D2 | BK/WH | 2515 | Keypad Supply Voltage (UE1) | ||||
D3-D4 | -- | -- | Not Available | ||||
D5 | BN/WH | 2517 | Keypad Red LED Signal (UE1) | ||||
D6 | -- | -- | Not Used | ||||
E1 | -- | -- | Not Used | ||||
E2 | D-BU | 2514 | Keypad Signal (UE1) | ||||
E3 | -- | -- | Not Used | ||||
E4 | BK | 1350 | Ground | ||||
BK | 1350 | Ground (DH6) | |||||
E5 | OG | 1732 | Courtesy Lamps Supply Voltage | ||||
OG | 1732 | Courtesy Lamps Supply Voltage (DK6) | |||||
E6 | OG | 1732 | Courtesy Lamps Supply Voltage (DH6) | ||||
OG | 1732 | Courtesy Lamps Supply Voltage (DH6) | |||||
F1-F2 | -- | -- | Not Used | ||||
F3 | BK | 1350 | Ground (w/o C3Y) | ||||
BK | 1350 | Ground (DK6) | |||||
F4 | BK | 1350 | Ground (CF5) | ||||
F5-F6 | -- | -- | Not Used | ||||
| |||||||
|---|---|---|---|---|---|---|---|
Connector Part Information |
| ||||||
Pin | Wire Color | Circuit No. | Function | ||||
A1-A3 | -- | -- | Not Used | ||||
A4 | OG/BK | 744 | Rear Compartment Lid Ajar Switch Signal | ||||
OG/BK | 744 | Rear Compartment Lid Ajar Switch Signal | |||||
A5 | OG/BK | 737 | Rear Compartment Lamp Control | ||||
A6 | -- | -- | Not Used | ||||
B1 | -- | -- | Not Used | ||||
B2 | YE | 18 | Left Rear Stop/Turn Lamp Supply Voltage | ||||
B3 | -- | -- | Not Used | ||||
B4 | D-GN | 19 | Right Rear Stop/Turn Lamp Supply Voltage | ||||
B5-B6 | -- | -- | Not Used | ||||
C1-C2 | -- | -- | Not Used | ||||
C3-C4 | -- | -- | Not Available | ||||
C5-C6 | -- | -- | Not Used | ||||
D1 | RD/WH | 40 | Battery Positive Voltage | ||||
D2 | -- | -- | Not Used | ||||
D3-D4 | -- | -- | Not Available | ||||
D5-D6 | -- | -- | Not Used | ||||
E1-E5 | -- | -- | Not Used | ||||
E6 | RD/WH | 1240 | Battery Positive Voltage | ||||
RD/WH | 1240 | Battery Positive Voltage (U2K) | |||||
F1 | -- | -- | Not Used | ||||
F2 | BK | 1350 | Ground | ||||
F3 | -- | -- | Not Used | ||||
F4 | L-BU | 2182 | Reverse Lamp Relay Control | ||||
F5-F6 | -- | -- | Not Used | ||||