GM Service Manual Online
For 1990-2009 cars only
Table 1: C101 LF Wheel Speed Sensor Harness to Body Harness (JL9)
Table 2: C102 RF Wheel Speed Sensor Harness to Body Harness (JL9)
Table 3: C108 Engine Harness to Body Harness
Table 4: C109 Forward Lamp Harness to Left Headlamp Harness
Table 5: C110 Forward Lamp Harness to Right Headlamp Harness
Table 6: C130 Engine Harness to Fuel Injector Harness
Table 7: C206 I/P Harness to Body Harness
Table 8: C207 I/P Harness to Body Harness
Table 9: C208 I/P Harness to Body Harness
Table 10: C214 Body Harness to Console Harness
Table 11: C216 Passenger Inflatable Restraint Harness to Body Harness
Table 12: C300 Body Harness to Drivers Seat Harness
Table 13: C301 Inflatable Restraint Side Impact Module Harness to Right Inflatable Restraint Side Impact Module Jumper Harness (AY0)
Table 14: C302 Inflatable Restraint Side Impact Module Harness to Left Inflatable Restraint Side Impact Module Jumper Harness (AY0)
Table 15: C304 Body Harness to LF Pretensioner Harness
Table 16: C305 Body Harness to RF Pretensioner Harness
Table 17: C308 Body Harness to Left Seat Inflatable Restraint Side Impact Module Jumper Harness (AY0)
Table 18: C309 Body Harness to Right Seat Inflatable Restraint Side Impact Module Jumper Harness (AY0)
Table 19: C310 Body Harness to Passenger Seat Harness (KA1)
Table 20: C319 Body Harness to Left Roof Rail Module Harness (AY0)
Table 21: C320 Body Harness to Right Roof Rail Module Harness (AY0)
Table 22: C351 Headliner Harness to Body Harness (UE1)
Table 23: C401 Rear Lamp Harness to Left Tail Lamp Harness
Table 24: C402 Rear Lamp Harness to Right Tail Lamp Harness
Table 25: C403 Body Harness to Rear Wheel Speed Sensor Harness (JL9)
Table 26: C413 Fuel Sender Harness to Body Harness
Table 27: C415 Headliner Harness to Sunroof Harness (C3Y)
Table 28: C500 Body Harness to Left Front Door Harness
Table 29: C501 Left Front Door Harness to Left Front Door Trim Pad Harness
Table 30: C600 Body Harness to Right Front Door Harness
Table 31: C601 Right Front Door Harness to Right Front Door Trim Pad Harness
Table 32: C700 Body Harness to Left Rear Door Harness
Table 33: C800 Body Harness to Right Rear Door Harness

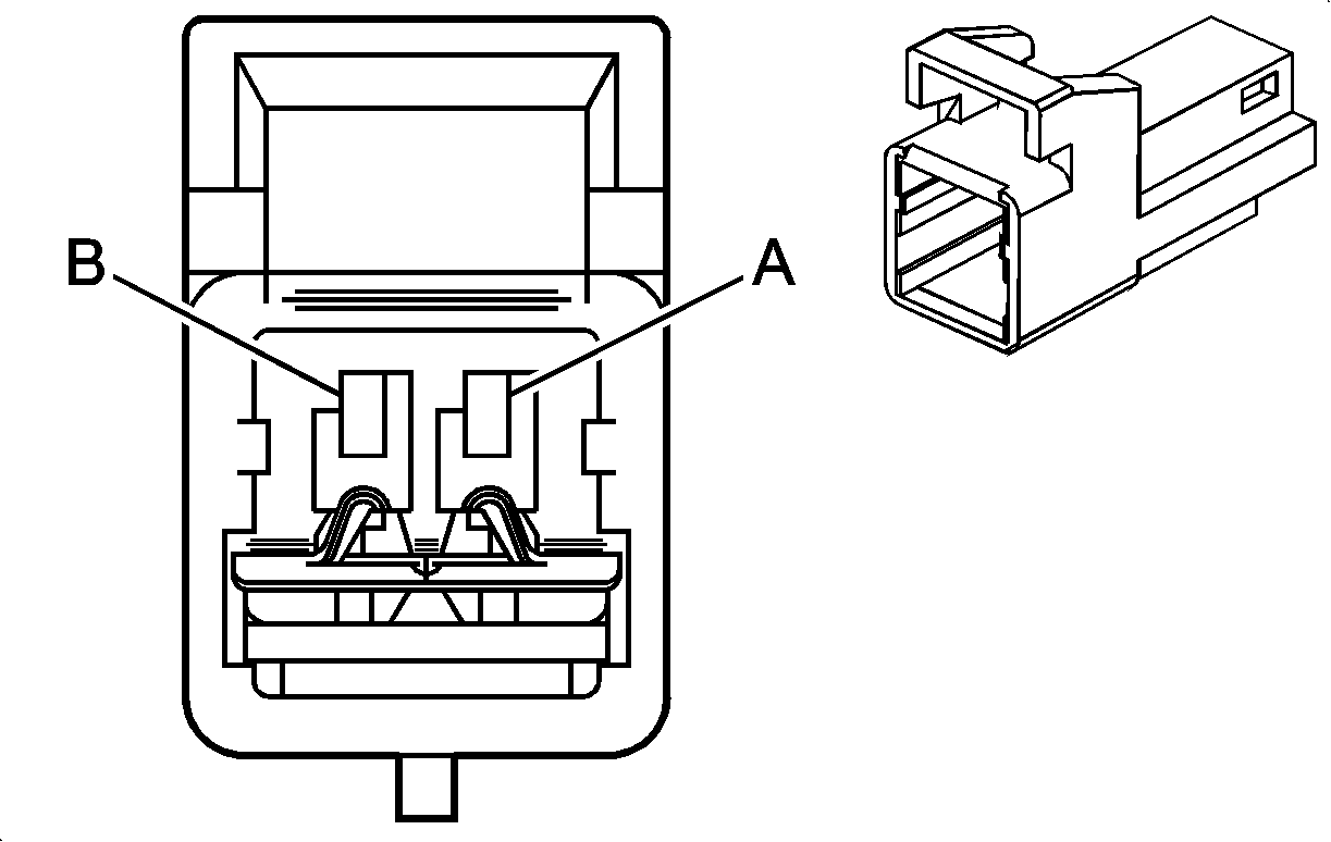
C101 LF Wheel Speed Sensor Harness to Body Harness (JL9)


Object Number: 523630  Size: CH

Object Number: 632349  Size: CH

Connector Part Information

    • 15326801
    • 2-Way F Global Terminal 150 Series Sealed (BK)

Connector Part Information

    • 15326806
    • 2-Way M Global Terminal 150 Series Sealed (BK)

Pin

Wire Color

Circuit No.

Function

Pin

Wire Color

Circuit No.

Function

A

L-BU

830

Left Front Wheel Speed Sensor Supply Voltage

A

L-BU

830

Left Front Wheel Speed Sensor Supply Voltage

B

YE

873

Left Front Wheel Speed Sensor Signal

B

YE

873

Left Front Wheel Speed Sensor Signal

C102 RF Wheel Speed Sensor Harness to Body Harness (JL9)


Object Number: 523630  Size: CH

Object Number: 632349  Size: CH

Connector Part Information

    • 15326801
    • 2-Way F Global Terminal 150 Series Sealed (BK)

Connector Part Information

    • 15326806
    • 2-Way M Global Terminal 150 Series Sealed (BK)

Pin

Wire Color

Circuit No.

Function

Pin

Wire Color

Circuit No.

Function

A

L-BU

872

Right Front Wheel Speed Sensor Supply Voltage

A

D-GN

872

Right Front Wheel Speed Sensor Supply Voltage

B

YE

833

Right Front Wheel Speed Sensor Signal

B

TN

833

Right Front Wheel Speed Sensor Signal

C108 Engine Harness to Body Harness


Object Number: 646400  Size: CH

Object Number: 684916  Size: CH

Connector Part Information

    • 15326835
    • 8-Way F Global Terminal 150 Series Sealed (BK)

Connector Part Information

    • 15326840
    • 8-Way M Global Terminal 150 Series Sealed (BK)

Pin

Wire Color

Circuit No.

Function

Pin

Wire Color

Circuit No.

Function

A

WH

17

Stop Lamp Switch Signal

A

WH

17

Stop Lamp Switch Signal

B

--

--

Not Used

B

--

--

Not Used

C

BN

1271

Low Reference

C

BN

1271

Low Reference

D

WH/BK

1164

5-Volt Reference

D

WH/BK

1164

5-Volt Reference

E

D-BU

1161

APP Sensor 1 Signal

E

D-BU

1161

APP Sensor 1 Signal

F

PU

1272

Low Reference

F

PU

1272

Low Reference

G

TN

1274

5-Volt Reference

G

TN

1274

5-Volt Reference

H

L-BU

1162

APP Sensor 2 Signal

H

L-BU

1162

APP Sensor 2 Signal

C109 Forward Lamp Harness to Left Headlamp Harness


Object Number: 646169  Size: CH

Object Number: 684802  Size: CH

Connector Part Information

    • 12146045
    • 5-Way F Metri-Pack 150 Series Sealed (WH)

Connector Part Information

    • 12103974
    • 5-Way M Metri-Pack 150 Series Sealed (WH)

Pin

Wire Color

Circuit No.

Function

Pin

Wire Color

Circuit No.

Function

A

BK

150

Ground

A

BK

150

Ground

B

YE

712

Left Headlamp Low Beam Supply Voltage

B

YE

712

Left Headlamp Low Beam Supply Voltage

C

D-GN/WH

711

Left Headlamp High Beam Supply Voltage

C

L-GN

711

Left Headlamp High Beam Supply Voltage

D

L-BU/WH

1314

Left DRL/Turn Supply Voltage

D

PU

1314

Left DRL/Turn Supply Voltage

E

BN

9

Park Lamp Supply Voltage

E

BN

9

Park Lamp Supply Voltage

C110 Forward Lamp Harness to Right Headlamp Harness


Object Number: 646169  Size: CH

Object Number: 684802  Size: CH

Connector Part Information

    • 12146045
    • 5-Way F Metri-Pack 150 Series Sealed (WH)

Connector Part Information

    • 12103974
    • 5-Way M Metri-Pack 150 Series Sealed (WH)

Pin

Wire Color

Circuit No.

Function

Pin

Wire Color

Circuit No.

Function

A

BK

250

Ground

A

BK

250

Ground

B

TN/WH

312

Right Headlamp Low Beam Supply Voltage

B

TN/WH

312

Right Headlamp Low Beam Supply Voltage

C

L-GN/BK

311

Right Headlamp High Beam Supply Voltage

C

L-GN

311

Right Headlamp High Beam Supply Voltage

D

D-BU/WH

1315

Right DRL/Turn Supply Voltage

D

PU

1315

Right DRL/Turn Supply Voltage

E

BN

9

Park Lamp Supply Voltage

E

BN

9

Park Lamp Supply Voltage

C130 Engine Harness to Fuel Injector Harness


Object Number: 655811  Size: CH

Object Number: 655813  Size: CH

Connector Part Information

    • 15326084
    • 16-Way F Global Terminal 150, 280 Series Sealed (BK)

Connector Part Information

    • 15326085
    • 16-Way M Global Terminal 150, 280 Series Sealed (BK)

Pin

Wire Color

Circuit No.

Function

Pin

Wire Color

Circuit No.

Function

A

PK

839

Ignition 1 Voltage

A

PK

639

Ignition 1 Voltage

B

YE

410

ECT Sensor Signal

B

YE

410

ECT Sensor Signal

C

TN

1744

Fuel Injector 1 Control

C

BK

1744

Fuel Injector 1 Control

D

L-GN/BK

1745

Fuel Injector 2 Control

D

L-GN/BK

1745

Fuel Injector 2 Control

E

PK/BK

1746

Fuel Injector 3 Control

E

PK/BK

1746

Fuel Injector 3 Control

F

L-BU/BK

844

Fuel Injector 4 Control

F

L-BU/BK

844

Fuel Injector 4 Control

G

TN/WH

845

Fuel Injector 5 Control

G

BK/WH

845

Fuel Injector 5 Control

H

YE/BK

846

Fuel Injector 6 Control

H

YE/BK

846

Fuel Injector 6 Control

J

--

--

Not Used

J

--

--

Not Used

K

GY

2704

5-Volt Reference

K

GY

2704

5-Volt Reference

L

OG/BK

469

Low Reference

L

OG/BK

469

Low Reference

M

L-GN

432

MAP Sensor Signal

M

L-GN

432

MAP Sensor Signal

N

OG

631

12-Volt Reference

N

RD/WH

812

12-Volt Reference

P

PK/BK

632

Low Reference

P

BK

407

Low Reference

R

BN/WH

633

CMP Sensor Signal

R

BN/WH

633

CMP Sensor Signal

S

--

--

Not Used

S

--

--

Not Used

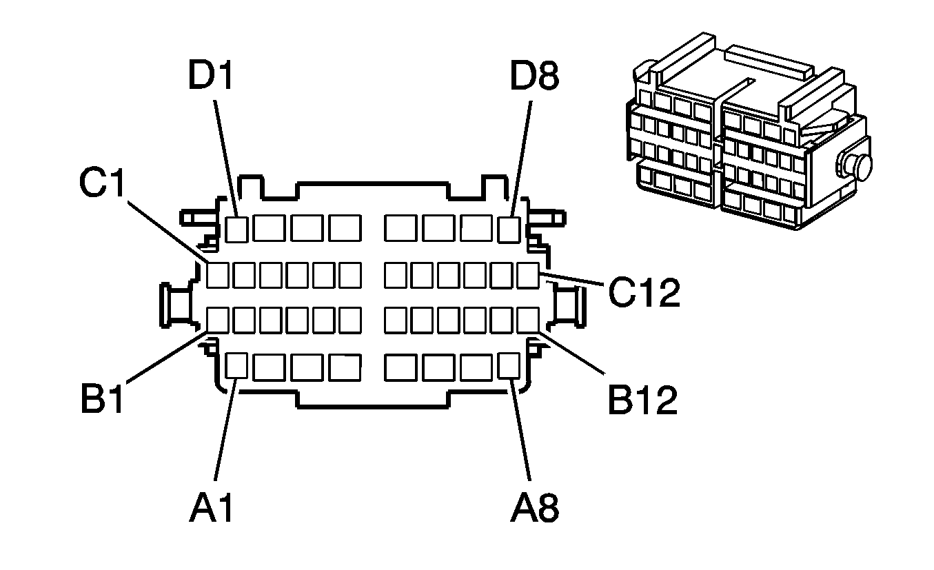
C206 I/P Harness to Body Harness


Object Number: 655774  Size: CH

Object Number: 655773  Size: CH

Connector Part Information

    • 15317325
    • 22-Way F Global Terminal 150, 280 Series (L-GY)

Connector Part Information

    • 15317322
    • 22-Way M Global Terminal 150, 280 Series (L-GY)

Pin

Wire Color

Circuit No.

Function

Pin

Wire Color

Circuit No.

Function

A1

L-BU

1162

APP Sensor 2 Signal

A1

L-BU

1162

APP Sensor 2 Signal

A2

TN

1274

5-Volt Reference

A2

TN

1274

5-Volt Reference

A3

PU

1272

Low Reference

A3

PU

1272

Low Reference

A4

TN/BK

2500

High Speed GMLAN Serial Data Bus +

A4

TN/BK

2500

High Speed GMLAN Serial Data Bus +

A5

--

--

Not Used

A5

PPL

1807

Class 2 Serial Data

A6

PK/WH

1970

Headlamp Low Beam Relay Control

A6

PK/WH

1970

Headlamp Low Beam Relay Control

PK/WH

1970

Headlamp Low Beam Relay Control

A7

BN/WH

2517

Keypad Red LED Signal (UE1)

A7

BN/WH

2517

Keypad Red LED Signal (UE1)

A8

L-GN/BK

2515

Keypad Supply Voltage (UE1)

A8

L-GN/BK

2515

Keypad Supply Voltage (UE1)

A9

GY

655

Cellular Microphone Signal (UE1)

A9

GY

655

Cellular Microphone Signal (UE1)

A10

--

--

Not Used

A10

--

--

Not Used

A11

BN/WH

419

MIL Control

A11

BN/WH

419

MIL Control

B1

D-BU

1161

APP Sensor 1 Signal

B1

D-BU

1161

APP Sensor 1 Signal

B2

WH/BK

1164

5-Volt Reference

B2

WH/BK

1164

5-Volt Reference

B3

BN

1271

Low Reference

B3

BN

1271

Low Reference

B4

TN

2501

High Speed GMLAN Serial Data Bus -

B4

TN

2501

High Speed GMLAN Serial Data Bus -

B5

PK

5165

Antenna 14-Volt Switched Supply Voltage

B5

PK

5165

Antenna 14-Volt Switched Supply Voltage

PK

5165

Antenna 14-Volt Switched Supply Voltage (U85)

B6

--

--

Not Used

B10

--

--

Not Used

B7

YE/BK

2516

Keypad Green LED Signal (UE1)

B7

YE/BK

2516

Keypad Green LED Signal (UE1)

B8

D-GN/WH

2514

Keypad Signal (UE1)

B8

D-GN/WH

2514

Keypad Signal (UE1)

B9

BARE

1489

Drain Wire (UE1)

B9

BARE

1489

Drain Wire (UE1)

B10

--

--

Not Used

B10

--

--

Not Used

B11

GY

91

Windshield Wiper Switch Signal 2

B11

GY

91

Windshield Wiper Switch Signal 2

C207 I/P Harness to Body Harness


Object Number: 655774  Size: CH

Object Number: 655773  Size: CH

Connector Part Information

    • 15317325
    • 22-Way F Global Terminal 150, 280 Series (L-GY)

Connector Part Information

    • 15317322
    • 22-Way M Global Terminal 150, 280 Series (L-GY)

Pin

Wire Color

Circuit No.

Function

Pin

Wire Color

Circuit No.

Function

A1

TN

201

Left Front Speaker Output (+) (UZ6)

A1

TN

201

Left Front Speaker Output (+) (UZ6)

A1

TN

511

Left Front Low Level Audio Signal (+) (U85)

A1

TN

512

Left Front Low Level Audio Signal (+) (U85)

A2

L-GN

200

Right Front Speaker Output (+) (UZ6)

A2

L-GN

200

Right Front Speaker Output (+) (UZ6)

A2

D-GN

512

Right Front Low Level Audio Signal (+) (U85)

A2

D-GN

512

Right Front Low Level Audio Signal (+) (U85)

A3

--

--

Not Used

A3

--

--

Not Used

A4

TN/WH

372

Audio Common (U2K)

A4

TN/WH

372

Audio Common (U2K)

A5

OG

5748

Amplifier Mute (U85)

A5

OG

5748

Amplifier Mute (U85)

A6-A9

--

--

Not Used

A6-A9

--

--

Not Used

A10

D-BU

46

Right Rear Speaker Output (+) (UZ6)

A10

D-BU

46

Right Rear Speaker Output (+) (UZ6)

A10

D-BU

546

Right Rear Low Level Audio Signal (+) (U85)

A10

D-BU

546

Right Rear Low Level Audio Signal (+) (U85)

A11

BN

199

Left Rear Speaker Output (+) (UZ6)

A11

BN

199

Left Rear Speaker Output (+) (UZ6)

A11

BN/WH

599

Left Rear Low Level Audio Signal (+) (U85)

A11

BN/WH

599

Left Rear Low Level Audio Signal (+) (U85)

B1

GY

118

Left Front Speaker Output (-) (UZ6)

B1

GY

118

Left Front Speaker Output (-) (UZ6)

B1

D-GN

1947

Left Front Low Level Audio Signal (-) (U85)

B1

GY

118

Left Front Low Level Audio Signal (-) (U85)

B2

D-GN

117

Right Front Speaker Output (-) (UZ6)

B2

D-GN

117

Right Front Speaker Output (-) (UZ6)

B2

L-GN

1948

Right Front Low Level Audio Signal (-) (U85)

B2

L-GN/BK

1948

Right Front Low Level Audio Signal (-) (U85)

B3

--

--

Not Used

B3

--

--

Not Used

B4

BARE

814

Drain Wire (U2K)

B4

BARE

814

Drain Wire (U2K)

B5

BN/WH

367

Left Audio Signal (+) (U2K)

B5

BN/WH

367

Left Audio Signal (+) (U2K)

B6

D-GN/WH

368

Right Audio Signal (+) (U2K)

B6

D-GN/WH

368

Right Audio Signal (+) (U2K)

B7-B9

--

--

Not Used

B7-B9

--

--

Not Used

B10

L-BU

115

Right Rear Speaker Output (-) (UZ6)

B10

L-BU

115

Right Rear Speaker Output (-) (UZ6)

B10

TN

1946

Right Rear Low Level Audio Signal (-) (U85)

B10

TN

1946

Right Rear Low Level Audio Signal (-) (U85)

B11

YE

116

Left Rear Speaker Output (-) (UZ6)

B11

YE

116

Left Rear Speaker Output (-) (UZ6)

B11

BN

1999

Left Rear Low Level Audio Signal (-) (U85)

B11

BN

1999

Left Rear Low Level Audio Signal (-) (U85)

C208 I/P Harness to Body Harness


Object Number: 684936  Size: CH

Object Number: 684931  Size: CH

Connector Part Information

    • 15422934
    • 4-Way F Metri-Pack 280 Series (YE)

Connector Part Information

    • 15336476
    • 4-Way M Metri-Pack 280 Series (YE)

Pin

Wire Color

Circuit No.

Function

Pin

Wire Color

Circuit No.

Function

A1

TN

3021

Steering Wheel Module - Stage 1 - High Control

A1

TN

3021

Steering Wheel Module - Stage 1 - High Control

A2

BN

3020

Steering Wheel Module - Stage 1 - Low Control

A2

BN

3020

Steering Wheel Module - Stage 1 - Low Control

B1

WH

3023

Steering Wheel Module - Stage 2 - High Control

B1

WH

3023

Steering Wheel Module - Stage 2 - High Control

B2

PK

3022

Steering Wheel Module - Stage 2 - Low Control

B2

PK

3022

Steering Wheel Module - Stage 2 - Low Control

C214 Body Harness to Console Harness


Object Number: 1333948  Size: CH

Object Number: 1385122  Size: CH

Connector Part Information

    • 15326893
    • 5-Way F Global Terminal 280 Series (BK)

Connector Part Information

    • 15326897
    • 5-Way M Global Terminal 280 Series (BK)

Pin

Wire Color

Circuit No.

Function

Pin

Wire Color

Circuit No.

Function

A

GY

8

Instrument Panel Lamp Supply Voltage (NW7/NW9)

A

GY

8

Instrument Panel Lamp Supply Voltage (NW7/NW9)

B

BN/WH

1571

Traction Control Switch Signal (NW7/NW9)

B

BN/WH

1571

Traction Control Switch Signal (NW7/NW9)

C

BK

1050

Ground (NW7/NW9)

C

BK

1050

Ground (NW7/NW9)

D

RD/WH

40

Battery Positive Voltage

D

RD/WH

40

Battery Positive Voltage

RD/WH

40

Battery Positive Voltage

E

BK

1150

Ground

E

BK

1150

Ground

BK

1150

Ground

C216 Passenger Inflatable Restraint Harness to Body Harness


Object Number: 684936  Size: CH

Object Number: 684931  Size: CH

Connector Part Information

    • 15422934
    • 4-Way F Metri-Pack 280 Series (YE)

Connector Part Information

    • 15336476
    • 4-Way M Metri-Pack 280 Series (YE)

Pin

Wire Color

Circuit No.

Function

Pin

Wire Color

Circuit No.

Function

A1

YE

3025

I/P Module - Stage 1 - High Control

A1

YE

3025

I/P Module - Stage 1 - High Control

A2

OG

3024

I/P Module - Stage 1 - Low Control

A2

OG

3024

I/P Module - Stage 1 - Low Control

B1

GY

3027

I/P Module - Stage 2 - High Control

B1

GY

3027

I/P Module - Stage 2 - High Control

B2

PU

3026

I/P Module - Stage 2 - Low Control

B2

PU

3026

I/P Module - Stage 2 - Low Control

C300 Body Harness to Drivers Seat Harness


Object Number: 813079  Size: CH

Object Number: 813080  Size: CH

Connector Part Information

    • 15336205
    • 12-Way F Global Terminal 150, 280 Series (BK)

Connector Part Information

    • 15336209
    • 12-Way M Global Terminal 150, 280 Series (BK)

Pin

Wire Color

Circuit No.

Function

Pin

Wire Color

Circuit No.

Function

A

RD/BK

1242

Battery Positive Voltage (AG1/ASN)

A

RD/BK

1242

Battery Positive Voltage (AG1/ASN)

B

D-GN

5016

Seat Belt Switch - Left - Signal

B

D-GN

5016

Seat Belt Switch - Left - Signal

C-E

--

--

Not Used

C-E

--

--

Not Used

F

BK

1150

Ground (AG1/ASN)

F

BK

1150

Ground (AG1/ASN)

BK

1150

Ground (ASN)

G

PK

5057

Seat Position Sensor - Low Reference

G

PK

5057

Seat Position Sensor - Low Reference

H

YE

243

Accessory Voltage (KA1)

H

YE

243

Accessory Voltage (KA1)

J

RD/WH

1140

Battery Positive Voltage (KA1)

J

RD/WH

1140

Battery Positive Voltage (KA1)

K

GY

8

Instrument Panel Lamp Supply Voltage (KA1)

K

GY

8

Instrument Panel Lamp Supply Voltage (KA1)

L

--

--

Not Used

L

--

--

Not Used

M

BK

1150

Ground (KA1)

M

BK

1150

Ground (KA1)

BK

1150

Ground (KA1)

C301 Inflatable Restraint Side Impact Module Harness to Right Inflatable Restraint Side Impact Module Jumper Harness (AY0)


Object Number: 295469  Size: CH

Object Number: 827070  Size: CH

Connector Part Information

    • 12110505
    • 2-Way F Metri-Pack 150 Series (YE)

Connector Part Information

    • 12160816
    • 2-Way M Metri-Pack 150 Series (YE)

Pin

Wire Color

Circuit No.

Function

Pin

Wire Color

Circuit No.

Function

A

L-GN

2136

Side Impact Module - RF - Low Control

A

WH/BK

2136

Side Impact Module - RF - Low Control

B

TN/WH

2135

Side Impact Module - RF - High Control

B

TN/WH

2135

Side Impact Module - RF - High Control

C302 Inflatable Restraint Side Impact Module Harness to Left Inflatable Restraint Side Impact Module Jumper Harness (AY0)


Object Number: 295469  Size: CH

Object Number: 827070  Size: CH

Connector Part Information

    • 12110505
    • 2-Way F Metri-Pack 150 Series (YE)

Connector Part Information

    • 12160816
    • 2-Way M Metri-Pack 150 Series (YE)

Pin

Wire Color

Circuit No.

Function

Pin

Wire Color

Circuit No.

Function

A

YE/BK

2138

Side Impact Module - LF- Low Control

A

YE/BK

2138

Side Impact Module - LF- Low Control

B

BN

2137

Side Impact Module - LF - High Control

B

D-GN/WH

2137

Side Impact Module - LF - High Control

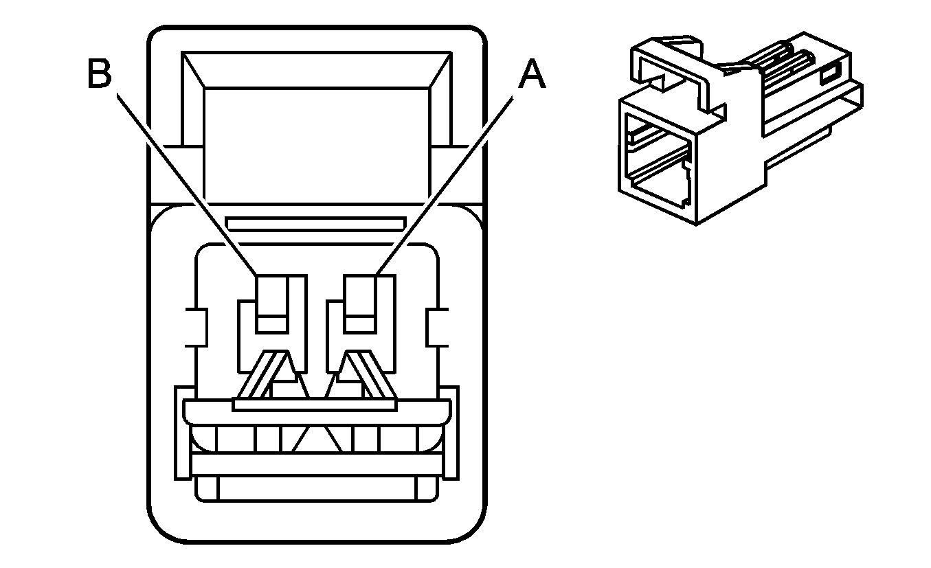
C304 Body Harness to LF Pretensioner Harness


Object Number: 295469  Size: CH

Object Number: 827070  Size: CH

Connector Part Information

    • 15454890
    • 2-Way F Metri-Pack 150 Series (YE)

Connector Part Information

    • 12110500
    • 2-Way M Metri-Pack 150 Series (YE)

Pin

Wire Color

Circuit No.

Function

Pin

Wire Color

Circuit No.

Function

A

OG/BK

2119

Seat Belt Pretensioner - Left - Low Control

A

OG/BK

2119

Seat Belt Pretensioner - Left - Low Control

B

TN/WH

2118

Seat Belt Pretensioner - Left - High Control

B

TN/WH

2118

Seat Belt Pretensioner - Left - High Control

C305 Body Harness to RF Pretensioner Harness


Object Number: 295469  Size: CH

Object Number: 827070  Size: CH

Connector Part Information

    • 15454889
    • 2-Way F Metri-Pack 150 Series (YE)

Connector Part Information

    • 12110500
    • 2-Way M Metri-Pack 150 Series (YE)

Pin

Wire Color

Circuit No.

Function

Pin

Wire Color

Circuit No.

Function

A

OG

2117

Seat Belt Pretensioner - Right - Low Control

A

OG/BK

2117

Seat Belt Pretensioner - Right - Low Control

B

L-GN

2116

Seat Belt Pretensioner - Right - High Control

B

TN/WH

2116

Seat Belt Pretensioner - Right - High Control

C308 Body Harness to Left Seat Inflatable Restraint Side Impact Module Jumper Harness (AY0)


Object Number: 295469  Size: CH

Object Number: 827070  Size: CH

Connector Part Information

    • 12110505
    • 2-Way F Metri-Pack 150 Series (YE)

Connector Part Information

    • 12160816
    • 2-Way M Metri-Pack 150 Series (YE)

Pin

Wire Color

Circuit No.

Function

Pin

Wire Color

Circuit No.

Function

A

YE/BK

2138

Side Impact Module - LF - Low Control

A

YE/BK

2138

Side Impact Module - LF - Low Control

B

BN

2137

Side Impact Module - LF - High Control

B

BN

2137

Side Impact Module - LF - High Control

C309 Body Harness to Right Seat Inflatable Restraint Side Impact Module Jumper Harness (AY0)


Object Number: 295469  Size: CH

Object Number: 827070  Size: CH

Connector Part Information

    • 12110505
    • 2-Way F Metri-Pack 150 Series (YE)

Connector Part Information

    • 12160816
    • 2-Way M Metri-Pack 150 Series (YE)

Pin

Wire Color

Circuit No.

Function

Pin

Wire Color

Circuit No.

Function

A

L-GN

2136

Side Impact Module - RF - Low Control

A

L-GN

2136

Side Impact Module - RF - Low Control

B

TN/WH

2135

Side Impact Module - RF - High Control

B

TN/WH

2135

Side Impact Module - RF - High Control

C310 Body Harness to Passenger Seat Harness (KA1)


Object Number: 698669  Size: CH

Object Number: 698671  Size: CH

Connector Part Information

    • 15326886
    • 4-Way F Global Terminal 280 Series (BK)

Connector Part Information

    • 15326890
    • 4-Way M Global Terminal 280 Series (BK)

Pin

Wire Color

Circuit No.

Function

Pin

Wire Color

Circuit No.

Function

A

YE

243

Accessory Voltage

A

YE

243

Accessory Voltage

YE

243

Accessory Voltage

B

RD/WH

1140

Battery Positive Voltage

B

RD/WH

1140

Battery Positive Voltage

C

GY

8

Instrument Panel Lamp Supply Voltage

C

GY

8

Instrument Panel Lamp Supply Voltage

D

BK

1150

Ground

D

BK

1150

Ground

BK

1150

Ground

C319 Body Harness to Left Roof Rail Module Harness (AY0)


Object Number: 295469  Size: CH

Object Number: 847212  Size: CH

Connector Part Information

    • 12110505
    • 2-Way F Metri-Pack 150 Series (YE)

Connector Part Information

    • 12160816
    • 2-Way M Metri-Pack 150 Series (YE)

Pin

Wire Color

Circuit No.

Function

Pin

Wire Color

Circuit No.

Function

A

PK

5020

Roof Rail Module - Left - Low Control

A

PK

5020

Roof Rail Module - Left - Low Control

B

PU/WH

5019

Side Impact Module - LF High Control

B

PU/WH

5019

Side Impact Module - LF High Control

C320 Body Harness to Right Roof Rail Module Harness (AY0)


Object Number: 295469  Size: CH

Object Number: 847212  Size: CH

Connector Part Information

    • 12110505
    • 2-Way F Metri-Pack 150 Series (YE)

Connector Part Information

    • 12160816
    • 2-Way M Metri-Pack 150 Series (YE)

Pin

Wire Color

Circuit No.

Function

Pin

Wire Color

Circuit No.

Function

A

WH/BK

5022

Roof Rail Module - Right - Low Control

A

WH/BK

5022

Roof Rail Module - Right - Low Control

B

YE/BK

5021

Roof Rail Module - Right - High Control

B

YE/BK

5021

Roof Rail Module - Right - High Control

C351 Headliner Harness to Body Harness (UE1)


Object Number: 1385747  Size: CH

Object Number: 872877  Size: CH

Connector Part Information

    • 15332129
    • 2-Way F Global Terminal 150 Series (BK)

Connector Part Information

    • 15332130
    • 2-Way M Global Terminal 150 Series (BK)

Pin

Wire Color

Circuit No.

Function

Pin

Wire Color

Circuit No.

Function

A

BARE

1489

Drain Wire

A

BARE

1489

Drain Wire

B

GY

655

Cellular Microphone Signal

B

GY

655

Cellular Microphone Signal

C401 Rear Lamp Harness to Left Tail Lamp Harness


Object Number: 456551  Size: CH

Object Number: 280761  Size: CH

Connector Part Information

    • 12160482
    • 4-Way F Metri-Pack 150 Series Sealed (BK)

Connector Part Information

    • 12160825
    • 4-Way M Metri-Pack 150 Series Sealed (BK)

Pin

Wire Color

Circuit No.

Function

Pin

Wire Color

Circuit No.

Function

A

BK

1550

Ground

A

L-GN

1550

Ground

B

YE

18

Left Rear Stop/Turn Lamp Supply Voltage

B

PU

18

Left Rear Stop/Turn Lamp Supply Voltage

C

BN

9

Park Lamp Supply Voltage

C

RD

9

Park Lamp Supply Voltage

D

L-GN

24

Backup Lamp Supply Voltage

D

BN

24

Backup Lamp Supply Voltage

C402 Rear Lamp Harness to Right Tail Lamp Harness


Object Number: 456551  Size: CH

Object Number: 280761  Size: CH

Connector Part Information

    • 12160482
    • 4-Way F Metri-Pack 150 Series Sealed (BK)

Connector Part Information

    • 12160825
    • 4-Way M Metri-Pack 150 Series Sealed (BK)

Pin

Wire Color

Circuit No.

Function

Pin

Wire Color

Circuit No.

Function

A

BK

1450

Ground

A

L-GN

1450

Ground

B

D-GN

19

Right Rear Stop/Turn Lamp Supply Voltage

B

PU

19

Right Rear Stop/Turn Lamp Supply Voltage

C

BN

9

Park Lamp Supply Voltage

C

RD

9

Park Lamp Supply Voltage

D

L-GN

24

Backup Lamp Supply Voltage

D

BN

24

Backup Lamp Supply Voltage

C403 Body Harness to Rear Wheel Speed Sensor Harness (JL9)


Object Number: 646430  Size: CH

Object Number: 806431  Size: CH

Connector Part Information

    • 15326815
    • 4-Way F Global Terminal 150 Series Sealed (BK)

Connector Part Information

    • 15326820
    • 4-Way M Global Terminal 150 Series Sealed (BK)

Pin

Wire Color

Circuit No.

Function

Pin

Wire Color

Circuit No.

Function

A

TN

884

Left Rear Wheel Speed Sensor Supply Voltage

A

TN

884

Left Rear Wheel Speed Sensor Supply Voltage

B

OG

885

Left Rear Wheel Speed Sensor Signal

B

OG

885

Left Rear Wheel Speed Sensor Signal

C

BN

882

Right Rear Wheel Speed Sensor Supply Voltage

C

BN

882

Right Rear Wheel Speed Sensor Supply Voltage

D

WH

883

Right Rear Wheel Speed Sensor Signal

D

WH

883

Right Rear Wheel Speed Sensor Signal

C413 Fuel Sender Harness to Body Harness


Object Number: 632344  Size: CH

Object Number: 1376714  Size: CH

Connector Part Information

    • 22680471
    • 10-Way F Global Terminal 150 Series Sealed (BK)

Connector Part Information

    • 15444071
    • 9-Way M Global Terminal 150 Series Sealed (BK)

Pin

Wire Color

Circuit No.

Function

Pin

Wire Color

Circuit No.

Function

A

RD/WH

1540

Battery Positive Voltage

A

RD/WH

1540

Battery Positive Voltage

B

WH

1310

EVAP Canister Vent Solenoid Control

B

WH

1310

EVAP Canister Vent Solenoid Control

C

GY

120

Fuel Pump Supply Voltage

C

GY

120

Fuel Pump Supply Voltage

D

BK

1250

Ground

D

BK

1250

Ground

E

OG/BK

469

Low Reference

E

TN

2759

Low Reference

F

BK/WH

651

Low Reference

F

OG/BK

1057

Low Reference

G

PU

1589

Fuel Level Sensor Signal

G

PU

1589

Fuel Level Sensor Signal

H

D-GN

890

Fuel Tank Pressure Sensor Signal

H

D-GN

890

Fuel Tank Pressure Sensor Signal

J

GY

705

5-Volt Reference

J

GY

705

5-Volt Reference

K

--

--

Not Used

K

--

--

Not Available

C415 Headliner Harness to Sunroof Harness (C3Y)


Object Number: 813079  Size: CH

Object Number: 813080  Size: CH

Connector Part Information

    • 15336205
    • 12-Way F Global Terminal 150, 280 Series (BK)

Connector Part Information

    • 15336209
    • 12-Way M Global Terminal 150, 280 Series (BK)

Pin

Wire Color

Circuit No.

Function

Pin

Wire Color

Circuit No.

Function

A

RD/WH

1940

Battery Positive Voltage

A

RD/WH

1940

Battery Positive Voltage

B

--

--

Not Used

B

--

--

Not Used

C

L-BU

5027

Sunroof Switch Data 1 Signal

C

L-BU

5027

Sunroof Switch Data 1 Signal

D

BN

5028

Sunroof Switch Data 2 Signal

D

GY

5028

Sunroof Switch Data 2 Signal

E

OG

5029

Sunroof Switch Data 3 Signal

E

PU

5029

Sunroof Switch Data 3 Signal

F

BK

1350

Ground

F

BK

1350

Ground

BK

1350

Ground

G

BK

1350

Ground

G

BK

1350

Ground

H

YE

243

Accessory Voltage

H

BN

243

Accessory Voltage

J

L-BU

5304

Front Sunshade Switch Open Signal

J

L-BU

5304

Front Sunshade Switch Open Signal

K

YE

5305

Front Sunshade Switch Close Signal

K

OG

5305

Front Sunshade Switch Close Signal

L

BN

818

Vehicle Speed Signal

L

D-BU

818

Vehicle Speed Signal

M

--

--

Not Used

M

WH

5043

Keyword 2000 Serial Data

C500 Body Harness to Left Front Door Harness


Object Number: 1243531  Size: CH

Object Number: 1243534  Size: CH

Connector Part Information

    • 15401211
    • 40-Way F Global Terminal 150, 280 Series (M-GY)

Connector Part Information

    • 15401208
    • 40-Way M Global Terminal 150, 280 Series (M-GY)

Pin

Wire Color

Circuit No.

Function

Pin

Wire Color

Circuit No.

Function

A1

TN

1856

Left Front Tweeter Speaker Output (+) (U85)

A1

TN

1856

Left Front Tweeter Speaker Output (+) (U85)

A2

YE

343

Accessory Voltage

A2

YE

343

Accessory Voltage

A3

D-BU

1307

Power Window Master Switch Lockout Control

A3

D-BU

1307

Power Window Master Switch Lockout Control

A4

GY

118

Left Front Speaker Output (-)

A4

GY

118

Left Front Speaker Output (-)

GY

118

Left Front Speaker Output (-) (UZ6)

A5

TN

201

Left Front Speaker Output (+)

A5

TN

201

Left Front Speaker Output (+)

TN

201

Left Front Speaker Output (+) (UZ6)

A6

BK

1250

Ground

A6

BK

1250

Ground

BK

1250

Ground

A7

BK

1150

Ground

A7

BK

1150

Ground

A8

--

--

Not Used

A8

--

--

Not Used

B1-B2

--

--

Not Used

B1-B2

--

--

Not Used

B3

WH

682

Door Lock Lock/Unlock Signal

B3

WH

682

Door Lock Lock/Unlock Signal

B4

GY

8

Instrument Panel Lamp Supply Voltage

B4

GY

8

Instrument Panel Lamp Supply Voltage

B5

TN

694

Driver Door Lock Actuator Unlock Control

B5

TN

694

Driver Door Lock Actuator Unlock Control

B6

GY/BK

295

Door Lock Actuator Lock Control

B6

GY

295

Door Lock Actuator Lock Control

B7

GY/BK

745

Left Front Door Ajar Switch Signal

B7

GY/BK

745

Left Front Door Ajar Switch Signal

B8

GY

8

Instrument Panel Lamp Supply Voltage

B8

GY

8

Instrument Panel Lamp Supply Voltage

B9

L-GN

262

Driver Door Key Switch Unlock Signal

B9

L-GN

262

Driver Door Key Switch Unlock Signal

B10

YE

2131

Side Impact Sensing Module - Left - Voltage (AY0)

B10

YE

2131

Side Impact Sensing Module - Left - Voltage (AY0)

B11

WH

2132

Side Impact Sensing Module - Left - Signal (AY0)

B11

WH

2132

Side Impact Sensing Module - Left - Signal (AY0)

B12

--

--

Not Used

B12

--

--

Not Used

C1-C2

--

--

Not Used

C1-C2

--

--

Not Used

C3

RD/WH

640

Battery Positive Voltage

C3

RD/WH

640

Battery Positive Voltage

C4

BK

1150

Ground

C4

BK

1150

Ground

C5

GY

8

Instrument Panel Lamp Supply Voltage

C5

GY

8

Instrument Panel Lamp Supply Voltage

C6

OG/WH

881

Right Mirror Motor Right Control

C6

OG/WH

881

Right Mirror Motor Right Control

C7

PU/WH

889

Right Mirror Motor Down Control

C7

PU/WH

889

Right Mirror Motor Down Control

C8

GY

90

Passenger Mirror Motor Left/Up Control

C8

GY

90

Passenger Mirror Motor Left/Up Control

C9

BK

1150

Ground

C9

BK

1150

Ground

C10

BN/WH

2091

Trunk Release Switch Supply Voltage

C10

BN/WH

2091

Trunk Release Switch Supply Voltage

C11-C12

--

--

Not Used

C11-C12

--

--

Not Used

D1

YE

1956

Left Front Tweeter Speaker Output (-) (U85)

D1

YE

1956

Left Front Tweeter Speaker Output (-) (U85)

D2

L-BU

166

Power Window Master Switch Right Front Up Signal

D2

L-BU

166

Power Window Master Switch Right Front Up Signal

D3

TN

167

Power Window Master Switch Right Front Down Signal

D3

TN

167

Power Window Master Switch Right Front Down Signal

D4

D-GN

168

Power Window Master Switch Left Rear Up Signal

D4

D-GN

168

Power Window Master Switch Left Rear Up Signal

D5

PU

169

Power Window Master Switch Left Rear Down Signal

D5

PU

169

Power Window Master Switch Left Rear Down Signal

D6

L-GN

170

Power Window Master Switch Right Rear Up Signal

D6

L-GN

170

Power Window Master Switch Right Rear Up Signal

D7

PU

171

Power Window Master Switch Right Rear Down Signal

D7

PU

171

Power Window Master Switch Right Rear Down Signal

D8

--

--

Not Used

D8

--

--

Not Used

C501 Left Front Door Harness to Left Front Door Trim Pad Harness


Object Number: 62439  Size: CH

Object Number: 62434  Size: CH

Connector Part Information

    • 12047886
    • 8-Way F Metri-Pack 150 Series (BK)

Connector Part Information

    • 12045688
    • 8-Way M Metri-Pack 150 Series (BK)

Pin

Wire Color

Circuit No.

Function

Pin

Wire Color

Circuit No.

Function

A

GY

8

Instrument Panel Lamp Supply Voltage

A

GY

8

Instrument Panel Lamp Supply Voltage

B

WH

682

Door Lock Lock/Unlock Signal

B

WH

682

Door Lock Lock/Unlock Signal

C

BK

1250

Ground

C

BK

1250

Ground

D

TN

1856

Left Front Tweeter Speaker Output (+) (U85)

D

TN

1856

Left Front Tweeter Speaker Output (+) (U85)

TN

201

Left Front Speaker Output (+) (UZ6)

E

YE

1956

Left Front Tweeter Speaker Output (-) (U85)

E

YE

1956

Left Front Tweeter Speaker Output (-) (U85)

GY

118

Left Front Speaker Output (-) (UZ6)

F

GY

8

Instrument Panel Lamp Supply Voltage

F

GY

8

Instrument Panel Lamp Supply Voltage

G

BK

1150

Ground

G

BK

1150

Ground

H

BN/WH

2091

Trunk Release Switch Supply Voltage

H

BN/WH

2091

Trunk Release Switch Supply Voltage

C600 Body Harness to Right Front Door Harness


Object Number: 1243531  Size: CH

Object Number: 1243534  Size: CH

Connector Part Information

    • 15401211
    • 40-Way F Global Terminal 150, 280 Series (M-GY)

Connector Part Information

    • 15401208
    • 40-Way M Global Terminal 150, 280 Series (M-GY)

Pin

Wire Color

Circuit No.

Function

Pin

Wire Color

Circuit No.

Function

A1

L-GN

1852

Right Front Tweeter Speaker Output (+) (U85)

A1

L-GN

1852

Right Front Tweeter Speaker Output (+) (U85)

A2

YE

343

Accessory Voltage

A2

YE

343

Accessory Voltage

A3

--

--

Not Used

A3

--

--

Not Used

A4

D-GN

117

Right Front Speaker Output (-)

A4

D-GN

117

Right Front Speaker Output (-)

D-GN

117

Right Front Speaker Output (-) (UZ6)

A5

L-GN

200

Right Front Speaker Output (+)

A5

L-GN

200

Right Front Speaker Output (+)

L-GN

200

Right Front Speaker Output (+) (UZ6)

A6

BK

1250

Ground

A6

BK

1250

Ground

BK

1250

Ground

A7-A8

--

--

Not Used

A7-A8

--

--

Not Used

B1

--

--

Not Used

B1

--

--

Not Used

B2

BK

1150

Ground

B2

BK

1150

Ground

B3

WH

682

Door Lock Lock/Unlock Signal

B3

WH

682

Door Lock Lock/Unlock Signal

B4

GY

8

Instrument Panel Lamp Supply Voltage

B4

GY

8

Instrument Panel Lamp Supply Voltage

B5

TN

294

Door Lock Actuator Unlock Control

B5

TN

294

Door Lock Actuator Unlock Control

B6

GY/BK

295

Door Lock Actuator Lock Control

B6

GY

295

Door Lock Actuator Lock Control

B7

TN/WH

746

Right Front Door Ajar Switch Signal

B7

TN/WH

746

Right Front Door Ajar Switch Signal

B8-B9

--

--

Not Used

B8-B9

--

--

Not Used

B10

TN

2133

Side Impact Sensing Module - Right - Voltage (AY0)

B10

TN

2133

Side Impact Sensing Module - Right - Voltage (AY0)

B11

D-GN

2134

Side Impact Sensing Module - Right - Signal (AY0)

B11

D-GN

2134

Side Impact Sensing Module - Right - Signal (AY0)

B12

--

--

Not Used

B12

--

--

Not Used

C1

--

--

Not Used

C1

--

--

Not Used

C2

GY

90

Passenger Mirror Motor Left/Up Control

C2

GY

90

Passenger Mirror Motor Left/Up Control

C3-C5

--

--

Not Used

C3-C5

--

--

Not Used

C6

OG/WH

881

Passenger Mirror Motor Right Control

C6

OG/WH

881

Passenger Mirror Motor Right Control

C7

--

--

Not Used

C7

--

--

Not Used

C8

PU/WH

889

Right Mirror Motor Down Control

C8

PU/WH

889

Right Mirror Motor Down Control

C9-C12

--

--

Not Used

C9-C12

--

--

Not Used

D1

PU

1952

Right Front Tweeter Speaker Output (-) (U85)

C8

PU

1952

Right Front Tweeter Speaker Output (-) (U85)

D2-D3

--

--

Not Used

D1-D3

--

--

Not Used

D4

L-BU

166

Power Window Master Switch Right Front Up Signal

D4

L-BU

166

Power Window Master Switch Right Front Up Signal

D5

TN

167

Power Window Master Switch Right Front Down Signal

D5

TN

167

Power Window Master Switch Right Front Down Signal

D6-D8

--

--

Not Used

D6-D8

--

--

Not Used

C601 Right Front Door Harness to Right Front Door Trim Pad Harness


Object Number: 62439  Size: CH

Object Number: 62434  Size: CH

Connector Part Information

    • 12047886
    • 8-Way F Metri-Pack 150 Series (BK)

Connector Part Information

    • 12045688
    • 8-Way M Metri-Pack 150 Series (BK)

Pin

Wire Color

Circuit No.

Function

Pin

Wire Color

Circuit No.

Function

A

GY

8

Instrument Panel Lamp Supply Voltage

A

GY

8

Instrument Panel Lamp Supply Voltage

B

WH

682

Door Lock Lock/Unlock Signal

B

WH

682

Door Lock Lock/Unlock Signal

C

BK

1250

Ground

C

BK

1250

Ground

D

L-GN

1852

Right Front Tweeter Speaker Output (+) (U85)

D

L-GN

1852

Right Front Tweeter Speaker Output (+) (U85)

L-GN

200

Right Front Speaker Output (+) (UZ6)

E

PU

1952

Right Front Tweeter Speaker Output (-) (U85)

E

PU

1952

Right Front Tweeter Speaker Output (-) (U85)

D-GN

117

Right Front Speaker Output (-) (UZ6)

F-H

--

--

Not Used

F-H

--

--

Not Used

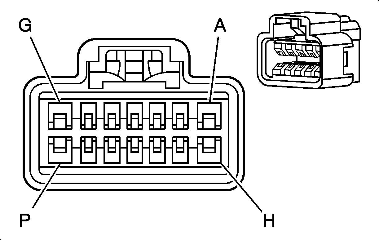
C700 Body Harness to Left Rear Door Harness


Object Number: 1376248  Size: CH

Object Number: 1376711  Size: CH

Connector Part Information

    • 15336211
    • 14-Way F Global Terminal 150, 280 Series (BK)

Connector Part Information

    • 15412364
    • 14-Way M Global Terminal 150, 280 Series (BK)

Pin

Wire Color

Circuit No.

Function

Pin

Wire Color

Circuit No.

Function

A

D-GN

168

Power Window Master Switch Left Rear Up Signal

A

D-GN

168

Power Window Master Switch Left Rear Up Signal

B

L-BU/BK

747

Left Rear Door Ajar Switch Signal

B

L-BU/BK

747

Left Rear Door Ajar Switch Signal

C

GY

295

Door Lock Actuator Lock Control

C

GY

295

Door Lock Actuator Lock Control

D

TN

294

Door Lock Actuator Unlock Control

D

TN

294

Door Lock Actuator Unlock Control

E-F

--

--

Not Used

E-F

--

--

Not Used

G

PU

169

Power Window Master Switch Left Rear Down Signal

G

PU

169

Power Window Master Switch Left Rear Down Signal

H

D-BU

1307

Power Window Master Switch Lockout Control

H

D-BU

1307

Power Window Master Switch Lockout Control

J

BK

1250

Ground

J

BK

1250

Ground

K-P

--

--

Not Used

K-P

--

--

Not Used

C800 Body Harness to Right Rear Door Harness


Object Number: 1376248  Size: CH

Object Number: 1376711  Size: CH

Connector Part Information

    • 15336211
    • 14-Way F Global Terminal 150, 280 Series (BK)

Connector Part Information

    • 15412364
    • 14-Way M Global Terminal 150, 280 Series (BK)

Pin

Wire Color

Circuit No.

Function

Pin

Wire Color

Circuit No.

Function

A

L-GN

170

Power Window Master Switch Right Rear Up Signal

A

L-GN

170

Power Window Master Switch Right Rear Up Signal

B

L-GN/BK

748

Right Rear Door Ajar Switch Signal

B

L-GN/BK

748

Right Rear Door Ajar Switch Signal

C

GY

295

Door Lock Actuator Lock Control

C

GY

295

Door Lock Actuator Lock Control

D

TN

294

Door Lock Actuator Unlock Control

D

TN

294

Door Lock Actuator Unlock Control

E-F

--

--

Not Used

E-F

--

--

Not Used

G

PU

171

Power Window Master Switch Right Rear Down Signal

G

PU

171

Power Window Master Switch Right Rear Down Signal

H

D-BU

1307

Power Window Master Switch Lockout Control

H

D-BU

1307

Power Window Master Switch Lockout Control

J

BK

1250

Ground

J

BK

1250

Ground

K-P

--

--

Not Used

K-P

--

--

Not Used