GM Service Manual Online
For 1990-2009 cars only
Table 1: Accelerator Pedal Position (APP) Sensor
Table 2: Camshaft Position (CMP) Sensor
Table 3: Crankshaft Position (CKP) Sensor
Table 4: Engine Coolant Temperature (ECT) Sensor
Table 5: Evaporative Emission (EVAP) Canister Purge Solenoid Valve
Table 6: Evaporative Emission (EVAP) Canister Vent Solenoid Valve
Table 7: Exhaust Gas Recirculation (EGR) Valve
Table 8: Fuel Injector 1
Table 9: Fuel Injector 2
Table 10: Fuel Injector 3
Table 11: Fuel Injector 4
Table 12: Fuel Injector 5
Table 13: Fuel Injector 6
Table 14: Fuel Pump and Sender Assembly
Table 15: Fuel Tank Pressure (FTP) Sensor
Table 16: Heated Oxygen Sensor (HO2S) Bank 1 Sensor 1
Table 17: Heated Oxygen Sensor (HO2S) Bank 2 Sensor 1
Table 18: Heated Oxygen Sensor (HO2S) Bank 1 Sensor 2
Table 19: Heated Oxygen Sensor (HO2S) Bank 2 Sensor 2
Table 20: Ignition Control Module (ICM)
Table 21: Knock Sensor (KS) 1
Table 22: Knock Sensor (KS) 2
Table 23: Manifold Absolute Pressure (MAP) Sensor
Table 24: Mass Air Flow (MAF)/Intake Air Temperature (IAT) Sensor
Table 25: Throttle Actuator Control (TAC) Module

Accelerator Pedal Position (APP) Sensor


Object Number: 886053  Size: CH

Connector Part Information

    • 15326830
    • 6-Way F Global Terminal 150 Series Sealed (BK)

Pin

Wire Color

Circuit No.

Function

A

PU

1272

Low Reference

B

L-BU

1162

APP Sensor 2 Signal

C

TN

1274

5-Volt Reference

D

BN

1271

Low Reference

E

D-BU

1161

APP Sensor 1 Signal

F

WH/BK

1164

5-Volt Reference

Camshaft Position (CMP) Sensor


Object Number: 833724  Size: CH

Connector Part Information

    • 15336065
    • 3-Way F Global Terminal 150 Series Sealed (BK)

Pin

Wire Color

Circuit No.

Function

A

BN/WH

633

CMP Sensor Signal

B

BK

407

Low Reference

C

RD/WH

812

12-Volt Reference

Crankshaft Position (CKP) Sensor


Object Number: 646415  Size: CH

Connector Part Information

    • 15326808
    • 3-Way F Global Terminal 150 Series Sealed (BK)

Pin

Wire Color

Circuit No.

Function

A

L-GN

1867

12-Volt Reference

B

PU

574

Low Reference

C

L-BU/BK

647

Medium Resolution Engine Speed Signal

Engine Coolant Temperature (ECT) Sensor


Object Number: 237066  Size: CH

Connector Part Information

    • 12162194
    • 2-Way F Metri-Pack 150.2 Series Sealed Pull-to-Seat (BK)

Pin

Wire Color

Circuit No.

Function

A

OG/BK

469

Low Reference

B

YE

410

ECT Sensor Signal

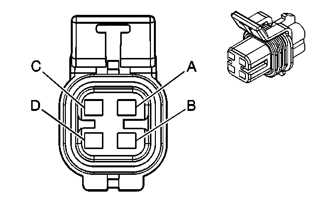
Evaporative Emission (EVAP) Canister Purge Solenoid Valve


Object Number: 684795  Size: CH

Connector Part Information

    • 12052643
    • 2-Way F Metri-Pack 150 Series Sealed (RD)

Pin

Wire Color

Circuit No.

Function

A

PK/BK

5291

Ignition 1 Voltage

B

D-GN/WH

428

EVAP Canister Purge Solenoid Control

Evaporative Emission (EVAP) Canister Vent Solenoid Valve


Object Number: 684795  Size: CH

Connector Part Information

    • 12052643
    • 2-Way F Metri-Pack 150 Series Sealed (RD)

Pin

Wire Color

Circuit No.

Function

A

RD/WH

1540

Battery Positive Voltage

B

WH

1310

EVAP Canister Vent Solenoid Control

Exhaust Gas Recirculation (EGR) Valve


Object Number: 684863  Size: CH

Connector Part Information

    • 12186056
    • 5-Way F Metri-Pack 150.2 Series Sealed (BK)

Pin

Wire Color

Circuit No.

Function

A

GY

435

EGR Solenoid Low Control

B

TN

2753

Low Reference

C

BN

1456

EGR Valve Position Signal

D

GY

5047

5-Volt Reference

E

OG

1676

EGR Solenoid High Control

Fuel Injector 1


Object Number: 1273820  Size: CH

Connector Part Information

    • 15355226
    • 2-Way F Metri-Pack 150 Series Sealed (BK)

Pin

Wire Color

Circuit No.

Function

A

PK

639

Ignition 1 Voltage

B

BK

1744

Fuel Injector 1 Control

Fuel Injector 2


Object Number: 1273820  Size: CH

Connector Part Information

    • 15355226
    • 2-Way F Metri-Pack 150 Series Sealed (BK)

Pin

Wire Color

Circuit No.

Function

A

PK

639

Ignition 1 Voltage

B

L-GN/BK

1745

Fuel Injector 2 Control

Fuel Injector 3


Object Number: 1273820  Size: CH

Connector Part Information

    • 15355226
    • 2-Way F Metri-Pack 150 Series Sealed (BK)

Pin

Wire Color

Circuit No.

Function

A

PK

639

Ignition 1 Voltage

B

PK/BK

1746

Fuel Injector 3 Control

Fuel Injector 4


Object Number: 1273820  Size: CH

Connector Part Information

    • 15355226
    • 2-Way F Metri-Pack 150 Series Sealed (BK)

Pin

Wire Color

Circuit No.

Function

A

PK

639

Ignition 1 Voltage

B

L-BU/BK

844

Fuel Injector 4 Control

Fuel Injector 5


Object Number: 1273820  Size: CH

Connector Part Information

    • 15355226
    • 2-Way F Metri-Pack 150 Series Sealed (BK)

Pin

Wire Color

Circuit No.

Function

A

PK

639

Ignition 1 Voltage

B

BK/WH

845

Fuel Injector 5 Control

Fuel Injector 6


Object Number: 1273820  Size: CH

Connector Part Information

    • 15355226
    • 2-Way F Metri-Pack 150 Series Sealed (BK)

Pin

Wire Color

Circuit No.

Function

A

PK

639

Ignition 1 Voltage

B

YE/BK

846

Fuel Injector 6 Control

Fuel Pump and Sender Assembly


Object Number: 1464949  Size: CH

Connector Part Information

    • 15324787
    • 4-Way F Apex (GY)

Pin

Wire Color

Circuit No.

Function

1

GY

120

Fuel Pump Supply Voltage

2

PU

1589

Fuel Level Sensor Signal

3

BK/WH

651

Ground

4

BK

1250

Ground

Fuel Tank Pressure (FTP) Sensor


Object Number: 684948  Size: CH

Connector Part Information

    • 15354716
    • 4-Way F Global Terminal 150 Series Sealed (BK)

Pin

Wire Color

Circuit No.

Function

A

--

--

Not Used

B

GY

705

5-Volt Reference

C

D-GN

890

Fuel Tank Pressure Sensor Signal

D

OG/BK

469

Low Reference

Heated Oxygen Sensor (HO2S) Bank 1 Sensor 1


Object Number: 474210  Size: CH

Connector Part Information

    • 12176897
    • 4-Way F Metri-Pack 150 Series Sealed (L-GY)

Pin

Wire Color

Circuit No.

Function

A

TN/WH

3111

HO2S Low Reference (Bank 1 Sensor 1)

B

PU/WH

3110

HO2S Reference Voltage (Bank 1 Sensor 1)

C

GY/WH

3113

HO2S Heater Low Control (Bank 1 Sensor 1)

D

PK/BK

5291

Ignition 1 Voltage

Heated Oxygen Sensor (HO2S) Bank 2 Sensor 1


Object Number: 474210  Size: CH

Connector Part Information

    • 12176897
    • 4-Way F Metri-Pack 150 Series Sealed (L-GY)

Pin

Wire Color

Circuit No.

Function

A

TN/WH

3211

HO2S Low Reference (Bank 2 Sensor 1)

B

PU/WH

3210

HO2S Reference Voltage (Bank 2 Sensor 1)

C

L-GN

3212

HO2S Heater Low Control (Bank 2 Sensor 1)

D

PK/BK

5291

Ignition 1 Voltage

Heated Oxygen Sensor (HO2S) Bank 1 Sensor 2


Object Number: 806613  Size: CH

Connector Part Information

    • 15326423
    • 4-Way M Metri-Pack 150 Series Sealed (GY)

Pin

Wire Color

Circuit No.

Function

A

TN/WH

3121

HO2S Low Signal (Bank 1 Sensor 2)

B

PU

3120

HO2S High Signal (Bank 1 Sensor 2)

C

GY/WH

3122

HO2S Heater Low Control (Bank 1 Sensor 2)

D

PK/BK

5291

Ignition 1 Voltage

Heated Oxygen Sensor (HO2S) Bank 2 Sensor 2


Object Number: 806613  Size: CH

Connector Part Information

    • 15326423
    • 4-Way M Metri-Pack 150 Series Sealed (GY)

Pin

Wire Color

Circuit No.

Function

A

TN

3221

HO2S Low Signal (Bank 2 Sensor 2)

B

PU

3220

HO2S High Signal (Bank 2 Sensor 2)

C

OG/WH

3223

HO2S Heater Low Control (Bank 2 Sensor 2)

D

PK/BK

5291

Ignition 1 Voltage

Ignition Control Module (ICM)


Object Number: 632357  Size: CH

Connector Part Information

    • 15326829
    • 6-Way F 150 Series Sealed (BK)

Pin

Wire Color

Circuit No.

Function

A

OG/WH

2122

IC 2 Control

B

PU

2121

IC 1 Control

C

L-BU

2123

IC 3 Control

D

YE

2174

Low Reference

E

BK

450

Ground

F

PK

239

Ignition 1 Voltage

Knock Sensor (KS) 1


Object Number: 1232999  Size: CH

Connector Part Information

    • 15374222
    • 2-Way F Global Terminal 150 Series Sealed (WH)

Pin

Wire Color

Circuit No.

Function

A

D-BU

496

Knock Sensor 1 Signal

B

GY

1716

Low Reference

Knock Sensor (KS) 2


Object Number: 1232999  Size: CH

Connector Part Information

    • 15374222
    • 2-Way F Global Terminal 150 Series Sealed (WH)

Pin

Wire Color

Circuit No.

Function

A

L-BU

1876

Knock Sensor 2 Signal

B

GY

2303

Low Reference

Manifold Absolute Pressure (MAP) Sensor


Object Number: 684840  Size: CH

Connector Part Information

    • 12129946
    • 3-Way F Metri-Pack 150 Series Sealed (GY)

Pin

Wire Color

Circuit No.

Function

A

OG/BK

469

Low Reference

B

L-GN

432

MAP Sensor Signal

C

GY

2704

5-Volt Reference

Mass Air Flow (MAF)/Intake Air Temperature (IAT) Sensor


Object Number: 647974  Size: CH

Connector Part Information

    • 15326822
    • 5-Way F Global Terminal 150 Series Sealed (BK)

Pin

Wire Color

Circuit No.

Function

A

YE

492

MAF Sensor Signal

B

PK/BK

5291

Ignition 1 Voltage

C

BK/WH

451

Ground

D

TN

472

IAT Sensor Signal

E

TN/BK

2760

Low Reference

Throttle Actuator Control (TAC) Module


Object Number: 1243581  Size: CH

Connector Part Information

    • 15355368
    • 20-Way F Global Terminal 150 Series Sealed (GY)

Pin

Wire Color

Circuit No.

Function

1

TN

1274

5-Volt Reference

2

PU

1272

Low Reference

3

L-BU

1162

APP Sensor 2 Signal

4

BN

818

Vehicle Speed Signal

5

--

--

Not Used

6

WH

17

Stop Lamp Switch Signal

7

TN

800

UART Serial Data (Primary)

8

BK/WH

451

Ground

9-10

--

--

Not Used

11

D-BU

1161

APP Sensor 1 Signal

12

BN

1271

Low Reference

13

WH/BK

1164

5-Volt Reference

14-15

--

--

Not Used

16

OG/BK

1061

UART Serial Data (Secondary)

17

BK/WH

451

Ground

18

PK/BK

5290

Ignition 1 Voltage

19-20

--

--

Not Used