| Table 1: | Heated Seat Control Module - Driver C1 (KA1) |
| Table 2: | Heated Seat Control Module - Driver C2 (KA1) |
| Table 3: | Heated Seat Control Module - Driver C3 (KA1) |
| Table 4: | Heated Seat Control Module - Passenger C1 (KA1) |
| Table 5: | Heated Seat Control Module - Passenger C2 (KA1) |
| Table 6: | Heated Seat Control Module - Passenger C3 (KA1) |
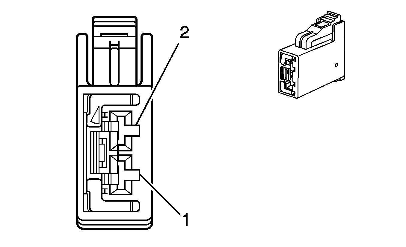
| Table 7: | Heated Seat Switch - Driver (KA1) |
| Table 8: | Heated Seat Switch - Passenger (KA1) |
| Table 9: | Seat Adjuster Switch - Driver (ASN) |
| Table 10: | Seat Adjuster Switch - Driver (AG1) |
| Table 11: | Seat Front Vertical Motor (AG1) |
| Table 12: | Seat Horizontal Motor (AG1) |
| Table 13: | Seat Rear Vertical Motor (AG1) |
| Table 14: | Seat Vertical Motor (ASN) |
| |||||||
|---|---|---|---|---|---|---|---|
Connector Part Information |
| ||||||
Pin | Wire Color | Circuit No. | Function | ||||
1 | BK | 1150 | Ground | ||||
2 | L-BU/BK | 1505 | Driver Heated Seat Switch Signal | ||||
3 | YE | 243 | Accessory Voltage | ||||
4 | RD/WH | 1140 | Battery Positive Voltage | ||||
| |||||||
|---|---|---|---|---|---|---|---|
Connector Part Information |
| ||||||
Pin | Wire Color | Circuit No. | Function | ||||
1 | BK | 2424 | Driver Heated Seat Back Element Control | ||||
2 | BK | 2432 | Driver Heated Seat Back Element Supply Voltage | ||||
| |||||||
|---|---|---|---|---|---|---|---|
Connector Part Information |
| ||||||
Pin | Wire Color | Circuit No. | Function | ||||
1 | RD | 2077 | Heated Seat Cushion Element Supply Voltage | ||||
2 | GY | 2080 | Driver Heated Seat Cushion Temperature Sensor Low Reference | ||||
3 | GY | 2079 | Heated Seat Cushion Temperature Sensor Signal | ||||
4 | BK | 2078 | Heated Seat Cushion Element Control | ||||
| |||||||
|---|---|---|---|---|---|---|---|
Connector Part Information |
| ||||||
Pin | Wire Color | Circuit No. | Function | ||||
1 | BK | 1150 | Ground | ||||
2 | D-BU/BK | 1505 | Passenger Heated Seat Switch Signal | ||||
3 | YE | 243 | Accessory Voltage | ||||
4 | RD/WH | 1140 | Battery Positive Voltage | ||||
| |||||||
|---|---|---|---|---|---|---|---|
Connector Part Information |
| ||||||
Pin | Wire Color | Circuit No. | Function | ||||
1 | BK | 2433 | Passenger Heated Seat Back Element Control | ||||
2 | BK | 2481 | Passenger Heated Seat Back Element Supply Voltage | ||||
| |||||||
|---|---|---|---|---|---|---|---|
Connector Part Information |
| ||||||
Pin | Wire Color | Circuit No. | Function | ||||
1 | RD | 2479 | Passenger Heated Seat Cushion Element Supply Voltage | ||||
2 | GY | 2435 | Passenger Heated Seat Cushion Temperature Sensor Low Reference | ||||
3 | GY | 2434 | Passenger Heated Seat Cushion Temperature Sensor Signal | ||||
4 | BK | 2480 | Passenger Heated Seat Cushion Element Control | ||||
| |||||||
|---|---|---|---|---|---|---|---|
Connector Part Information |
| ||||||
Pin | Wire Color | Circuit No. | Function | ||||
5 | YE | 243 | Accessory Voltage | ||||
6 | BK | 1150 | Ground | ||||
7 | L-BU/BK | 1505 | Driver Heated Seat Switch Signal | ||||
8 | GY | 8 | Instrument Panel Lamps Supply Voltage | ||||
9-10 | -- | -- | Not Used | ||||
| |||||||
|---|---|---|---|---|---|---|---|
Connector Part Information |
| ||||||
Pin | Wire Color | Circuit No. | Function | ||||
5 | YE | 243 | Accessory Voltage | ||||
6 | BK | 1150 | Ground | ||||
7 | D-BU/BK | 1505 | Passenger Heated Seat Switch Signal | ||||
8 | GY | 8 | Instrument Panel Lamps Supply Voltage | ||||
9-10 | -- | -- | Not Used | ||||
| |||||||
|---|---|---|---|---|---|---|---|
Connector Part Information |
| ||||||
Pin | Wire Color | Circuit No. | Function | ||||
A | BK | 1150 | Ground | ||||
B | YE | 286 | Driver Seat Vertical Motor Up Control | ||||
C | L-BU | 287 | Driver Seat Vertical Motor Down Control | ||||
D-E | -- | -- | Not Used | ||||
F | RD/BK | 1242 | Battery Positive Voltage | ||||
G | BK | 1150 | Ground | ||||
| |||||||
|---|---|---|---|---|---|---|---|
Connector Part Information |
| ||||||
Pin | Wire Color | Circuit No. | Function | ||||
A | L-BU | 283 | Driver Seat Rear Vertical Motor Down Control | ||||
B | BK | 1150 | Ground | ||||
C | L-GN | 284 | Driver Seat Horizontal Motor Rearward Control | ||||
D | RD/BK | 1242 | Battery Positive Voltage | ||||
E | D-BU | 287 | Driver Seat Vertical Motor Down Control | ||||
F | TN | 285 | Driver Seat Horizontal Motor Forward Control | ||||
G | D-GN | 286 | Driver Seat Vertical Motor Up Control | ||||
H | YE | 282 | Driver Seat Rear Vertical Motor Up Control | ||||
| |||||||
|---|---|---|---|---|---|---|---|
Connector Part Information |
| ||||||
Pin | Wire Color | Circuit No. | Function | ||||
A | D-BU | 287 | Driver Seat Vertical Motor Down Control | ||||
B | D-GN | 286 | Driver Seat Vertical Motor Up Control | ||||
| |||||||
|---|---|---|---|---|---|---|---|
Connector Part Information |
| ||||||
Pin | Wire Color | Circuit No. | Function | ||||
A | L-GN | 284 | Driver Seat Horizontal Motor Rearward Control | ||||
B | TN | 285 | Driver Seat Horizontal Motor Forward Control | ||||
| |||||||
|---|---|---|---|---|---|---|---|
Connector Part Information |
| ||||||
Pin | Wire Color | Circuit No. | Function | ||||
A | YE | 282 | Driver Seat Rear Vertical Motor Up Control | ||||
B | L-BU | 283 | Driver Seat Rear Vertical Motor Down Control | ||||
| |||||||
|---|---|---|---|---|---|---|---|
Connector Part Information |
| ||||||
Pin | Wire Color | Circuit No. | Function | ||||
A | YE | 286 | Driver Seat Vertical Motor Up Control | ||||
B | L-BU | 287 | Driver Seat Vertical Motor Down Control | ||||