GM Service Manual Online
For 1990-2009 cars only

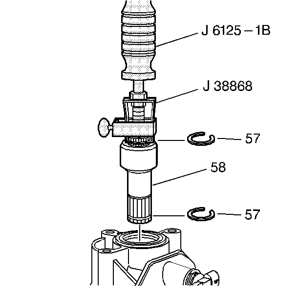
Tools Required

    • J 6125-1B Slide Hammer
    • J 38868 Shaft Remover

    Object Number: 20160  Size: SH

    Important: Handle the stub shaft carefully. The stub shaft sleeve is reusable if the sleeve is not damaged or removed from the stub shaft. Damage to the stub shaft sleeve will result in a transmission fluid leak.

  1. Remove and discard the snap ring (57) from the end of the stub shaft (58). The stub shaft snap ring is not reusable.
  2. Attach the J 6125-1B to the J 38868 . Install the J 38868 into the snap ring groove on the stub shaft (58). Tighten the J 38868 securely to the stub shaft.
  3. Pull lightly on the shaft and rotate it until the stub shaft snap ring at the differential seats in the taper on the differential side gear.
  4. Notice: Confirm that the stub shaft snap ring (57) is properly seated in the differential side gear. If not damage may occur to the transmission when you attempt to remove the stub shaft.

  5. Pull the stub shaft (58) out with the slide hammer impact.