GM Service Manual Online
For 1990-2009 cars only
Makes
🢒
Generic
🢒
2005
🢒
Unit Repair
🢒
Transmission/Transaxle
🢒
Automatic Transaxle - 4T40-E/4T45-E
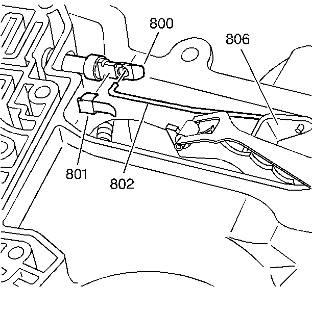
🢒 Manual Valve Clip Removal
Disconnect the manual valve clip (801) from the manual valve.
Notice:
Do not attempt to remove the manual valve, damage may occur.
Disconnect the manual valve link (802) from the manual valve.