GM Service Manual Online
For 1990-2009 cars only

    Object Number: 840849  Size: SH

    Notice: Use a piece of wood or rubber when prying with side cutters to remove the manual shaft pin, to prevent damage to the case.

  1. Use side cutting pliers in order to remove the manual shift shaft pin (801).

  2. Object Number: 840850  Size: SH
  3. Disconnect the manual valve link (402) from the IMS/detent lever assembly (811).
  4. Important: The IMS/detent lever (811) should be removed as an assembly.

  5. Remove the internal mode switch (IMS)/detent lever (811) and remove the park pawl actuator assembly (800).

  6. Object Number: 893329  Size: SH
  7. Position the transmission so that the reverse band servo bore is facing upward.
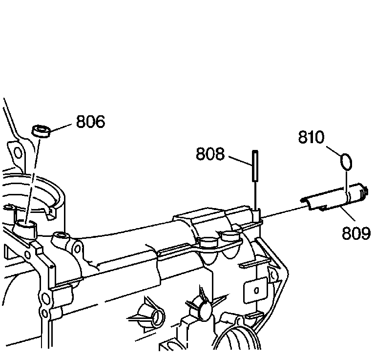
  8. Use a small screwdriver in order to pry the manual shift shaft seal (806) from the case.
  9. Remove the park pawl actuator guide pin (808).
  10. Remove the park pawl actuator guide assembly (809) from the case.
  11. Remove the actuator guide seal (810) from the guide.