GM Service Manual Online
For 1990-2009 cars only

    Object Number: 1742378  Size: SH
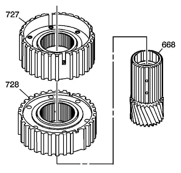
  1. Inspect the input sun gear (668) for the following:
  2. • Worn or damaged splines
    • Plugged lube holes or cracks

    Object Number: 897580  Size: SH

    Important: The third and input clutch pawl assemblies are serviced as assemblies.

  3. Inspect the third and input clutchs pawl for the following:
  4. • Worn or damaged splines
    • Wear or cracks
  5. Install the input clutch pawl assembly (728) onto the input sun gear shaft (668).
  6. Install the third clutch pawl assembly (727) onto the input sun gear (668).