GM Service Manual Online
For 1990-2009 cars only

Transmission Disassemble CTS and GTO

Extension Housing Removal

Tools Required

    • J 3289-20 Holding Fixture
    • J 39430 Transmission Holding Fixture

    Object Number: 1385053  Size: SH
  1. Remove the adapter plate bolts (1) and (2).

  2. Object Number: 1385057  Size: SH
  3. Install the J 39430  (2) .
  4. Mount the transmission on a workbench using the J 3289-20  (1) .
  5. Rotate the transmission into a horizontal position.
  6. Remove the transmission drain plug and drain the transmission fluid.
  7. Shift the transmission into NEUTRAL (N).

  8. Object Number: 1385061  Size: SH
  9. Remove the shifter cover plate bolts.
  10. Remove the shifter cover plate.

  11. Object Number: 1385063  Size: SH
  12. Remove the propshaft connector bolt.
  13. Remove the propshaft.

  14. Object Number: 1385059  Size: SH
  15. Remove the rear extension housing bolts and the rear extension housing.

Reverse Speed Gear Removal


    Object Number: 1385064  Size: SH
  1. Remove the shift guide rollpins.
  2. Remove the shift guide.
  3. Remove the shift shaft extension.

  4. Object Number: 1718918  Size: SH
  5. Remove the following parts in order:
  6. • The snap ring
    • The speed sensor rotor
    • The snap ring

    Object Number: 38233  Size: SH
  7. Remove the rear bearing retainer ring.
  8. Remove the spacer.
  9. Remove the mainshaft rear roller bearing.
  10. Remove the spacer.

  11. Object Number: 38238  Size: SH
  12. Remove the retainer ring.
  13. Remove the reverse gear thrust washer.
  14. Remove the reverse gear.
  15. Remove the reverse gear caged needle bearing.
  16. Remove the wave washer.
  17. Remove the reverse gear synchronizer blocking ring.

Reverse Shift Fork Removal


    Object Number: 388430  Size: SH
  1. Remove the reverse synchronizer retainer ring.

  2. Object Number: 388431  Size: SH
  3. Remove and discard the reverse shift fork retainer ring.

  4. Object Number: 4810  Size: SH
  5. Scribe a mark on the synchronizer hub and on the sleeve. This will help you to reinstall the parts in the same position.

  6. Object Number: 388432  Size: SH
  7. Remove the following parts in order:
  8. 4.1. The thrust washer
    4.2. The reverse synchronizer assembly and the shift fork

5th/6th Speed Driven Gear Removal

Tools Required

    • J 8433 Universal Bridge Puller
    • J 39431 Gear Remover and Bolts

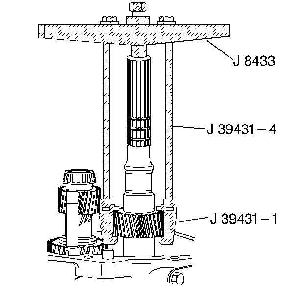
Object Number: 388433  Size: SH

Remove the 5th/6th speed driven gear. Use the J 8433 , the J 39431 and the J 39431-4.

Countershaft Extension Removal


    Object Number: 388434  Size: SH
  1. Remove the 5th/6th speed shift fork retainer ring.

  2. Object Number: 388437  Size: SH
  3. Rotate the transmission in the horizontal position with the guide plate up.
  4. Remove the countershaft extension assembly with the 5th/6th speed shift fork, 6th speed gear bearing spacer, 6th speed drive gear, and caged needle bearing. The 6th speed gear bearing spacer will slide out during removal of the countershaft extension assembly.

Transmission Case Removal

Tools Required

J 41099 Skip Shift Sensor Remover/ Installer


    Object Number: 1385065  Size: SH
  1. Remove the computer aided gear select solenoid.

  2. Object Number: 388460  Size: SH
  3. Remove the shift detent assembly.

  4. Object Number: 1385066  Size: SH
  5. Remove the shift detent plug, spring, and ball.

  6. Object Number: 1385067  Size: SH
  7. Remove 9 of the 11 adapter plate to transmission case bolts.
  8. Rotate the transmission into the vertical position.

  9. Object Number: 1385068  Size: SH
  10. Remove the last 2 adapter plate to transmission case bolts.
  11. Remove the shift lever guide bolts.

  12. Object Number: 1385069  Size: SH
  13. Remove the magnets from the transmission case.

  14. Object Number: 1385070  Size: SH
  15. Remove the transmission case and the offset lever together as follows:
  16. 9.1. Slide the transmission case up and off of the gear clusters and the shift shaft components.
    9.2. Hold the offset lever against the guide plate in order to prevent the release of the detent ball and the spring.
    9.3. Remove the offset lever from the transmission case.

Guide Plate Removal


    Object Number: 38317  Size: SH
  1. Remove the detent guide plate attaching bolts.
  2. Remove the detent guide plate.

Shift Shaft Assemblies and Gear Cluster Removal


    Object Number: 388439  Size: SH
  1. Rotate the 5th/6th and the reverse shift shaft levers off the shift interlock plate.
  2. Remove the 5th/6th and the reverse shift shaft assembly.

  3. Object Number: 388442  Size: SH
  4. Remove the countershaft. Lift up the mainshaft enough in order to remove the countershaft.

  5. Object Number: 388446  Size: SH
  6. Remove the mainshaft and the shift shaft components as an assembly.
  7. Important: When removing the shift shaft be careful not to lose the dowel pin.

  8. Remove the shift shaft assembly from the mainshaft.

  9. Object Number: 388448  Size: SH
  10. Remove the input shaft.

Transmission Disassemble Corvette MM6 and MZ6

Extension Housing Removal

Tools Required

    • J 3289-20 Holding Fixture
    • J 44395 Transmission Holding Fixture

    Object Number: 1538832  Size: SH
  1. Remove the auxiliary cooler pump bolt (2).
  2. Remove the auxiliary cooler pump (1) (MZ6 only).

  3. Object Number: 639703  Size: SH
  4. Remove the adapter plate bolts (1) and (2).

  5. Object Number: 74206  Size: SH
  6. Install the J 44395 .
  7. Mount the transmission on a workbench using the J 3289-20 .
  8. Rotate the transmission into a horizontal position.
  9. Remove the transmission drain plug and drain the transmission fluid.
  10. Shift the transmission into neutral (N).

  11. Object Number: 74203  Size: SH
  12. Remove the rear extension housing bolts and the rear extension housing.

Reverse Speed Gear Removal


    Object Number: 38233  Size: SH
  1. Remove the rear bearing retainer ring.
  2. Remove the spacer.
  3. Remove the mainshaft rear roller bearing.
  4. Remove the spacer.

  5. Object Number: 38238  Size: SH
  6. Remove the retainer ring.
  7. Remove the reverse gear thrust washer.
  8. Remove the reverse gear.
  9. Remove the reverse gear caged needle bearing.
  10. Remove the wave washer.
  11. Remove the reverse gear synchronizer blocking ring.

Reverse Shift Fork Removal


    Object Number: 388430  Size: SH
  1. Remove the reverse synchronizer retainer ring.

  2. Object Number: 388431  Size: SH
  3. Remove and discard the reverse shift fork retainer ring.

  4. Object Number: 4810  Size: SH
  5. Scribe a mark on the synchronizer hub and on the sleeve. This will help you to reinstall the parts in the same position.

  6. Object Number: 388432  Size: SH
  7. Remove the following parts in order:
  8. 4.1. The thrust washer
    4.2. The reverse synchronizer assembly and the shift fork

5th/6th Speed Driven Gear Removal

Tools Required

    • J 8433 Universal Bridge Puller
    • J 39431 Gear Remover and Bolts

Object Number: 388433  Size: SH

Remove the 5th/6th speed driven gear. Use the J 8433 , the J 39431 and the J 39431-4.

Countershaft Extension Removal


    Object Number: 388434  Size: SH
  1. Remove the 5th/6th speed shift fork retainer ring.

  2. Object Number: 388437  Size: SH
  3. Rotate the transmission in the horizontal position with the guide plate up.
  4. Remove the countershaft extension assembly with the 5th/6th speed shift fork, 6th speed gear bearing spacer, 6th speed drive gear, and caged needle bearing. The 6th speed gear bearing spacer will slide out during removal of the countershaft extension assembly.

Transmission Case Removal

Tools Required

J 41099 Skip Shift Sensor Remover/ Installer


    Object Number: 350553  Size: SH
  1. Remove the computer aided gear select solenoid.

  2. Object Number: 71530  Size: SH
  3. Remove the reverse lockout solenoid from the reverse lockout body. Use the J 41099 .

  4. Object Number: 1538825  Size: SH
  5. Remove the reverse lockout assembly bolt, reverse lockout body, and O-ring.

  6. Object Number: 1538826  Size: SH
  7. Remove the shifter cover plate retainer bolts.
  8. Remove the shifter cover plate.

  9. Object Number: 388460  Size: SH
  10. Remove the shift detent assembly.

  11. Object Number: 105692  Size: SH
  12. Remove 9 of the 11 adapter plate to transmission case bolts.
  13. Rotate the transmission into the vertical position.

  14. Object Number: 105690  Size: SH
  15. Remove the last 2 adapter plate to transmission case bolts.
  16. Remove the shift lever guide bolts.

  17. Object Number: 350556  Size: SH
  18. Remove the magnets from the transmission case.

  19. Object Number: 350558  Size: SH
  20. Remove the offset lever roll pin.

  21. Object Number: 388438  Size: SH
  22. Remove the transmission case and the offset lever together as follows:
  23. 13.1. Slide the transmission case up and off of the gear clusters and the shift shaft components.
    13.2. Hold the offset lever against the guide plate in order to prevent the release of the detent ball and the spring.
    13.3. Remove the offset lever from the transmission case.

Guide Plate Removal


    Object Number: 38317  Size: SH
  1. Remove the detent guide plate attaching bolts.
  2. Remove the detent guide plate.

Reverse Lockout Assembly Disassemble


    Object Number: 350562  Size: SH

    Caution: The reverse lockout assembly is under spring pressure. Exercise caution when removing the retainer ring, as bodily injury may result.

  1. Remove the O-ring (8) from the body (1).
  2. Remove the retainer ring (7) from the body (1).
  3. Remove the reverse lockout inner spring (2).
  4. Compress the reverse lockout plunger (6) and the collar (4) in a vise and remove the retainer ring (3).
  5. Remove the reverse lockout plunger (6).
  6. Remove the reverse lockout outer spring (5).
  7. Remove the reverse lockout collar (4).

Shift Shaft Assemblies and Gear Cluster Removal


    Object Number: 388439  Size: SH
  1. Rotate the 5th/6th and the reverse shift shaft levers off the shift interlock plate.
  2. Remove the 5th/6th and the reverse shift shaft assembly.

  3. Object Number: 388442  Size: SH
  4. Remove the countershaft. Lift up the mainshaft enough in order to remove the countershaft.

  5. Object Number: 388446  Size: SH
  6. Remove the mainshaft and the shift shaft components as an assembly.
  7. Important: When removing the shift shaft be careful not to lose the dowel pin.

  8. Remove the shift shaft assembly from the mainshaft.

  9. Object Number: 388448  Size: SH
  10. Remove the input shaft.