GM Service Manual Online
For 1990-2009 cars only

Special Tools

    • 83 90 114 Sleeve
    • 83 90 312 Drift, Bearing Race Input Shaft
    • 87 91 311 Sleeve, Bearing Driver Shaft
    • 87 92 210 Support, Differential Bearing
    • 87 92 236 Support
    • J 44809 Output Shaft Seal Installer

    Object Number: 895287  Size: SH
  1. Press in the new differential bearing race using the J 44809 . Use the 87 92 236 as a base for the pressing operation.

  2. Object Number: 895288  Size: SH
  3. Install the new axle using the J 44809 .

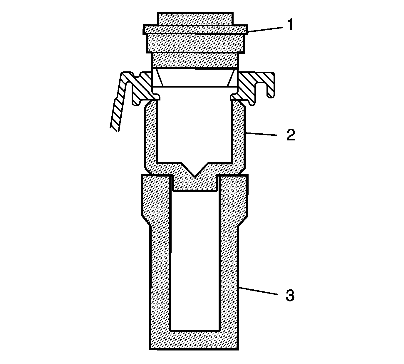
  4. Object Number: 1553681  Size: SH
  5. Press in the new input shaft bearing race using the 83 90 312  (1). Use the 83 90 114  (2) and the 87 91 311  (3) as a base for the pressing operation.