GM Service Manual Online
For 1990-2009 cars only

The equipment you'll need is in the trunk.

  1. Open the trunk. See Trunk for more information.
  2. Lift the handle on the spare tire cover. The handle may hook on the front edge of the trunk's weatherstrip to hold the cover out of the way.

  3. Object Number: 1505477  Size: B3
  4. Turn the wing nut counterclockwise and remove it. Then remove the compact spare tire. See Compact Spare Tire for more information.
  5. Remove the wing nut holding the jack in place.
  6. Remove the jack and wheel wrench from the trunk.

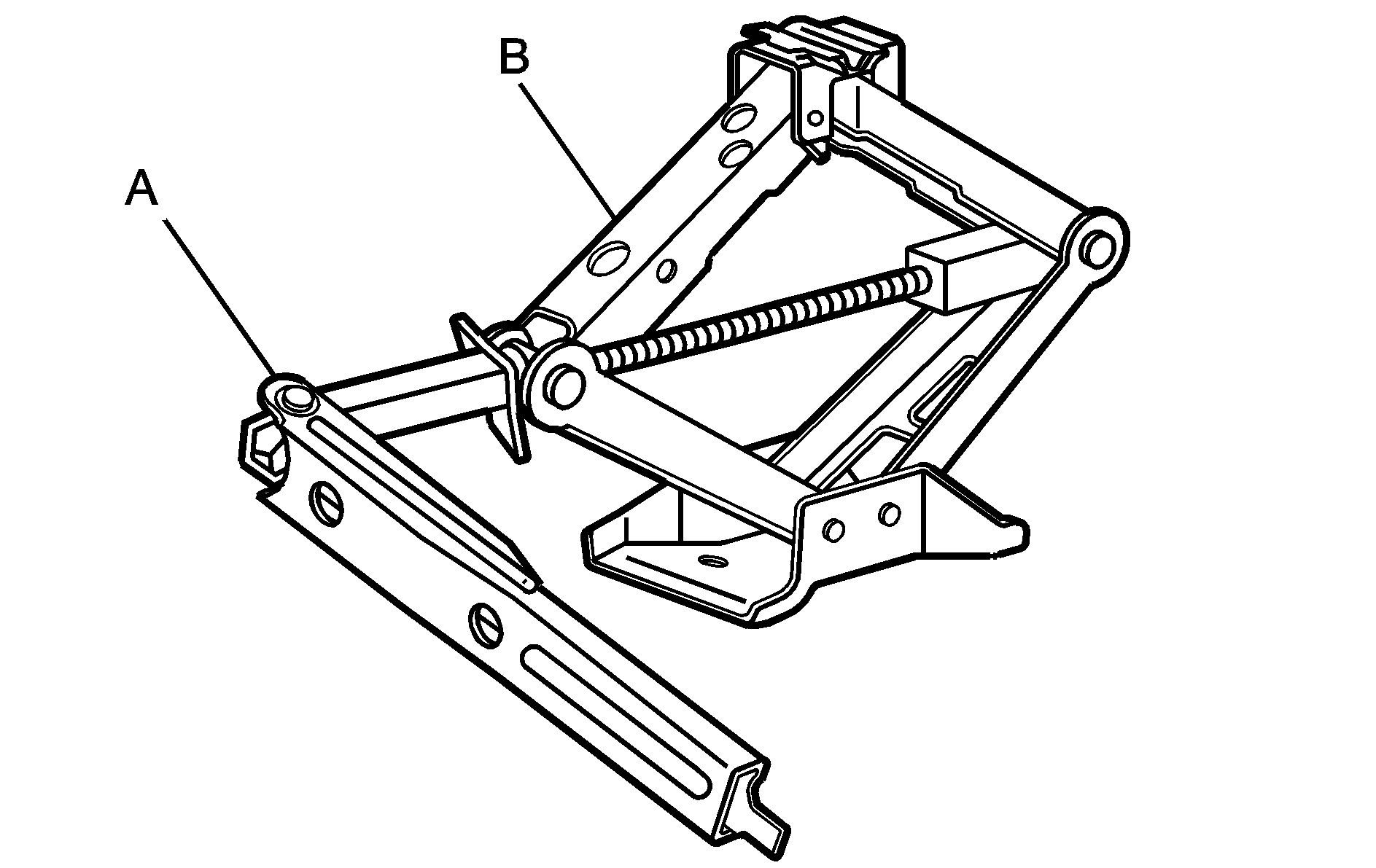
Object Number: 1226302  Size: B3

The tools you'll be using include the jack (A) and wheel wrench (B). The jack includes an additional extension.


    Object Number: 1225649  Size: B3
  1. Turn the plastic wing nut counterclockwise to loosen the wheel wrench.
  2. Unhook the wheel wrench from the jack.

  3. Object Number: 1225650  Size: B3
  4. Extend the handle on the wheel wrench by pressing the button with your index finger and pulling on the end of the wrench. You must do this before using the wheel wrench.

The equipment you will need is located in the trunk.

  1. Open the trunk. See Trunk for more information.
  2. Remove the convenience net if the vehicle has one.

  3. Object Number: 1508957  Size: B3
  4. Lift the handle on the spare tire cover. The handle may hook on the front edge of the trunk’s weatherstrip to hold the cover out of the way.

  5. Object Number: 1563962  Size: B3
  6. Turn the wing nut counterclockwise and remove it.
  7. Remove the compact spare tire.

  8. Object Number: 869060  Size: B3
  9. Turn the nut holding the jack counterclockwise and remove it. Then remove the jack and wrench.

Object Number: 869066  Size: B3

The tools you will need to change a tire include the jack (A), extension and protection guide (B), and wheel wrench (C).