GM Service Manual Online
For 1990-2009 cars only
Makes
🢒
Generic
🢒
2005
🢒
Unit Repair
🢒 05 Z Car GMX381 Brake Warning System Schematics
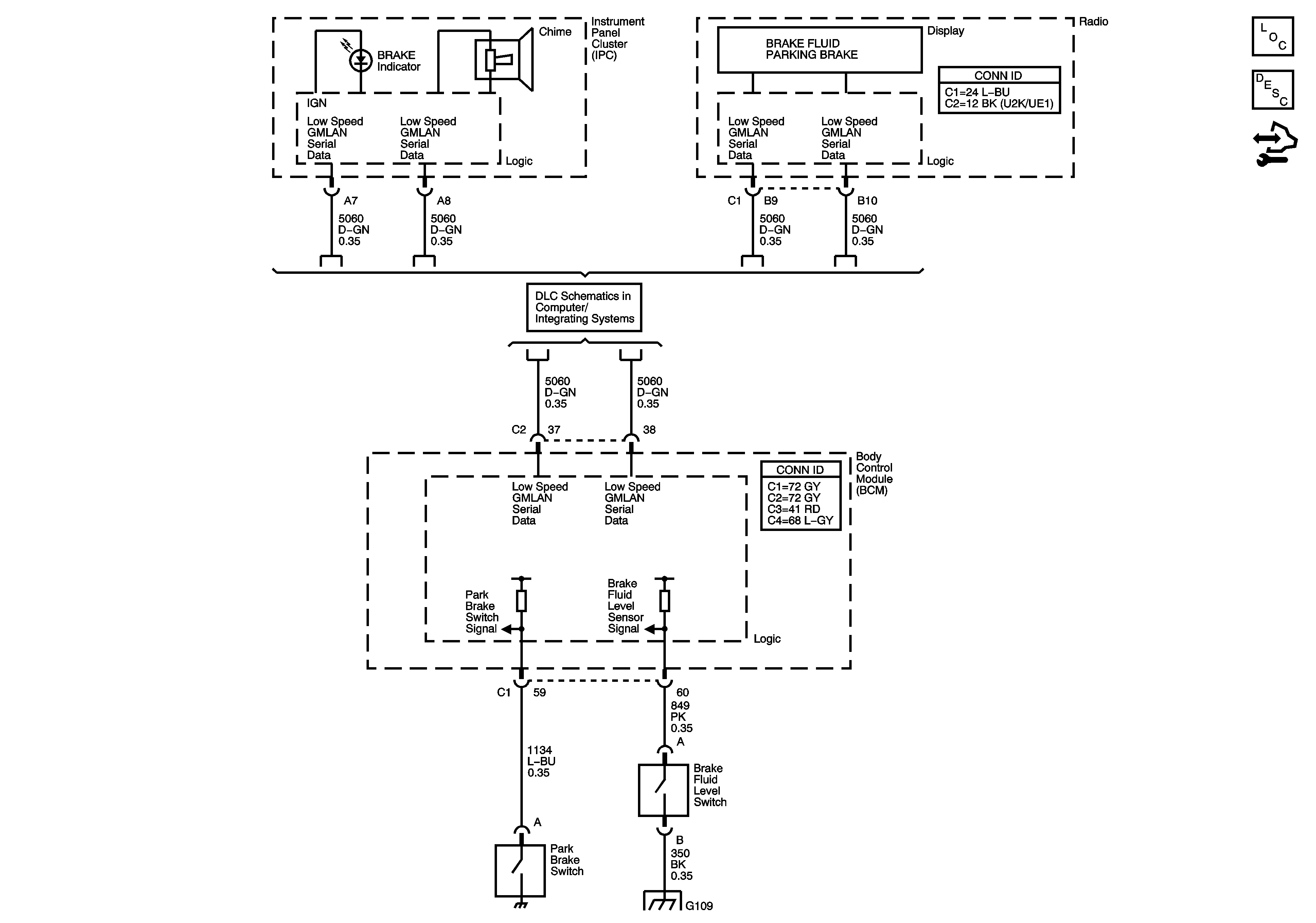
05 Z Car GMX381 Brake Warning System Schematics
Master Electrical Component List
Brake Warning System Description and Operation
Control Module References
Low Speed Serial Data
G109