GM Service Manual Online
For 1990-2009 cars only

Tools Required

J 35354-A Seal Installer

Removal Procedure

  1. Disconnect the negative battery cable. Refer to Battery Negative Cable Disconnection and Connection .
  2. Raise and support the vehicle. Refer to Lifting and Jacking the Vehicle .
  3. Drain the engine oil. Refer to Engine Oil and Oil Filter Replacement .
  4. Drain the cooling system. Refer to Cooling System Draining and Filling .
  5. Lower the vehicle.
  6. Loosen the water pump pulley bolts.
  7. Remove the drive belt tensioner. Refer to Drive Belt Tensioner Replacement .
  8. Remove the water pump pulley.

  9. Object Number: 282122  Size: SH
  10. Remove the power steering pump bolts and reposition the pump.
  11. Raise the vehicle.
  12. Remove the crankshaft balancer. Refer to Crankshaft Balancer Replacement .

  13. Object Number: 153586  Size: SH

    Important: Be careful not to damage the crankshaft.

  14. Pry out the crankshaft front oil seal with a flat-bladed tool such as a large screwdriver. Use care to avoid damaging the crankshaft front oil seal bore or the crankshaft front oil seal contact surfaces.
  15. Disconnect the electrical connectors from the following:
  16. • Camshaft position (CMP) sensor
    • Crankshaft position (CKP) sensor
    • Oil pressure sensor

    Object Number: 97731  Size: SH
  17. Remove the crankshaft position sensor shield.
  18. Remove the radiator outlet hose from the water pump. Refer to Radiator Outlet Hose Replacement .
  19. Lower the vehicle.
  20. Install the engine support fixture. Refer to Engine Support Fixture .
  21. Raise the vehicle.

  22. Object Number: 406039  Size: SH

    Important: The oil pan can be dropped slightly for engine front cover clearance if all pan bolts are loosened and the oil level sensor is removed.

  23. Remove the oil filter.
  24. Remove the engine mount bracket for oil pan access. Refer to Engine Front Mount Bracket Replacement .
  25. Disconnect the oil level sensor electrical connector.
  26. Remove the oil level sensor.
  27. Remove the oil pan-to-engine front cover bolts.
  28. Loosen the remaining oil pan bolts to gain access for the engine front cover removal. DO NOT remove the remaining oil pan bolts.

  29. Object Number: 97733  Size: SH
  30. Remove the crankshaft position sensor.

  31. Object Number: 97759  Size: SH
  32. Remove the engine front cover bolts.
  33. Remove the engine front cover with the oil filter adapter as one assembly.

  34. Object Number: 97758  Size: SH
  35. Remove the engine front cover gasket.

  36. Object Number: 406042  Size: SH
  37. If replacing the engine front cover, remove the oil filter adapter and pressure relief valve from the engine front cover.

  38. Object Number: 46177  Size: SH
  39. If replacing the engine front cover, remove the water pump from the engine front cover.

  40. Object Number: 153600  Size: SH
  41. If replacing the engine front cover, remove the oil pump cover and gear set from the engine front cover. Refer to Oil Pump Cover and Gear Set Replacement .
  42. Inspect the oil pump cover and gear set. Refer to Oil Pump Cleaning and Inspection .

  43. Object Number: 153587  Size: SH
  44. If replacing the engine front cover, remove the camshaft position sensor from the engine front cover.
  45. Inspect the timing chain for overall in and out movement. Maximum movement is 25.4 mm (1 in). Refer to Camshaft Timing Chain and Sprocket Cleaning and Inspection .
  46. Inspect the sprockets for wear.
  47. Inspect the oil pan gasket. Replace the oil pan gasket if necessary.
  48. Clean the engine front cover mating surfaces.

Installation Procedure


    Object Number: 153587  Size: SH
  1. If replacing the engine front cover, install the camshaft position sensor to the engine front cover.
  2. Notice: Refer to Fastener Notice in the Preface section.

  3. Install the camshaft position sensor bolt.
  4. Tighten
    Tighten the bolt to 10 N·m (89 lb in).


    Object Number: 153600  Size: SH
  5. If replacing the engine front cover, install the oil pump cover and gear set to the engine front cover. Refer to Oil Pump Cover and Gear Set Replacement .

  6. Object Number: 46177  Size: SH
  7. If replacing the engine front cover, install the water pump.
  8. Install and tighten the water pump bolts.
  9. Tighten

        • Tighten the long water pump bolts to 34 N·m (25 lb ft).
        • Tighten the short water pump bolts to 22 N·m (16 lb ft).

    Object Number: 406042  Size: SH
  10. If replacing the engine front cover, install the pressure relief valve, the oil filter adapter and the oil filter adapter bolts to the engine front cover.
  11. Tighten

    1. Tighten the bolts to 15 N·m (11 lb ft).
    2. Use the J 45059 to rotate the bolt an additional 50 degrees.

    Object Number: 97758  Size: SH
  12. Install the new engine front cover gasket. Ensure that the sealing surfaces are not damaged.
  13. Apply sealer to the bolt threads. Refer to Adhesives, Fluids, Lubricants, and Sealers for the correct part number.

  14. Object Number: 97759  Size: SH
  15. Align the cogs on the crankshaft sprocket with the cogs on the oil pump gear set in the engine front cover.
  16. Install the engine front cover to the engine.

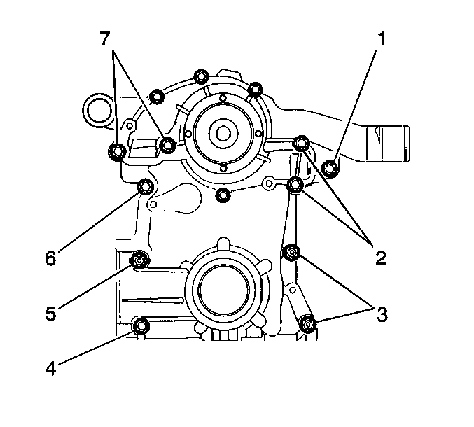
  17. Object Number: 153588  Size: SH
  18. Install the engine front cover bolts (1-7).
  19. Tighten

    1. Tighten the bolts to 20 N·m (15 lb ft).
    2. Use the J 45059 to rotate the bolt an additional 40 degrees.

    Object Number: 97733  Size: SH
  20. Install the crankshaft position sensor.
  21. Install the crankshaft position sensor studs.
  22. Tighten
    Tighten the studs to 30 N·m (22 lb ft).

  23. Install the oil pan-to-engine front cover bolts.
  24. Tighten
    Tighten the oil pan bolts to 14 N·m (125 lb in).

  25. Install the oil level sensor.
  26. Tighten
    Tighten the sensor to 20 N·m (15 lb ft).

  27. Connect the oil level sensor electrical connector.
  28. Install the engine mount bracket. Refer to Engine Front Mount Bracket Replacement .
  29. Install the water pump pulley and bolts.
  30. Tighten
    Tighten the bolts to 13 N·m (116 lb in).

  31. Install the radiator outlet hose to the water pump. Refer to Radiator Outlet Hose Replacement .

  32. Object Number: 153591  Size: SH
  33. Install the oil filter. Install the engine oil pan drain plug. Refer to Engine Oil and Oil Filter Replacement .

  34. Object Number: 153590  Size: SH
  35. Install the new engine front cover seal using J 35354 .
  36. Tighten the bolt until the crankshaft front oil seal is seated in the engine front cover.
  37. Remove the J 35354 .

  38. Object Number: 97731  Size: SH
  39. Install the crankshaft position sensor shield.
  40. Connect the electrical connectors to the following:
  41. • Oil pressure sensor
    • Crankshaft position (CKP) sensor
    • Camshaft position (CMP) sensor
  42. Install the crankshaft balancer. Refer to Crankshaft Balancer Replacement .
  43. Lower the vehicle.

  44. Object Number: 282122  Size: SH
  45. Install the power steering pump and the bolts.
  46. Tighten
    Tighten the bolts to 34 N·m (25 lb ft).

  47. Remove the engine support fixture.
  48. Install the drive belt tensioner. Refer to Drive Belt Tensioner Replacement .
  49. Fill the cooling system. Refer to Cooling System Draining and Filling .
  50. Fill the crankcase with engine oil. Refer to Engine Oil and Oil Filter Replacement .
  51. Connect the negative battery cable. Refer to Battery Negative Cable Disconnection and Connection .
  52. Inspect for leaks.
  53. Perform the CKP system variation learn procedure. Refer to Crankshaft Position System Variation Learn .