GM Service Manual Online
For 1990-2009 cars only

Removal Procedure

Notice: Cap the fittings and plug the holes when servicing the fuel system in order to prevent dirt and other contaminants from entering the open pipes and passages.

Important: Always maintain cleanliness when servicing fuel system components.

  1. Drain the fuel tank. Refer to Fuel Tank Draining.
  2. Remove the fuel filler cap.

  3. Object Number: 186665  Size: SH
  4. Remove the fuel filler pipe screws from the fuel filler pocket.

  5. Object Number: 186674  Size: SH
  6. Raise and support the vehicle. Refer to Lifting and Jacking the Vehicle.
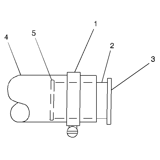
  7. Loosen the fuel filler hose clamp (1) at the fuel filler pipe (2).

  8. Object Number: 699550  Size: SH
  9. Remove the fuel filler pipe screw from the under body.
  10. Remove the fuel filler pipe.

Installation Procedure


    Object Number: 699550  Size: SH
  1. Install the fuel filler pipe.
  2. Notice: Refer to Fastener Notice in the Preface section.

  3. Install the fuel tank filler pipe screw to the under body.
  4. Tighten
    Tighten the screw to 13 N·m (115 lb in).


    Object Number: 186674  Size: SH
  5. Install the filler hose (4) to the fuel fill pipe (2).
  6. Inspect and ensure the filler hose (4) is fully seated on the fuel tank port and the fuel filler pipe (2).

  7. Ensure the clamp (1) is properly located on the tank port between the bead (5) and the pipe (3).
  8. Tighten
    Tighten the fuel tank filler pipe hose clamp to 2.5 N·m (22 lb in).

  9. Lower the vehicle.

  10. Object Number: 186665  Size: SH
  11. Install the fuel filler pipe screws to the fuel filler pipe access panel.
  12. Tighten
    Tighten the screws to 2.5 N·m (22 lb in).

  13. Add fuel and install the fuel fill cap.