GM Service Manual Online
For 1990-2009 cars only

Vehicle

Suspension

RPO

D (Curb)

J (Curb)

K (Curb)

Z (Curb)

Buick 4 Door

FE1

273 mm (10.7 in)

238 mm (9.4 in)

232 mm (9.1 in)

48 mm (1.9 in)

FE2

273 mm (10.7 in)

237 mm (9.3 in)

235 mm (9.3 in)

48 mm (1.9 in)

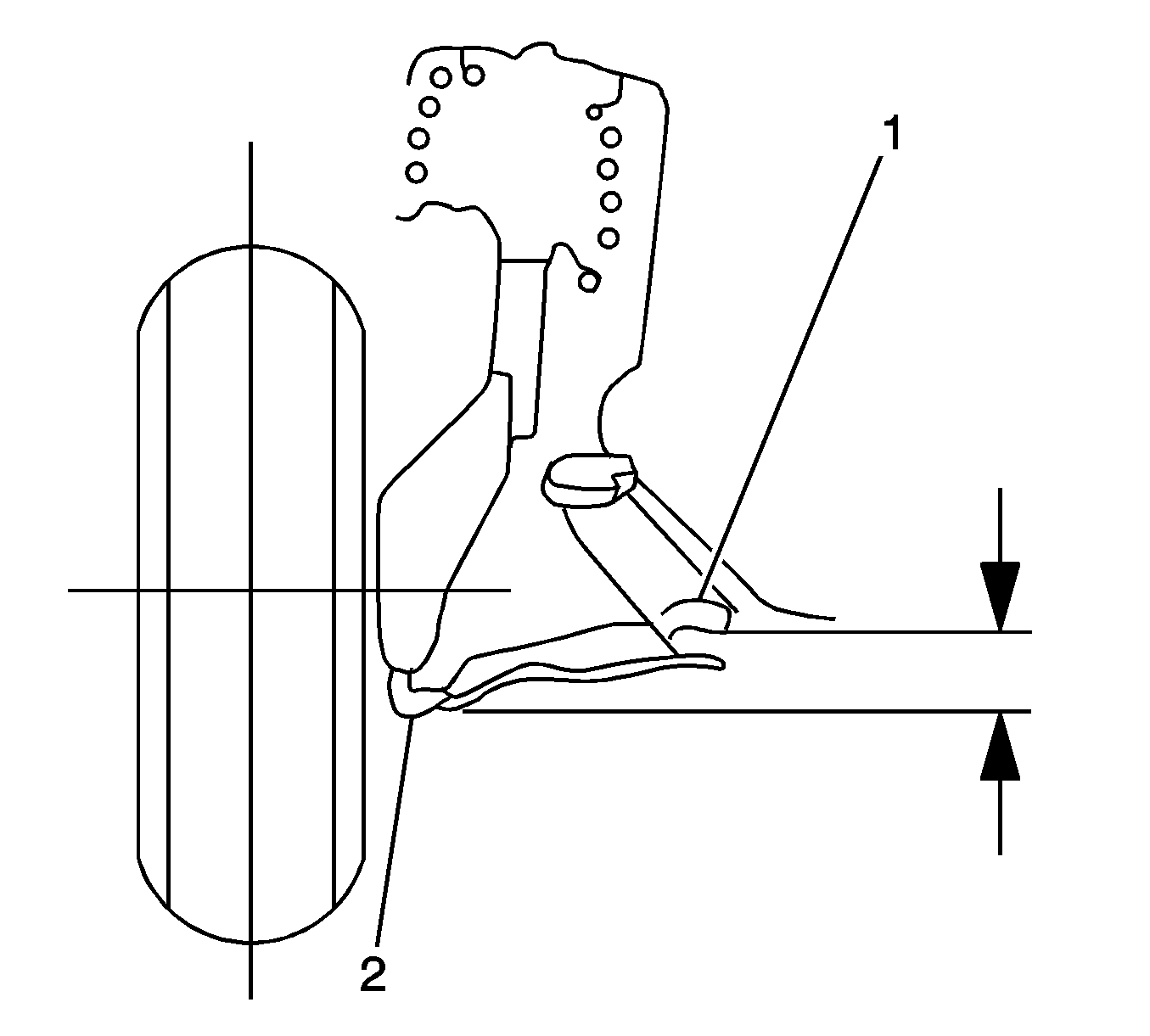
Measuring Z Height


Object Number: 186754  Size: SH

The Z Height is measured in line with the wheel center:

    • 1 represents the center of the rear bushing bolt.
    • 2 represents the lowest inboard point on the ball.

Measuring D Height


Object Number: 236112  Size: SH

The D Height (represented as 1 on the figure) is measured from a point 30 mm outboard of the rear brake hose bracket bolt centerline to the bolt of the trailing arm to the steering knuckle.

Measuring J or K Height


Object Number: 186760  Size: MH