GM Service Manual Online
For 1990-2009 cars only

Removal Procedure

    Caution: Refer to Approved Equipment for Collision Repair Caution in the Preface section.


    Object Number: 314509  Size: SH

    Important: Sectioning procedures have been developed to simplify repair of the lower rails, providing the majority of the damage can be returned to factory specifications. This allows the damaged front section to be replaced without performing a full rail replacement. The rails are manufactured with die marks (1) inboard and outboard to indicate the location for the sectioning joint.

    Important: If the damage exceeds the recommended area for sectioning and the rail cannot be straightened, the complete rail must be replaced.

  1. Disable the SIR system. Refer to SIR Disabling and Enabling in SIR.
  2. Disconnect the negative battery cable. Refer to Battery Negative Cable Disconnection and Connection in Engine Electrical.
  3. Remove all related panels and components.
  4. Repair as much of the damage as possible to factory specifications. Refer to Dimensions - Body .
  5. Caution: Refer to Foam Sound Deadeners Caution in the Preface section.

  6. Note the location and remove the sealers and anti-corrosion materials from the repair area, as necessary. Refer to Anti-Corrosion Treatment and Repair in Paint and Coatings.
  7. Remove the radiator support. Refer to Radiator Support Replacement .
  8. Remove the front wheelhouse. Refer to Front Wheelhouse Replacement .
  9. Important: It is not necessary to completely remove the powertrain or engine cradle for rail sectioning.

  10. Support the powertrain assembly.
  11. Position the cradle away from the rail.

  12. Object Number: 314511  Size: SH
  13. Locate the die mark on the inboard and the outboard sides of the front rail.
  14. Align a straight edge to the forward edge of the die marks and scribe a line around the rail.

  15. Object Number: 314513  Size: SH
  16. Cut and remove the damaged section of the rail.

Installation Procedure


    Object Number: 314515  Size: SH
  1. Locate the die mark on the inboard and the outboard sides of the front service rail.
  2. Align a straight edge to the rearward edge of the die marks and scribe a line around the rail.
  3. Cut the service part along the marked lines. Leave 20 mm (3/4 in) added lengths to the service part for sectioning overlap.

  4. Object Number: 314519  Size: SH
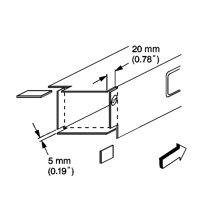
  5. Cut and remove approximately 20 mm (3/4 in) of the outboard and downward turned flanges of the service part.
  6. Cut 5 mm (3/16 in) along the corners of the service part to create tabs on the 4 sides of the rail.

  7. Object Number: 314526  Size: SH
  8. Step the top, bottom and side tabs inward to allow the service part to fit inside the original rail.
  9. Welds the tabs together along the corners of the service part (1).

  10. Object Number: 314527  Size: SH
  11. Drill 8 mm (5/16 in) plug weld holes in the top, bottom and sides of the original approximately 10 mm (3/8 in) from the sectioning cut.
  12. Clean and prepare the mating surfaces as necessary.
  13. Position the stepped tabs of the modified service part inside the original rail.
  14. Plug weld accordingly.
  15. Inspect the measurements frequently to ensure proper fit and alignment.

  16. Object Number: 314528  Size: SH
  17. Make 25-mm (1-in) welds along the seam with 25-mm (1-in) gaps between them.
  18. Go back and complete the stitch weld. This will create a solid joint with minimal heat distortion.
  19. Install the radiator support. Refer to Radiator Support Replacement .
  20. Install the front wheelhouse. Refer to Front Wheelhouse Replacement .
  21. Clean and prepare all welded surfaces.
  22. Apply the sealers and anti-corrosion materials to the repair area, as necessary. Refer to Anti-Corrosion Treatment and Repair in Paint and Coatings.
  23. Paint the repair area. Refer to Basecoat/Clearcoat Paint Systems in Paint and Coatings.
  24. Install all related panels and components.
  25. Connect the negative battery cable. Refer to Battery Negative Cable Disconnection and Connection in Engine Electrical.
  26. Enable the SIR system. Refer to SIR Disabling and Enabling in SIR.