GM Service Manual Online
For 1990-2009 cars only

Removal Procedure

    Caution: Refer to Approved Equipment for Collision Repair Caution in the Preface section.


    Object Number: 314545  Size: SH

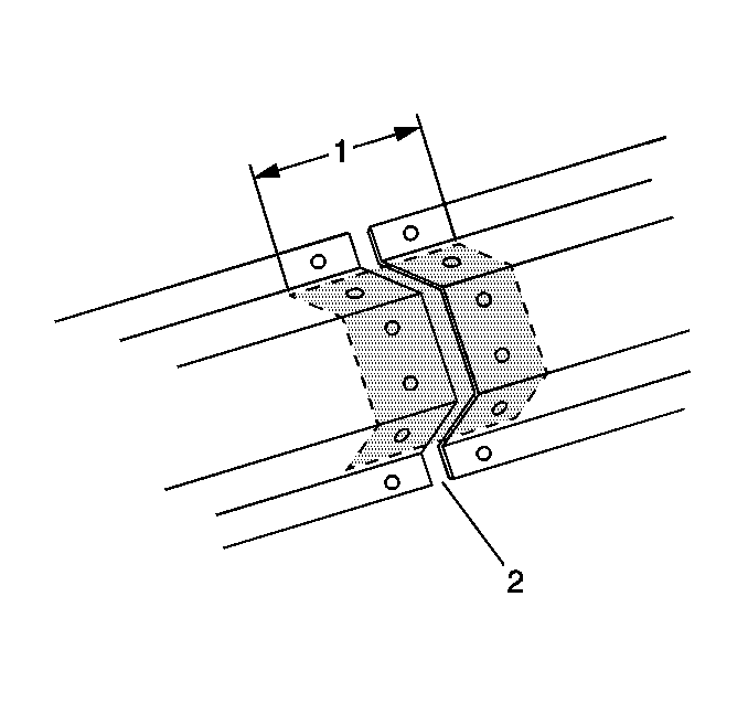
    Important: Sectioning the outer rocker panel requires a 100 mm (4 in) backing plate for reinforcement (1). Do not perform sectioning on key structural areas on the outer rocker panel. Sectioning in these areas may compromise the structural integrity of the vehicle.

  1. Sectioning of the inner reinforcement panel can only take place with the outer door frame replacement or sectioning procedures. Section of the outer door frame at the front hinge pillar requires a 40 mm (1 9/16 in) offset from the inner reinforcement sectioning joint. The inner reinforcement can serve as a backing plate for the outer panel sectioning.
  2. Disable the SIR system. Refer to SIR Disabling and Enabling in SIR.

  3. Disconnect the negative battery cable. Refer to Battery Negative Cable Disconnection and Connection in Engine Electrical.
  4. Remove all related panels and components.
  5. Repair as much of the damage as possible to factory specifications. Refer to Dimensions - Body .
  6. Caution: Refer to Foam Sound Deadeners Caution in the Preface section.

  7. Note the location and remove the sealers and anti-corrosion materials from the repair area, as necessary. Refer to Anti-Corrosion Treatment and Repair in Paint/Coatings.
  8. Remove the door assembly. Refer to Front Side Door Replacement .

  9. Object Number: 399884  Size: SH
  10. On the original outer door frame (1) measure down from the large wiring harness hole in the pillar 40 mm (1 9/16 in) and mark a horizontal line.
  11. Cut the outer door frame along this line for sectioning.
  12. Perform additional sectioning procedures as necessary to remove damaged areas of the door frame opening.
  13. Locate, mark, and drill out all necessary factory welds. Note the number of the welds for installation of the service panel (2).
  14. Remove the damaged section of the door frame opening.

Installation Procedure

  1. On the service part (2), mark a horizontal line to leave a gap of one and one-half times the thickness of the metal at the section joint.
  2. Cut the service panel along this line.
  3. Drill 8 mm (5/16 in) holes for plug welding in the service part in the locations noted from the original panel.

  4. Object Number: 399884  Size: SH
  5. Drill holes for plug welding along the sectioning cut on the service part (2).
  6. Locate these holes approximately 13 mm (½ in) from the edge of the sectioning cut.
  7. Use the inner reinforcement (3) as a backing plate.
  8. Apply 3M® Weld-Thru Coating P/N 05916 or equivalent to all mating surfaces.
  9. Stitch weld along the entire joint (3).
  10. Make 25 mm (1 in) gaps between.
  11. Go back and complete the stitch weld. This will create a solid joint with minimal heat distortion.
  12. Complete all other welds and sectioning procedures as necessary.
  13. Clean and prepare all welded surfaces.
  14. Apply the sealers and anti-corrosion materials to the repair area, as necessary. Refer to Anti-Corrosion Treatment and Repair in Paint/Coatings.
  15. Paint the repaired area. Refer to Basecoat/Clearcoat Paint Systems in Paint/Coatings.
  16. Install the door assembly. Refer to Front Side Door Replacement .
  17. Install all related panels and components.
  18. Connect the negative battery cable. Refer to Battery Negative Cable Disconnection and Connection in Engine Electrical.
  19. Enable the SIR system. Refer to SIR Disabling and Enabling .