GM Service Manual Online
For 1990-2009 cars only

Removal Procedure

  1. Disable the SIR system. Refer to SIR Disabling and Enabling in SIR.
  2. Disconnect the negative battery cable. Refer to Battery Negative Cable Disconnection and Connection in Engine Electrical.
  3. Remove all related panels and components.
  4. Repair as much of the damage as possible to factory specifications. Refer to Dimensions - Body
  5. Note the location and remove the sealers and anti-corrosion materials from the repair area, as necessary. Refer to Anti-Corrosion Treatment and Repair in Paint and Coatings.
  6. Remove the front outer hinge pillar. Refer to Front Hinge Pillar Sectioning .

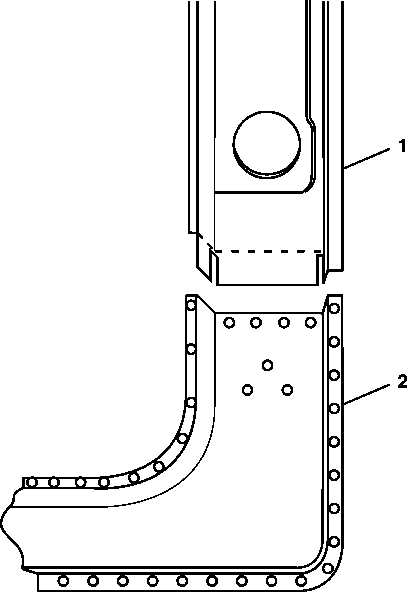
  7. Object Number: 314549  Size: SH
  8. On the original reinforcement panel (1) measure 120 mm (4 in) down from the large wiring harness hole in the hinge pillar and mark a horizontal line.
  9. Cut the inner reinforcement along this line.
  10. Locate, mark, and drill out all factory welds, as necessary. Note the number and location of welds for installation of the service part.
  11. Remove the damaged section of the inner reinforcement (2).

Installation Procedure


    Object Number: 314551  Size: SH
  1. Cut and remove 30 mm (1 3/16 in) From the flanges on either side of the remaining section of the original hinge pillar to create a 30-mm (1 3/16-in) flange.
  2. Cut 5-mm (3/16-in) wide gaps in the bottom corners.

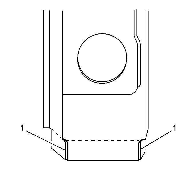
  3. Object Number: 314596  Size: SH
  4. Step the tabs inward to allow the door frame inner reinforcement service section to fit over the original inner reinforcement.
  5. Weld the tabs together along the edges (1).

  6. Object Number: 314553  Size: SH
  7. On the service part (1) measure 90 mm (3 in) down from the large wiring harness hole in the hinge pillar and mark a horizontal line.
  8. Cut the hinge pillar reinforcement along this line.

  9. Object Number: 314555  Size: SH
  10. Drill 8 mm (5/16 in) plug weld holes as necessary in the locations noted from the original panel.
  11. Drill plug weld holes along the sectioning cut of the service part (2). These holes should be located approximately 15 mm (9/16 in) from the edge of the cut.
  12. Prepare mating surfaces.
  13. Apply 3M® Weld-Thru coating P/N 05916 or equivalent to all mating surfaces.
  14. Position the service section (2) over the stepped tab on the original inner reinforcement (1) allowing 30 mm (1 3/16 in) of overlap.
  15. Inspect and verify that the door hinge bolt holes are properly located.
  16. Plug weld accordingly.

  17. Object Number: 314556  Size: SH
  18. Stitch weld along the entire joint with 25-mm (1-in) gaps between the welds.
  19. Go back and complete the stitch weld. This will create a solid joint with minimal heat distortion.
  20. Install the front outer hinge panel. Refer to Front Hinge Pillar Sectioning .
  21. Clean and prepare all welded surfaces.
  22. Apply the sealers and anti-corrosion materials to the repair area, as necessary. Refer to Anti-Corrosion Treatment and Repair in Paint and Coatings.
  23. Paint the repair area. Refer to Basecoat/Clearcoat Paint Systems in Paint and Coatings.
  24. Install all related panels and components.
  25. Connect the negative battery cable. Refer to Battery Negative Cable Disconnection and Connection in Engine Electrical.
  26. Enable the SIR system. Refer to SIR Disabling and Enabling in SIR.