GM Service Manual Online
For 1990-2009 cars only
Connector 1: Door Lock - Driver
Connector 2: Door Lock - Front Passenger
Connector 3: Door Lock - LR
Connector 4: Door Lock - RR
Connector 5: Door Lock Switch - Driver
Connector 6: Door Lock Switch - Front Passenger
Connector 7: Outside Rearview Mirror Motor - Driver
Connector 8: Outside Rearview Mirror Motor - Passenger
Connector 9: Outside Rearview Mirror Switch
Connector 10: Window Motor - Driver
Connector 11: Window Motor - Front Passenger
Connector 12: Window Motor - LR
Connector 13: Window Motor - RR
Connector 14: Window Switch - Driver C1
Connector 15: Window Switch - Driver C2
Connector 16: Window Switch - Front Passenger
Connector 17: Window Switch - LR
Connector 18: Window Switch - RR

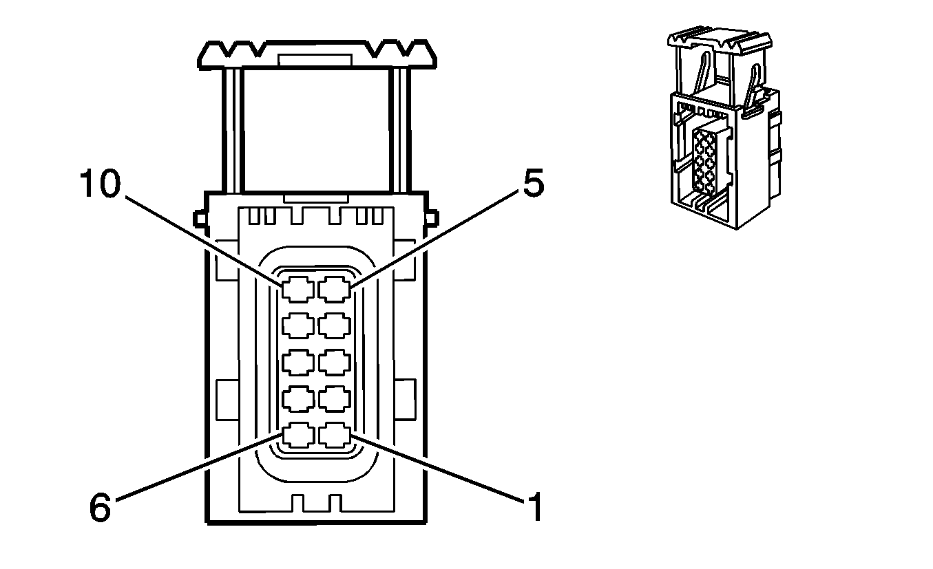
Door Lock - Driver


Object Number: 845631  Size: CH

Connector Part Information

  • OEM: 10768367
  • Service: 88986248
  • Description: 10-Way F Micro Timer 3 Series Sealed (BK)

Terminal Part Information

  • Pins: 2- 4, 6- 9
  • Terminal/Tray: 964274-2/16
  • Core/Insulation Crimp: E/1
  • Release Tool/Test Probe: J-38125-560/J-35616-33 (YE)

Door Lock - Driver

Pin

Wire Color

Circuit No.

Function

1

--

--

Not Used

2

TN

694

Driver Door Lock Actuator Unlock Control

3

GY

295

Door Lock Actuator Lock Control

4

L-GN

1123

Door Lock Key Switch Lock Signal

5

--

--

Not Used

6

GY/BK

745

Left Front Door Ajar Switch Signal

7

TN

126

Left Front Door Open Switch Signal

8

BK

550

Ground

9

PU

1124

Door Lock Key Switch Unlock Signal

10

--

--

Not Used

Door Lock - Front Passenger


Object Number: 845632  Size: CH

Connector Part Information

  • OEM: 10768369
  • Service: 88986251
  • Description: 6-Way F Micro Timer 3 Series Sealed (BK)

Terminal Part Information

  • Pins: 1- 3, 5, 6
  • Terminal/Tray: See Terminal Repair Kit
  • Core/Insulation Crimp: See Terminal Repair Kit
  • Release Tool/Test Probe: See Terminal Repair Kit

Door Lock - Front Passenger

Pin

Wire Color

Circuit No.

Function

1

BK/WH

746

Right Front Door Ajar Switch Signal

2

L-GN

1177

Right Front Door Open Switch Signal

3

BK

750

Ground

4

--

--

Not Used

5

TN

294

Door Lock Actuator Unlock Control

6

GY

295

Door Lock Actuator Lock Control

Door Lock - LR


Object Number: 845632  Size: CH

Connector Part Information

  • OEM: 10768369
  • Service: 88986251
  • Description: 6-Way F Micro Timer 3 Series Sealed (BK)

Terminal Part Information

  • Pins: 2- 6
  • Terminal/Tray: See Terminal Repair Kit
  • Core/Insulation Crimp: See Terminal Repair Kit
  • Release Tool/Test Probe: See Terminal Repair Kit

Door Lock - LR

Pin

Wire Color

Circuit No.

Function

1

--

--

Not Used

2

TN

294

Door Lock Actuator Unlock Control

3

GY

295

Door Lock Actuator Lock Control

4

L-BU/BK

747

Left Rear Door Ajar Switch Signal

5

D-BU/WH

1179

Left Rear Door Open Switch Signal

6

BK

550

Ground

Door Lock - RR


Object Number: 845632  Size: CH

Connector Part Information

  • OEM: 10768369
  • Service: 88986251
  • Description: 6-Way F Micro Timer 3 Series Sealed (BK)

Terminal Part Information

  • Pins: 1- 3, 5, 6
  • Terminal/Tray: See Terminal Repair Kit
  • Core/Insulation Crimp: See Terminal Repair Kit
  • Release Tool/Test Probe: See Terminal Repair Kit

Door Lock - RR

Pin

Wire Color

Circuit No.

Function

1

L-GN/BK

748

Right Rear Door Ajar Switch Signal

2

YE/BK

1181

Right Rear Door Open Switch Signal

3

BK

750

Ground

4

--

--

Not Used

5

TN

294

Door Lock Actuator Unlock Control

6

GY

295

Door Lock Actuator Lock Control

Door Lock Switch - Driver


Object Number: 130714  Size: CH

Connector Part Information

  • OEM: 12124997
  • Service: 12167130
  • Description: 5-Way F Metri-Pack 150 Series Right Angle (BK)

Terminal Part Information

  • Pins: A
  • Terminal/Tray: 12103359/18
  • Core/Insulation Crimp: E/C
  • Release Tool/Test Probe: 12094429/J-35616-2A (GY)
  • Pins: B, D, E
  • Terminal/Tray: See Terminal Repair Kit
  • Core/Insulation Crimp: See Terminal Repair Kit
  • Release Tool/Test Probe: See Terminal Repair Kit

Door Lock Switch - Driver

Pin

Wire Color

Circuit No.

Function

A

GY

8

Instrument Panel Lamp Supply Voltage

B

BK

550

Ground

C

--

--

Not Used

D

RD/BK

780

Driver Door Lock Switch Lock Signal

E

OG/BK

781

Driver Door Lock Switch Unlock Signal

Door Lock Switch - Front Passenger


Object Number: 130714  Size: CH

Connector Part Information

  • OEM: 12124997
  • Service: 12167130
  • Description: 5-Way F Metri-Pack 150 Series Right Angle (BK)

Terminal Part Information

  • Pins: A, B, D, E
  • Terminal/Tray: 12103359/18
  • Core/Insulation Crimp: E/C
  • Release Tool/Test Probe: 12094429/J-35616-2A (GY)

Door Lock Switch - Front Passenger

Pin

Wire Color

Circuit No.

Function

A

GY

8

Instrument Panel Lamp Supply Voltage

B

BK

750

Ground

C

--

--

Not Used

D

L-BU

244

Passenger Door Lock Switch Lock Signal

E

D-BU

245

Passenger Door Lock Switch Unlock Signal

Outside Rearview Mirror Motor - Driver


Object Number: 1527223  Size: CH

Connector Part Information

  • OEM: 15396848
  • Service: 88988323
  • Description: 6-Way F Metri-Pack 150 Series (BK)

Terminal Part Information

  • Pins: 1- 5
  • Terminal/Tray: 12064971/5
  • Core/Insulation Crimp: E/C
  • Release Tool/Test Probe: 12094429/J-35616-2A (GY)

Outside Rearview Mirror Motor - Driver

Pin

Wire Color

Circuit No.

Function

1

YE

88

Driver Mirror Motor Up Control

2

L-GN

1499

Driver Mirror Motor Left/Down Control

3

WH

81

Driver Mirror Motor Right Control

4

OG

267

Heated Mirror Element Supply Voltage

5

BK

550

Ground

6

--

--

Not Used

Outside Rearview Mirror Motor - Passenger


Object Number: 1527223  Size: CH

Connector Part Information

  • OEM: 15396848
  • Service: 88988323
  • Description: 6-Way F Metri-Pack 150 Series (BK)

Terminal Part Information

  • Pins: 1-3, 5
  • Terminal/Tray: See Terminal Repair Kit
  • Core/Insulation Crimp: See Terminal Repair Kit
  • Release Tool/Test Probe: See Terminal Repair Kit
  • Pins: 4
  • Terminal/Tray: 12064971/5
  • Core/Insulation Crimp: E/C
  • Release Tool/Test Probe: 12094429/J-35616-2A (GY)

Outside Rearview Mirror Motor - Passenger

Pin

Wire Color

Circuit No.

Function

1

BN/WH

1498

Passenger Mirror Motor Up Control

2

L-BU/WH

1497

Passenger Mirror Motor Left/Down Control

3

RD/WH

881

Passenger Mirror Motor Right Control

4

OG

267

Heated Mirror Element Supply Voltage

5

BK

750

Ground

6

--

--

Not Used

Outside Rearview Mirror Switch


Object Number: 62464  Size: CH

Connector Part Information

  • OEM: 12064769
  • Service: 12101762
  • Description: 10-Way F Metri-Pack 150 Series (NA)

Terminal Part Information

  • Pins: B- K
  • Terminal/Tray: See Terminal Repair Kit
  • Core/Insulation Crimp: See Terminal Repair Kit
  • Release Tool/Test Probe: See Terminal Repair Kit

Outside Rearview Mirror Switch

Pin

Wire Color

Circuit No.

Function

A

--

--

Not Used

B

BK

550

Ground

C

L-BU/WH

1497

Passenger Mirror Motor Left/Down Control

D

WH

81

Driver Mirror Motor Right Control

E

GY

8

Instrument Panel Lamp Supply Voltage

F

YE

88

Driver Mirror Motor Up Control

G

OG

840

Battery Positive Voltage

H

L-GN

1499

Driver Mirror Motor Left/Down Control

J

RD/WH

881

Passenger Mirror Motor Right Control

K

BN/WH

1498

Passenger Mirror Motor Up Control

Window Motor - Driver


Object Number: 684837  Size: CH

Connector Part Information

  • OEM: 12129487
  • Service: 12129487
  • Description: 2-Way F Metri-Pack 280 Series Flexlock Sealed (GY)

Terminal Part Information

  • Terminal/Tray: 12110845/4
  • Core/Insulation Crimp: A/5
  • Release Tool/Test Probe: 15315247/J-35616-4A (PU)

Window Motor - Driver

Pin

Wire Color

Circuit No.

Function

A

D-BU

164

Power Window Motor Left Front Up Control

B

BN

165

Power Window Motor Left Front Down Control

Window Motor - Front Passenger


Object Number: 684837  Size: CH

Connector Part Information

  • OEM: 12129487
  • Service: 12129487
  • Description: 2-Way F Metri-Pack 280 Series Flexlock Sealed (GY)

Terminal Part Information

  • Terminal/Tray: See Terminal Repair Kit
  • Core/Insulation Crimp: See Terminal Repair Kit
  • Release Tool/Test Probe: See Terminal Repair Kit

Window Motor - Front Passenger

Pin

Wire Color

Circuit No.

Function

A

D-BU

666

Power Window Motor Right Front Up Control

B

BN

667

Power Window Motor Right Front Down Control

Window Motor - LR


Object Number: 684837  Size: CH

Connector Part Information

  • OEM: 12129487
  • Service: 12129487
  • Description: 2-Way F Metri-Pack 280 Series Flexlock Sealed (GY)

Terminal Part Information

  • Terminal/Tray: See Terminal Repair Kit
  • Core/Insulation Crimp: See Terminal Repair Kit
  • Release Tool/Test Probe: See Terminal Repair Kit

Window Motor - LR

Pin

Wire Color

Circuit No.

Function

A

D-BU

668

Power Window Motor Left Rear Up Control

B

BN

669

Power Window Motor Left Rear Down Control

Window Motor - RR


Object Number: 684837  Size: CH

Connector Part Information

  • OEM: 12129487
  • Service: 12129487
  • Description: 2-Way F Metri-Pack 280 Series Flexlock Sealed (GY)

Terminal Part Information

  • Terminal/Tray: See Terminal Repair Kit
  • Core/Insulation Crimp: See Terminal Repair Kit
  • Release Tool/Test Probe: See Terminal Repair Kit

Window Motor - RR

Pin

Wire Color

Circuit No.

Function

A

D-BU

670

Power Window Motor Right Rear Up Control

B

BN

671

Power Window Motor Right Rear Down Control

Window Switch - Driver C1


Object Number: 646380  Size: CH

Connector Part Information

  • OEM: 15326900
  • Service: 15306380
  • Description: 6-Way F GT 280 Series (BK)

Terminal Part Information

  • Pins: A- C, E, F
  • Terminal/Tray: See Terminal Repair Kit
  • Core/Insulation Crimp: See Terminal Repair Kit
  • Release Tool/Test Probe: See Terminal Repair Kit

Window Switch - Driver C1

Pin

Wire Color

Circuit No.

Function

A

BN

165

Power Window Motor Left Front Down Control

B

L-BU

166

Power Window Master Switch Right Front Up Signal

C

TN

167

Power Window Master Switch Right Front Down Signal

D

--

--

Not Used

E

D-BU

164

Power Window Motor Left Front Up Control

F

GY

8

Instrument Panel Lamp Supply Voltage

Window Switch - Driver C2


Object Number: 556473  Size: CH

Connector Part Information

  • OEM: 15326924
  • Service: 15306174
  • Description: 8-Way F GT 280 Series (BK)

Terminal Part Information

  • Pins: B- H
  • Terminal/Tray: See Terminal Repair Kit
  • Core/Insulation Crimp: See Terminal Repair Kit
  • Release Tool/Test Probe: See Terminal Repair Kit

Window Switch - Driver C2

Pin

Wire Color

Circuit No.

Function

A

--

--

Not Used

B

BK

550

Ground

C

PU

169

Power Window Master Switch Left Rear Down Signal

D

D-GN

168

Power Window Master Switch Left Rear Up Signal

E

YE

143

Accessory Voltage

F

D-BU

1307

Power Window Master Switch Lockout Signal

G

L-GN

170

Power Window Master Switch Right Rear Up Signal

H

PU

171

Power Window Master Switch Right Rear Down Signal

Window Switch - Front Passenger


Object Number: 333036  Size: CH

Connector Part Information

  • OEM: 12191825
  • Service: 15306048
  • Description: 8-Way GT 280 Series (BN)

Terminal Part Information

  • Pins: A, D, F- H
  • Terminal/Tray: 15304713/19
  • Core/Insulation Crimp: 4/4
  • Release Tool/Test Probe: 15315247/J-35616-4A (PU)
  • Pins: B, B, C
  • Terminal/Tray: 15304711/8
  • Core/Insulation Crimp: E/A
  • Release Tool/Test Probe: 15315247/J-35616-4A (PU)

Window Switch - Front Passenger

Pin

Wire Color

Circuit No.

Function

A

YE

143

Accessory Voltage

B

GY

8

Instrument Panel Lamp Supply Voltage

B

GY

8

Instrument Panel Lamp Supply Voltage

C

BK

750

Ground

D

TN

167

Power Window Master Switch Right Front Down Signal

E

--

--

Not Used

F

BN

667

Power Window Motor Right Front Down Control

G

D-BU

666

Power Window Motor Right Front Up Control

H

L-BU

166

Power Window Master Switch Right Front Up Signal

Window Switch - LR


Object Number: 62469  Size: CH

Connector Part Information

  • OEM: 12064998
  • Service: 15306189
  • Description: 8-Way F Metri-Pack 280 Series (BK)

Terminal Part Information

  • Pins: A, C-E, H
  • Terminal/Tray: See Terminal Repair Kit
  • Core/Insulation Crimp: See Terminal Repair Kit
  • Release Tool/Test Probe: See Terminal Repair Kit

Window Switch - LR

Pin

Wire Color

Circuit No.

Function

A

BN

669

Power Window Motor Left Rear Down Control

B

--

--

Not Used

C

D-GN

168

Power Window Master Switch Left Rear Up Signal

D

D-BU

668

Power Window Motor Left Rear Up Control

E

D-BU

1307

Power Window Master Switch Lockout Signal

F-G

--

--

Not Used

H

PU

169

Power Window Master Switch Left Rear Down Signal

Window Switch - RR


Object Number: 62469  Size: CH

Connector Part Information

  • OEM: 12064998
  • Service: 15306189
  • Description: 8-Way F Metri-Pack 280 Series (BK)

Terminal Part Information

  • Pins: A, C- E, H
  • Terminal/Tray: See Terminal Repair Kit
  • Core/Insulation Crimp: See Terminal Repair Kit
  • Release Tool/Test Probe: See Terminal Repair Kit

Window Switch - RR

Pin

Wire Color

Circuit No.

Function

A

BN

671

Power Window Motor Right Rear Down Control

B

--

--

Not Used

C

L-GN

170

Power Window Master Switch Right Rear Up Signal

D

D-BU

670

Power Window Motor Right Rear Up Control

E

D-BU

1307

Power Window Master Switch Lockout Signal

F-G

--

--

Not Used

H

PU

171

Power Window Master Switch Right Rear Down Signal