GM Service Manual Online
For 1990-2009 cars only

Object Number: 1555763  Size: MF

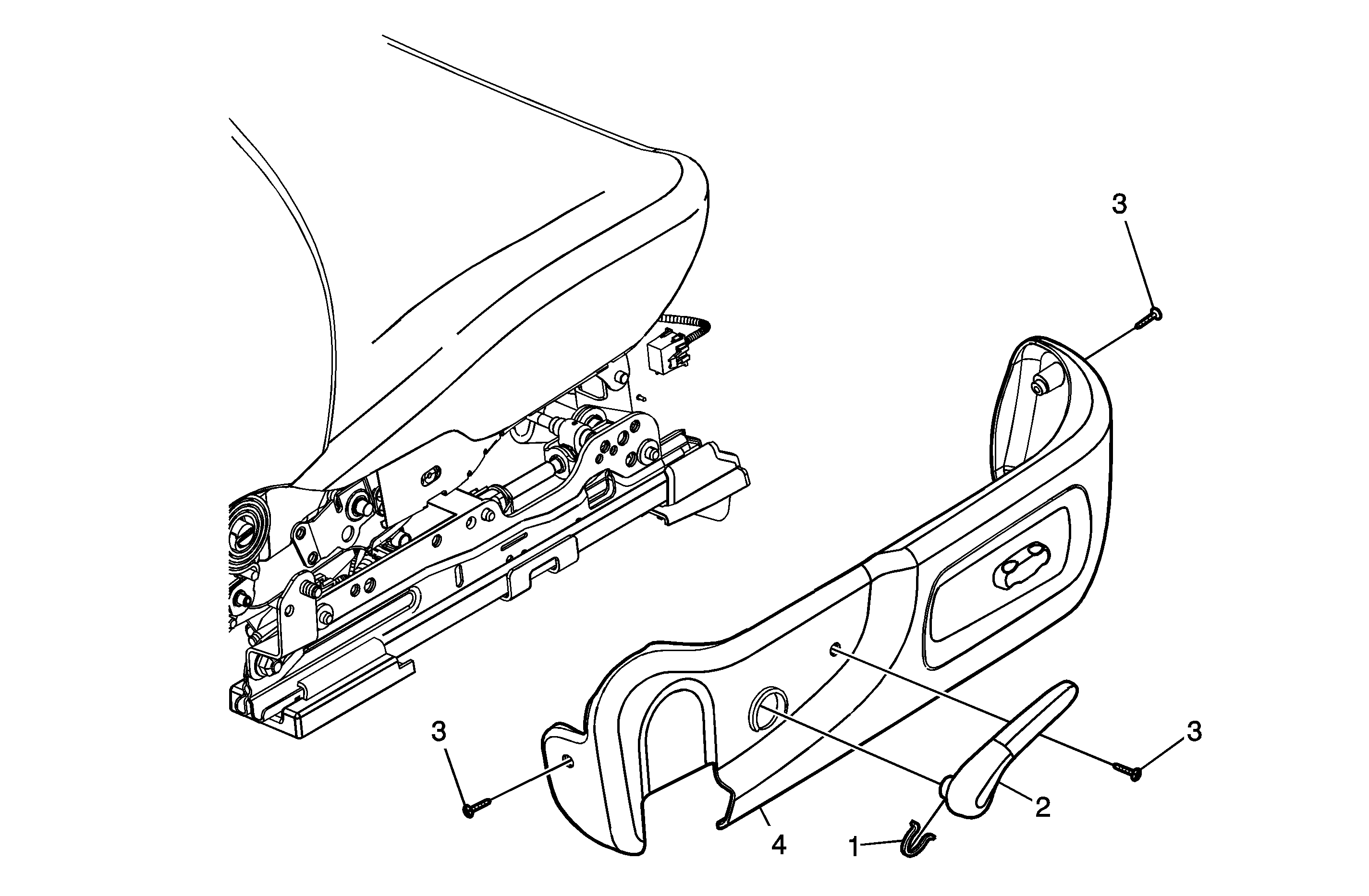
Callout

Component Name

1

Seat Recliner Handle Retainer Clip

2

Seat Recliner Handle

3

Seat Adjuster Finish Cover Screw (Qty: 3)

Notice: Refer to Fastener Notice in the Preface section.

Tighten
2 N·m (18 lb in)

4

Seat Adjuster Finish Cover

Tip
Disconnect the electrical connector.