GM Service Manual Online
For 1990-2009 cars only
Connector 1: Fuse Block - Underhood - Label
Connector 2: Fuse Block - Underhood - Top View
Connector 3: Fuse Block - Underhood - Bottom View
Connector 4: Fuse Block - Underhood C1
Connector 5: Fuse Block - Underhood C2
Connector 6: Fuse Block - Underhood C3
Connector 7: Fuse Block - Underhood C4
Connector 8: Fuse Block - I/P - Label
Connector 9: Fuse Block - I/P - Top View
Connector 10: Fuse Block - I/P - Bottom View
Connector 11: Fuse Block - I/P - C1
Connector 12: Fuse Block - I/P - C2

Fuse Block - Underhood - Label


Object Number: 1306169  Size: MF

Fuse Block - Underhood - Label Usage

No.

Device

Rating

Description

1

LF HI BEAM Fuse

10A

Headlamp - High Beam - Left

2

RF HI BEAM Fuse

10A

Headlamp - High Beam - Right

3

LF LO BEAM Fuse

10A

Headlamp - Low Beam - Left

4

RF LO BEAM Fuse

10A

Headlamp - Low Beam - Right

5

WIPER/WS Fuse

25A

WIPER Relay

6

WASHER/RVC Fuse

15A

Body Control Module (BCM)

7

FOG LPS Fuse

10A

FOG LP Relay

8

TCM Fuse

15A

Transmission Control Module (TCM)

9

SIR Fuse

10A

Inflatable Restraint PASSENGER AIR BAG ON/OFF Indicator, Inflatable Restraint Front Passenger Presence System (PPS) Module, and Inflatable Restraint Sensing and Diagnostic Module (SDM)

10

AUX PWR Fuse

25A

Auxiliary Power Outlet and Cigar Lighter

11

HORN Fuse

15A

HORN Relay

12

EMISSION Fuse

10A

Evaporative Emission (EVAP) Canister Vent Solenoid Valve (L26), Heated Oxygen Sensor (HO2S) 2 (LY7), Mass Air Flow (MAF)/Intake Air Temperature (IAT) Sensor, Secondary Air Injection (AIR) Pump Relay (NU3), and Secondary Air Injection (AIR) Solenoid Relay (NU3)

13

A/C CLUTCH Fuse

10A

A/C COMP Relay

14

02 SSR Fuse

15A

Camshaft Position (CMP) Actuator Solenoid Intake Bank 1 (LY7), Camshaft Position (CMP) Actuator Solenoid Intake Bank 2 (LY7), Camshaft Position (CMP) Actuator Solenoid Exhaust Bank 1 (LY7), Camshaft Position (CMP) Actuator Solenoid Exhaust Bank 2 (LY7), Evaporative Emissions (EVAP) Canister Purge Solenoid Valve (LY7), Heated Oxygen Sensor (HO2S) 1, and Heated Oxygen Sensor (HO2S) 2 (L26)

15

PCM Fuse

10A

CRANK Relay, Engine Control Module (ECM) (LY7), and Powertrain Control Module (PCM) (L26)

16

PCM/ETC Fuse

15A

Engine Control Module (ECM) (LY7) and Powertrain Control Module (PCM) (L26)

17

ETC Fuse

15A

Engine Control Module (LY7) and Throttle Actuator Control (TAC) Module (L26)

18

DISPLAY Fuse

10A

Air Temperature Sensor Inside (CJ2), Electronic Compass Module, HVAC Control Module, Rear Object Sensor Control Module (UD7), and Voice Recorder/Cruise Assembly Switch

19

ABS SOL Fuse

25A

Electronic Brake Control Module (EBCM) (JL9)

20

FUEL INJ Fuse

15A

Fuel Injector 1, Fuel Injector 2 (L26), Fuel Injector 3, Fuel Injector 4 (L26), Fuel Injector 5, Fuel Injector 6 (L26), Ignition Coil 1 (LY7), Ignition Coil 3 (LY7), and Ignition Coil 5 (LY7)

21

TRANS SOL Fuse

10A

1-2 Shift Solenoid (1-2 SS) Valve, 2-3 Shift Solenoid (2-3 SS) Valve, Torque Converter Clutch (TCC) Solenoid Valve, and Transmission Control Module (TCM) (LY7)

22

FUEL PP

15A

FUEL PP Relay

23

ABS Fuse

10A

Electronic Brake Control Module (EBCM) (JL9), Steering Angle Sensor (JL4), and Yaw and Lateral Acceleration Sensor (JL4)

24

ELEK IGN Fuse

15A

Fuel Injector 2 (LY7), Fuel Injector 4 (LY7), Fuel Injector 6 (LY7), Ignition Coil 2 (LY7), Ignition Coil 4 (LY7), Ignition Coil 6 (LY7), and Ignition Control Module (ICM) (L26),

25

AIR PUMP Fuse

50A

Secondary Air Injection (AIR) Pump Relay (NU3)

26

BATT MAIN 1 Fuse

40A

CHMSL/BKUP, CLSTR, CNSTR, HVAC, INT/ILLUM, PRK/LAMP, RDO/AMP, RFA/MOD, and ONSTAR/ALDL Fuses

27

BATT MAIN 2 Fuse

50A

DR/LCK TRUNK, HAZRD, HTD/SEAT, PRK/SWITCH, PWR/MIR, and S/ROOF Fuses, PWR/SEAT and PWR/WNDW Circuit Breakers, and RAP Relay

28

BATT MAIN 3 Fuse

40A

R/ DEFOG Relay

29

FAN 1 Fuse

30A

FAN 1 Relay

30

BATT MAIN 4 Fuse

30A

Blower Motor Control Processor

31

ABS MTR Fuse

40A

Electronic Brake Control Module (EBCM) (JL9)

32

FAN 2 Fuse

30A

FAN 2 and FAN 3 Relays

33

STARTER Fuse

40A

CRANK Relay

34

HI BEAM Relay

--

LF HI BEAM and RF HI BEAM Fuses

35

HDM BEAM Module

--

LF LO BEAM and RF LO BEAM Fuses

36

FOG LP Relay

--

Fog Lamp - LF and Fog Lamp - RF

37

IGN 1 Relay

--

ABS, TRANS SOL, PCM, SIR and DISPLAY Fuses, and A/C COMP Relay

38

A/C COMP Relay

--

A/C Compressor Clutch and A/C CLU Diode

39

HORN Relay

--

Horn Assembly

40

P/TRAIN Relay

--

ELEK IGN, EMISSION, ETC, FUEL INJ, and O2 SSR Fuses

41

FUEL PP Relay

--

Fuel Pump and Sender Assembly

42

FAN 1 Relay

--

Cooling Fan - Left

43

FAN 3 Relay

--

Cooling Fan - Right

44

WIPER HI Relay

--

Windshield Wiper Motor

45

WIPER Relay

--

WIPER HI Relay

46

FAN 2 Relay

--

Cooling Fan - Right

48

CRANK Relay

--

Starter

49

SPARE Fuse

10A

--

50

SPARE Fuse

15A

--

51

SPARE Fuse

25A

--

52-54

Empty

--

--

55

FUSE PULLER

--

--

Fuse Block - Underhood - Top View


Object Number: 1306390  Size: MF

Fuse Block - Underhood - Bottom View


Object Number: 1306397  Size: MF

Fuse Block - Underhood C1


Object Number: 647951  Size: CH

Connector Part Information

  • OEM: 15319896
  • Service: 15319896
  • Description: 68-Way F Metri-Pack 280 Series, Flexlock (BK)

Terminal Part Information

  • Pins: C5, E1
  • Terminal/Tray: 15324340/19
  • Core/Insulation Crimp: F/G
  • Release Tool/Test Probe: 12094430/J-35616-4A (PU)
  • Pins: B3, B9, B9, F8, F8, F8
  • Terminal/Tray: 12110844/4
  • Core/Insulation Crimp: E/C
  • Release Tool/Test Probe: 15315247/J-35616-4A (PU)
  • Pins: C6-C7, C11, C11, D6-D7
  • Terminal/Tray: See Terminal Repair Kit
  • Core/Insulation Crimp: See Terminal Repair Kit
  • Release Tool/Test Probe: See Terminal Repair Kit
  • Pins: A1, A5, A7, A9, A11, C1, C3, C3, D1, D5, D8, D9, D9, D11, D11, E2, E2, E3, E6-E8, E8, E11, F1-F6, F9, F9, F11, F11, F12
  • Terminal/Tray: 12110844/4
  • Core/Insulation Crimp: Pins A1, A5, A7, A11, C1, C3, C3, D1, D5, D8, D9, D9, D11, D11, E2, E2, E3, E6- E8, E8, E11, F1- F3, F5, F6, F9, F9, F11, F11, F12 - E/A
  • Core/Insulation Crimp: Pins A9, F4 - C/A
  • Release Tool/Test Probe: 15315247/J-35616-4A (PU)

Fuse Block - Underhood C1

Pin

Wire Color

Circuit No.

Function

A1

D-GN/WH

465

Fuel Pump Relay Control

A2-A4

--

--

Not Used

A5

OG

1640

Battery Positive Voltage (LY7)

A6

--

--

Not Used

A7

PK

239

Ignition 1 Voltage

A8

--

--

Not Used

A9

PK

1039

Ignition 1 Voltage (JL9)

A10

--

--

Not Used

A11

PK

639

Ignition 1 Voltage

A12

--

--

Not Used

B1-B2

--

--

Not Used

B3

BK/WH

451

Ground

B4-B8

--

--

Not Used

B9

PK

1339

Ignition 1 Voltage

B9

PK

1339

Ignition 1 Voltage (LY7)

B10-B12

--

--

Not Used

C1

D-GN

335

Low Speed Cooling Fan Relay Control

C2

--

--

Not Used

C3

BK

2759

Low Reference

C3

BK

2759

Low Reference (LY7)

C4

--

--

Not Used

C5

OG

1740

Battery Positive Voltage (JL9)

C6-C7

--

--

Not Available

C8-C10

--

--

Not Used

C11

PK

39

Ignition 1 Voltage

PK

39

Ignition 1 Voltage

C12

--

--

Not Used

D1

PK

439

Ignition 1 Voltage

D2-D4

--

--

Not Used

D5

OG

540

Battery Positive Voltage

D6-D7

--

--

Not Available

D8 (L26)

GY

2709

5-Volt Reference 1

D8 (LY7)

GY

2709

5-Volt Reference 2

D9

PK

439

Ignition 1 Voltage

PK

439

Ignition 1 Voltage

D10

--

--

Not Used

D11

PK

839

Ignition 1 Voltage

D11

PK

839

Ignition 1 Voltage (L26)

D12

--

--

Not Used

E1

PU

6

Starter Solenoid Crank Voltage

E2

WH

17

Stop Lamp Switch Signal

WH

17

Stop Lamp Switch Signal

E3

YE/BK

625

Starter Enable Relay Control

E4-E5

--

--

Not Used

E6

D-GN

59

A/C Compressor Clutch Supply Voltage

E7

BK

1050

Ground

E8

PK

339

Ignition 1 Voltage (L26)

PK

339

Ignition 1 Voltage (L26)

E9-E10

--

--

Not Used

E11

D-GN

890

Fuel Tank Pressure Sensor Signal

E12

--

--

Not Used

F1

D-BU

473

High Speed Cooling Fan Relay Control

F2

WH

17

Stop Lamp Switch Signal (JL9)

F3

GY

1884

Cruise Control Set/Coast and Resume/Accelerate Switch Signal

F4

WH

1310

EVAP Canister Vent Solenoid Control

F5

PU

1589

Fuel Level Sensor Signal

F6

D-GN/WH

459

A/C Compressor Clutch Relay Control

F7

--

--

Not Used

F8

PK

339

Ignition 1 Voltage (LY7)

PK

339

Ignition 1 Voltage (LY7)

F8

PK

339

Ignition 1 Voltage (NU3)

F9

BN

1141

Ignition 3 Voltage

F9

BN

1141

Ignition 3 Voltage (LY7)

F10

--

--

Not Used

F11

D-GN

389

Vehicle Speed Signal

F11

D-GN

389

Vehicle Speed Signal (L26)

F12

BN

5069

Powertrain Relay

Fuse Block - Underhood C2


Object Number: 684889  Size: CH

Connector Part Information

  • OEM: 15319895
  • Service: 15319895
  • Description: 68-Way F Metri-Pack 280 Series, Flexlock (GY)

Terminal Part Information

  • Pins: B5, B5, C6-C7, D6-D7
  • Terminal/Tray: See Terminal Repair Kit
  • Core/Insulation Crimp: See Terminal Repair Kit
  • Release Tool/Test Probe: See Terminal Repair Kit
  • Pins: A2, A7, A9, A11, A11, A12, B3 B7,, F9, B6, B6, B9, B11, C11, C12, D5, D10, E2-E5, E10, F2, F2, F4, F5, F6, F10
  • Terminal/Tray: 12110844/4
  • Core/Insulation Crimp: Pins A2, A11, A11, B7, E2, E4, F9 - E/A
  • Core/Insulation Crimp: Pins A7, A9, A12, B3, B6, B6, B9, B11, C11, C12, D5, D10, E3, E5, E10, F2, F2, F4- F6, F10 - E/C
  • Release Tool/Test Probe: 15315247/J-35616-4A (PU)
  • Pins: B2, D9, F3, F7, F11, F12
  • Terminal/Tray: 12110842/4
  • Core/Insulation Crimp: Pins B2 - A/B
  • Core/Insulation Crimp: Pins D9, F3, F7, F11, F12 - C/A
  • Release Tool/Test Probe: 15315247/J-35616-4A (PU)

Fuse Block - Underhood C2

Pin

Wire Color

Circuit No.

Function

A1

--

--

Not Used

A2

WH

17

Stop Lamp Switch Signal

A3-A6

--

--

Not Used

A7 (L26)

GY

2709

5-Volt Reference 1

A7 (LY7)

GY

2709

5-Volt Reference 2

A8

--

--

Not Used

A9

PK

739

Ignition 1 Voltage

A10

--

--

Not Used

A11

PK

1039

Ignition 1 Voltage (JL4)

PK

1039

Ignition 1 Voltage (JL4)

A12

PK

1439

Ignition 1 Voltage

B1

--

--

Not Used

B2

GY

120

Fuel Pump Supply Voltage

B3

BK

2759

Low Reference

B4

--

--

Not Used

B5

OG

2540

Battery Positive Voltage

OG

2540

Battery Positive Voltage

B6

BN

1141

Ignition 3 Voltage

BN

1141

Ignition 3 Voltage

B7

YE

1139

Ignition 1 Voltage

B8

--

--

Not Used

B9

PK

739

Ignition 1 Voltage

B10

--

--

Not Used

B11

D-GN

389

Vehicle Speed Signal

B12

--

--

Not Used

C1-C5

--

--

Not Used

C6-C7

--

--

Not Available

C8-C10

--

--

Not Used

C11

PK/BK

109

Hood Ajar Switch Signal

C12

D-GN/WH

1317

Fog Lamp Relay Control (T96)

D1-D4

--

--

Not Used

D5

WH

1310

EVAP Canister Vent Solenoid Control

D6-D7

--

--

Not Available

D8

--

--

Not Used

D9

OG

2440

Battery Positive Voltage

D10

D-GN

890

Fuel Tank Pressure Sensor Signal

D11-D12

--

--

Not Used

E1

--

--

Not Used

E2

RD

228

Windshield Washer Pump Control

E3

GY

1884

Cruise Control Set/Coast and Resume/Accelerate Switch Signal

E4

L-BU/WH

1314

Left Front Turn Signal Lamp Supply Voltage

E5

PU

1589

Fuel Level Sensor Signal

E6-E9

--

--

Not Used

E10

PK/WH

1970

Headlamp Low Beam Relay Control

E11-E12

--

--

Not Used

F1

--

--

Not Used

F2

BK

28

Horn Relay Control

BK

28

Horn Relay Control

F3

BN

9

Park Lamp Supply Voltage

F4

TN

185

Low Washer Fluid Indicator Signal

F5

BK/WH

1969

Headlamp Relay Control/Headlamp High Beam Relay Control

F6

GY

91

Windshield Wiper Switch Signal 2

F7

BK

1650

Ground

F8

--

--

Not Used

F9

D-BU/WH

1315

Right Front Turn Signal Lamp Supply Voltage

F10

BK

860

Front Windshield Wiper Switch High Signal

F11

D-GN

95

Windshield Washer Switch Signal

F12

PU

92

Windshield Wiper Motor High Speed

Fuse Block - Underhood C3


Object Number: 647949  Size: CH

Connector Part Information

  • OEM: 15319894
  • Service: 15319894
  • Description: 68-Way F Metri-Pack 280 Series, Flexlock (NA)

Terminal Part Information

  • Pins: A1, A4, A5, E10, F1
  • Terminal/Tray: 15324340/19
  • Core/Insulation Crimp: F/G
  • Release Tool/Test Probe: 12094430/J-35616-4A (PU)
  • Pins: C6-C7, D6-D7
  • Terminal/Tray: See Terminal Repair Kit
  • Core/Insulation Crimp: See Terminal Repair Kit
  • Release Tool/Test Probe: See Terminal Repair Kit
  • Pins: C12, D5
  • Terminal/Tray: 12110844/4
  • Core/Insulation Crimp: E/C
  • Release Tool/Test Probe: 15315247/J-35616-4A (PU)
  • Pins: A2, A9, A11, A11, B2-B4, C3, C3, C4, C9, D9, F3
  • Terminal/Tray: 12110844/4
  • Core/Insulation Crimp: Pins A2 - C/A
  • Core/Insulation Crimp: Pins A9, A11, A11, B2- B4, C3, C3, C4, C9, D9, F3 - E/A
  • Release Tool/Test Probe: 15315247/J-35616-4A (PU)

Fuse Block - Underhood C3

Pin

Wire Color

Circuit No.

Function

A1

GY

532

Cooling Fan Low Reference

A2

D-GN

29

Horn Control

A3

--

--

Not Used

A4

BK

250

Ground

A5

BK

250

Ground

A6-A8

--

--

Not Used

A9

D-BU/WH

1315

Right Front Turn Signal Lamp Supply Voltage

A10

--

--

Not Used

A11

PU

34

Fog Lamps Supply Voltage (T96)

PU

34

Fog Lamps Supply Voltage (T96)

A12

--

--

Not Used

B1

--

--

Not Used

B2

RD

228

Windshield Washer Pump Control

B3

BN

9

Park Lamp Supply Voltage

BN

9

Park Lamp Supply Voltage

B4

TN/WH

312

Right Headlamp Low Beam Supply Voltage

B5-B12

--

--

Not Used

C1-C2

--

--

Not Used

C3

BN

9

Park Lamp Supply Voltage

BN

9

Park Lamp Supply Voltage

C4

YE

712

Left Headlamp Low Beam Supply Voltage

C5

--

--

Not Used

C6-C7

--

--

Not Available

C8

--

--

Not Used

C9

L-GN/BK

311

Right Headlamp High Beam Supply Voltage

C10-C11

--

--

Not Used

C12

PK/BK

109

Hood Ajar Switch Signal (AP3)

D1-D4

--

--

Not Used

D5

TN

185

Low Washer Fluid Indicator Signal

D6-D7

--

--

Not Available

D8

--

--

Not Used

D9

D-GN/WH

711

Left Headlamp High Beam Supply Voltage

D10-D12

--

--

Not Used

E1-E9

--

--

Not Used

E10

WH

504

Cooling Fan Motor Supply Voltage

E11-E12

--

--

Not Used

F1

L-BU

409

Cooling Fan Motor Supply Voltage

F2

--

--

Not Used

F3

L-BU/WH

1314

Left Front Turn Signal Lamp Supply Voltage

F4-F12

--

--

Not Used

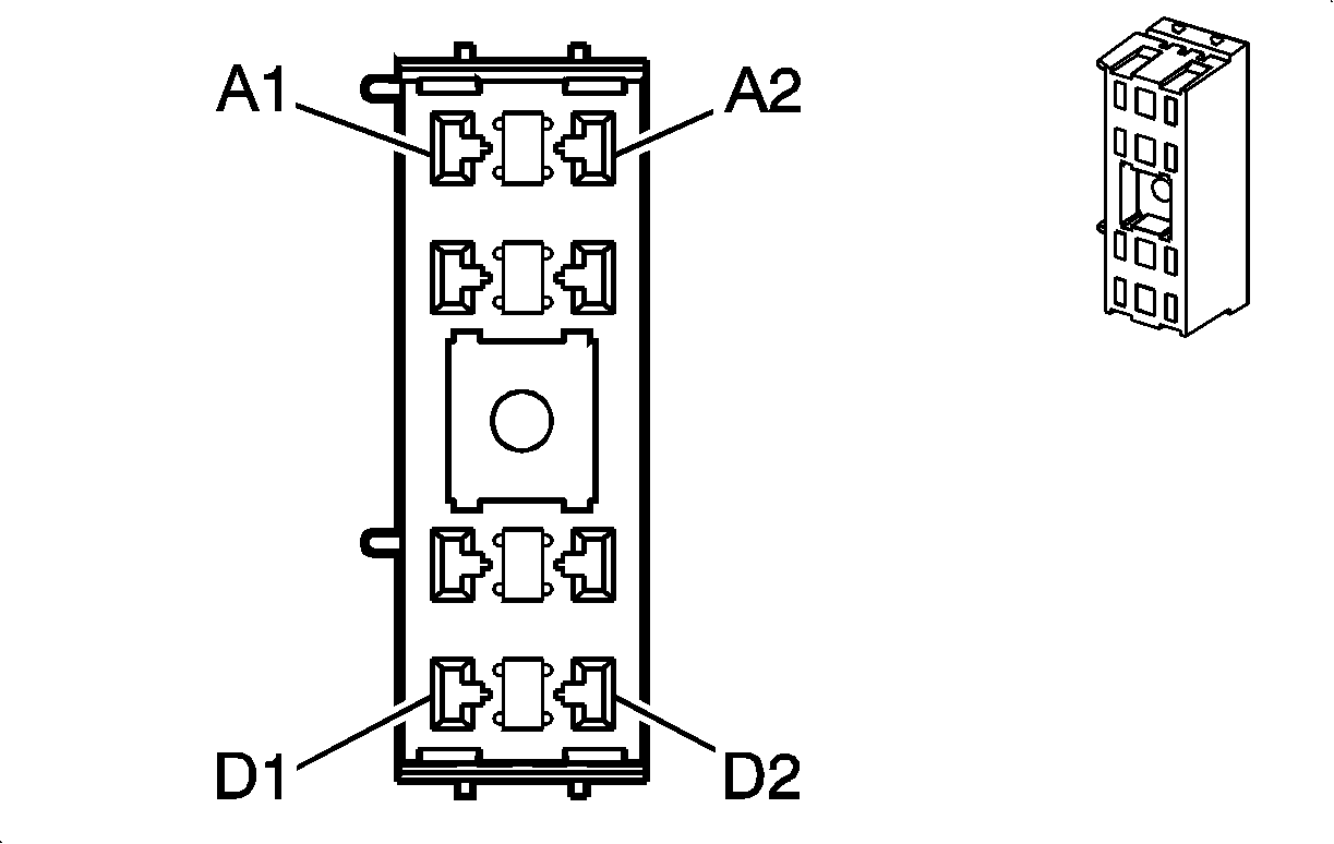
Fuse Block - Underhood C4


Object Number: 1243665  Size: CH

Connector Part Information

  • OEM: 15447740
  • Service: 88987883
  • Description: 8-Way F Metri-Pack 800 Series (BK)

Terminal Part Information

  • Pins: A1, C1, C2, D1, D2
  • Terminal/Tray: 12110127/19
  • Core/Insulation Crimp: F/G
  • Release Tool/Test Probe: 12150860/J-35616-44 (YE)
  • Pins: B1, B1
  • Terminal/Tray: 12092445/18
  • Core/Insulation Crimp: G/G
  • Release Tool/Test Probe: 12150860/J-35616-44 (YE)

Fuse Block - Underhood C4

Pin

Wire Color

Circuit No.

Function

A1

RD

742

Battery Positive Voltage

A2

--

--

Not Used

B1

RD

642

Battery Positive Voltage

RD

642

Battery Positive Voltage

B2

--

--

Not Used

C1

RD

242

Battery Positive Voltage

C2

RD

1442

Battery Positive Voltage

D1

OG

1540

Battery Positive Voltage

D2

RD

442

Battery Positive Voltage

Fuse Block - I/P - Label


Object Number: 1306409  Size: MF

Fuse Block - I/P - Label Usage

Device

Rating

Description

CHMSL/BKUP Fuse

15A

Body Control Module (BCM)

CLSTR Fuse

10A

Instrument Panel Cluster (IPC)

CNSTR Fuse

10A

Evaporative Emission (EVAP) Canister Vent Solenoid

CRUISE Fuse

2A

Voice Recorder/Cruise Switch Assembly

DR/LCK TRUNK Fuse

15A

Body Control Module (BCM)

HAZRD Fuse

20A

Body Control Module (BCM)

HTD/MIR Fuse

10A

Outside Rearview Mirror Motor - Driver and Outside Rearview Mirror Motor - Passenger

HTD/SEAT Fuse

20A

Heated Seat Relay - Driver (KA1) and Heated Seat Relay - Front Passenger (KA1)

HVAC Fuse

10A

HVAC Control Module

INT/ILLUM Fuse

10A

Body Control Module (BCM)

ONSTAR/ALDL Fuse

10A

Vehicle Communication Interface Module (VCIM) (UE1) and Data Link Connector (DLC)

PRK/LAMP Fuse

10A

PK LP Relay

PRK/LAMP Relay

--

Marker Lamp - LF, Marker Lamp - LR, Marker Lamp - RF, Marker Lamp - RR, Park/Turn Signal Lamp - LF, Park/Turn Signal Lamp - RF, Tail Lamp - Left - Lower, Tail Lamp - Left - Upper, Tail Lamp - Right - Lower, Tail Lamp - Right - Upper, Tail/Stop and Turn Signal Lamp - Left, Tail/Stop and Turn Signal Lamp - Right, License Lamp - Left, and License Lamp - Right

PRK/SWITCH Fuse

5A

Park Switch

PWR/MIR Fuse

10A

Outside Rearview Mirror Switch

PWR/SEAT Circuit Breaker

25A

Seat Adjuster Switch - Driver (AG1), Seat Adjuster Switch - Passenger (AG2), and Seat Lumbar Switch - Driver (AL9)

PWR/WNDW Circuit Breaker

25A

Window Switch - Driver, and Window Switch - Front Passenger

RAP Relay

--

PRK/SWITCH, S/ROOF Fuses and PWR/WNDW Circuit Breaker

R/DEFOG Relay

--

HTD/MIR Fuse and Rear Window Defogger Grid

RDO/AMP Fuse

25A

Radio and Audio Amplifier (U88)

RFA/MOD Fuse

10A

Digital Radio Receiver (U2K), Remote Control Door Lock Receiver (RCDLR), and Inflatable Restraint Front Passenger Presence System (PPS) Module

S/ROOF Fuse

20A

Inside Rearview Mirror and Sunroof Motor/Actuator (CF5)

STR/WHL/ILLUM Fuse

2A

Steering Wheel Controls - Left (UK3), Steering Wheel Controls - Right (UK3), Voice Recorder/Cruise Switch Assembly, and Cruise Control Switch

Fuse Block - I/P - Top View


Object Number: 1306414  Size: MF

Fuse Block - I/P - Bottom View


Object Number: 1306416  Size: MF

Fuse Block - I/P - C1


Object Number: 684967  Size: CH

Connector Part Information

  • OEM: 15356602
  • Service: 88988775
  • Description: 68-Way F Metri-Pack 280 Series, Flexlock (BK)

Terminal Part Information

  • Pins: Steering Wheel Controls - Left (UK3), Steering Wheel Controls - Right (UK3), Voice Recorder/Cruise Switch Assembly, and Cruise Control Switch, A1, A2, A4-A7, A9, A9, A11, A12, A12, B1, B2-B6, B8, B8-B12, B12, C1, C2, C4-C12, C12, D1, D4, D6-D7, D9-D12, E2, E3, E5, E6, E8, E10, E12, F3, F5-F7, F9, F10
  • Terminal/Tray: See Terminal Repair Kit
  • Core/Insulation Crimp: See Terminal Repair Kit
  • Release Tool/Test Probe: See Terminal Repair Kit

Fuse Block - I/P - C1

Pin

Wire Color

Circuit No.

Function

Steering Wheel Controls - Left (UK3), Steering Wheel Controls - Right (UK3), Voice Recorder/Cruise Switch Assembly, and Cruise Control Switch

68-Way F Metri-Pack 280 Series, Flexlock (BK)

Pin

Wire Color

A1

PU

1589

Fuel Level Sensor Signal

A2

YE

1860

Front Center Speaker Output (+) (U88)

A3

--

--

Not Used

A4

PU

2232

Antenna Signal

A5

TN

927

Amplifier Control (U88)

A6

YE

1139

Ignition 1 Voltage

YE

1139

Ignition 1 Voltage

A7

WH

1310

EVAP Canister Vent Solenoid Control

A8

--

--

Not Used

A9

BK/WH

351

Ground (UE1)

A9

BK/WH

351

Ground

A10

--

--

Not Used

A11

D-GN

2308

Passenger Air Bag OFF Indicator Control

A12

GY

118

Left Front Speaker Output (-) (UW6)

A12

D-GN

1947

Left Front Low Level Audio Signal (-) (U88)

B1

BK

2759

Low Reference

B2

L-BU

1960

Front Center Speaker Output (-) (U88)

B3

D-BU

1778

Strobe Signal (U68)

B4

OG

2540

Battery Positive Voltage

B5

GY

120

Fuel Pump Supply Voltage

B6

BN

1779

Compass Data (U68)

B7

--

--

Not Used

B8

D-BU

46

Right Rear Speaker Output (+) (UW6)

B8

D-BU

546

Right Rear Low Level Audio Signal (+) (U88)

B9

TN

201

Left Front Speaker Output (+) (UW6)

B9

TN

511

Left Front Low Level Audio Signal (+) (U88)

B10

OG

2340

Battery Positive Voltage (UE1)

B10

OG

2340

Battery Positive Voltage

B11

D-BU

2307

Passenger Air Bag ON Indicator Control

B12

L-GN

200

Right Front Speaker Output (+) (UW6)

B12

L-GN/WH

512

Right Front Low Level Audio Signal (+) (U88)

C1

D-GN

890

Fuel Tank Pressure Sensor Signal

C2

WH

1080

Park Lamp Relay Control

C3

--

--

Not Used

C4

GY

8

Instrument Panel Lamps Dimmer Switch Signal

C5

OG

1240

Battery Positive Voltage

C6-C7

--

--

Not Available

C8

L-BU

115

Right Rear Speaker Output (-) (UW6)

C8

BK

1946

Right Rear Low Level Audio Signal (-) (U88)

C9

GY/BK

690

Courtesy Lamp Supply Voltage

GY/BK

690

Courtesy Lamp Supply Voltage

C10

L-GN

117

Right Front Speaker Output (-) (UW6)

C10

L-GN

1948

Right Front Low Level Audio Signal (-) (U66)

C11

BN

1999

Left Rear Low Level Audio Signal (-) (U88)

C11

YE

116

Left Rear Speaker Output (-) (UW6)

C12

BN/WH

599

Left Rear Low Level Audio Signal (+) (U88)

C12

BN

199

Left Rear Speaker Output (+) (UW6)

D1 (L26)

GY

2709

5-Volt Reference 1

D1 (LY7)

GY

2709

5-Volt Reference 2

D2-D3

--

--

Not Used

D4

D-BU

1128

SDM Class 2 Serial Data

D5

--

--

Not Used

D6-D7

--

--

Not Available

D8

--

--

Not Used

D9

GY/BK

690

Courtesy Lamp Supply Voltage

D10

OG

1732

Courtesy Lamps Supply Voltage

OG

1732

Courtesy Lamps Supply Voltage

D11

PK

739

Ignition 1 Voltage (CJ2)

D11

PK

739

Ignition 1 Voltage

D12

BK

707

RAP Relay Coil Supply Voltage

E1

--

--

Not Used

E2

BN

9

Park Lamp Supply Voltage

E3

GY/BK

1458

Instrument Panel Lamp Supply Voltage 4

E4

--

--

Not Used

E5

OG

340

Battery Positive Voltage

E6

OG

240

Battery Positive Voltage

E7

--

--

Not Used

E8

OG

5240

Battery Positive Voltage

E9

--

--

Not Used

E10

D-GN

389

Vehicle Speed Signal

E11

--

--

Not Used

E12

PK

1539

Ignition 1 Voltage (UK3)

F1-F2

--

--

Not Used

F3

RD

742

Battery Positive Voltage

F4

--

--

Not Used

F5

RD

642

Battery Positive Voltage

F6

OG

1040

Battery Positive Voltage

F7

RD

242

Battery Positive Voltage

F8

--

--

Not Used

F9

OG

2040

Battery Positive Voltage

F10

RD

642

Battery Positive Voltage

F11-F12

--

--

Not Used

Fuse Block - I/P - C2


Object Number: 697044  Size: CH

Connector Part Information

  • OEM: 15356603
  • Service: 88988776
  • Description: 68-Way F Metri-Pack 280 Series, Flexlock (L-GY)

Terminal Part Information

  • Pins: A1, A1, A1-A12, B1, B1, B1, B2, B4, B4, B4-B12, C1, C1-C7, C9, C10, C12, D2, D2, D3, D3, D6-D7, D9, D9-D12, E2-E4, E9, E11, E12, F1, F2, F5, F5, F9, F11, F12, F12
  • Terminal/Tray: See Terminal Repair Kit
  • Core/Insulation Crimp: See Terminal Repair Kit
  • Release Tool/Test Probe: See Terminal Repair Kit

Fuse Block - I/P - C2

Pin

Wire Color

Circuit No.

Function

A1

GY

118

Left Front Speaker Output (-) (UW6)

GY

118

Left Front Speaker Output (-) (UW6)

A1

D-GN

1947

Left Front Low Level Audio Signal (-) (U88)

A2

D-GN

2308

Passenger Air Bag OFF Indicator Control

A3

OG

2840

Battery Positive Voltage

A4

BK/WH

351

Ground (U88)

A4

BK/WH

351

Ground (U2K)

A5

OG

440

Battery Positive Voltage

A6

WH

1310

EVAP Canister Vent Solenoid Control

A7

YE

1139

Ignition 1 Voltage

YE

1139

Ignition 1 Voltage

A8

TN

927

Amplifier Control (U88)

A9

PU

2232

Amplifier Present Signal (UW6)

A9

PU

2232

Amplifier Present Signal (U88)

A9

PU

2232

Amplifier Present Signal (U88)

A10

GY/BK

2334

Amp Sense (U88)

A11

YE

1860

Front Center Speaker Output (+) (U88)

A12

PU/WH

1589

Fuel Level Sensor Signal

B1

L-GN

200

Right Front Speaker Output (+) (UW6)

B1

L-GN

200

Right Front Speaker Output (+) (UW6)

B1

L-GN/WH

512

Right Front Low Level Audio Signal (+) (U88)

B2

D-BU

2307

Passenger Air Bag ON Indicator Control

B3

--

--

Not Used

B4

TN

201

Left Front Speaker Output (+) (UW6)

TN

201

Left Front Speaker Output (+) (UW6)

B4

TN

511

Left Front Low Level Audio Signal (+) (U88)

B5

D-BU

46

Right Rear Speaker Output (+) (UW6)

B5

D-BU

546

Right Rear Low Level Audio Signal (+) (U88)

B6

YE

743

Accessory Voltage

B7

BN

1779

Trip Data

B8

GY

120

Fuel Pump Supply Voltage

B9

OG

2540

Battery Positive Voltage

B10

D-BU

1778

Trip Clock

B11

L-BU

1960

Front Center Speaker Output (-) (U88)

B12

BK

2759

Low Reference

C1

BN

199

Left Rear Speaker Output (+) (UW6)

C1

BN/WH

599

Left Rear Low Level Audio Signal (+) (U88)

C2

YE

116

Left Rear Speaker Output (-) (UW6)

C2

BN

1999

Left Rear Low Level Audio Signal (-) (U88)

C3

D-GN

117

Right Front Speaker Output (-) (UW6)

D-GN

117

Right Front Speaker Output (-) (UW6)

C3

L-GN

1948

Right Front Low Level Audio Signal (-) (U88)

C4

GY/BK

690

Courtesy Lamp Supply Voltage

C5

L-BU

115

Right Rear Speaker Output (-) (UW6)

C5

BK

1946

Right Rear Low Level Audio Signal (-) (U88)

C6-C7

--

--

Not Available

C8

--

--

Not Used

C9

GY

8

Instrument Panel Lamps Dimmer Switch Signal

C10

OG

1140

Battery Positive Voltage (AY1)

C11

--

--

Not Used

C12

D-GN

890

Fuel Tank Pressure Sensor Signal

D1

--

--

Not Used

D2

PK

739

Ignition 1 Voltage (UD7)

D2

PK

739

Ignition 1 Voltage

D3

OG

1732

Courtesy Lamps Supply Voltage

OG

1732

Courtesy Lamps Supply Voltage

D4-D5

--

--

Not Used

D6-D7

--

--

Not Available

D8

--

--

Not Used

D9

D-BU

1128

Class 2 Serial Data

D9

D-BU

1128

Class 2 Serial Data (U2K)

D10

OG

1140

Battery Positive Voltage

D11

WH

193

Rear Defog Relay Control

WH

193

Rear Defog Relay Control

D12 (L26)

GY

2709

5-Volt Reference 1

D12 (LY7)

GY

2709

5-Volt Reference 2

E1

--

--

Not Used

E2

YE

143

Accessory Voltage

E3

D-GN

389

Vehicle Speed Signal (UD7)

E4

OG

2040

Battery Positive Voltage (U88)

E5-E8

--

--

Not Used

E9

OG

1440

Battery Positive Voltage (KA1)

E10

--

--

Not Used

E11

BN

9

Park Lamp Supply Voltage

E12

OG

840

Battery Positive Voltage

F1

YE

643

Accessory Voltage (CF5)

F2

YE

143

Accessory Voltage

F3-F4

--

--

Not Used

F5

OG

640

Battery Positive Voltage (AU0/AU6/U2L/U2K)

F5

OG

640

Battery Positive Voltage

F6-F8

--

--

Not Used

F9

OG

1440

Battery Positive Voltage (KA1)

F10

--

--

Not Used

F11

BK

1927

Rear Window Defog Control Module Supply Voltage

F12

OG

267

Heated Mirror Element Supply Voltage (DK2)

OG

267

Heated Mirror Element Supply Voltage (DK2)