GM Service Manual Online
For 1990-2009 cars only

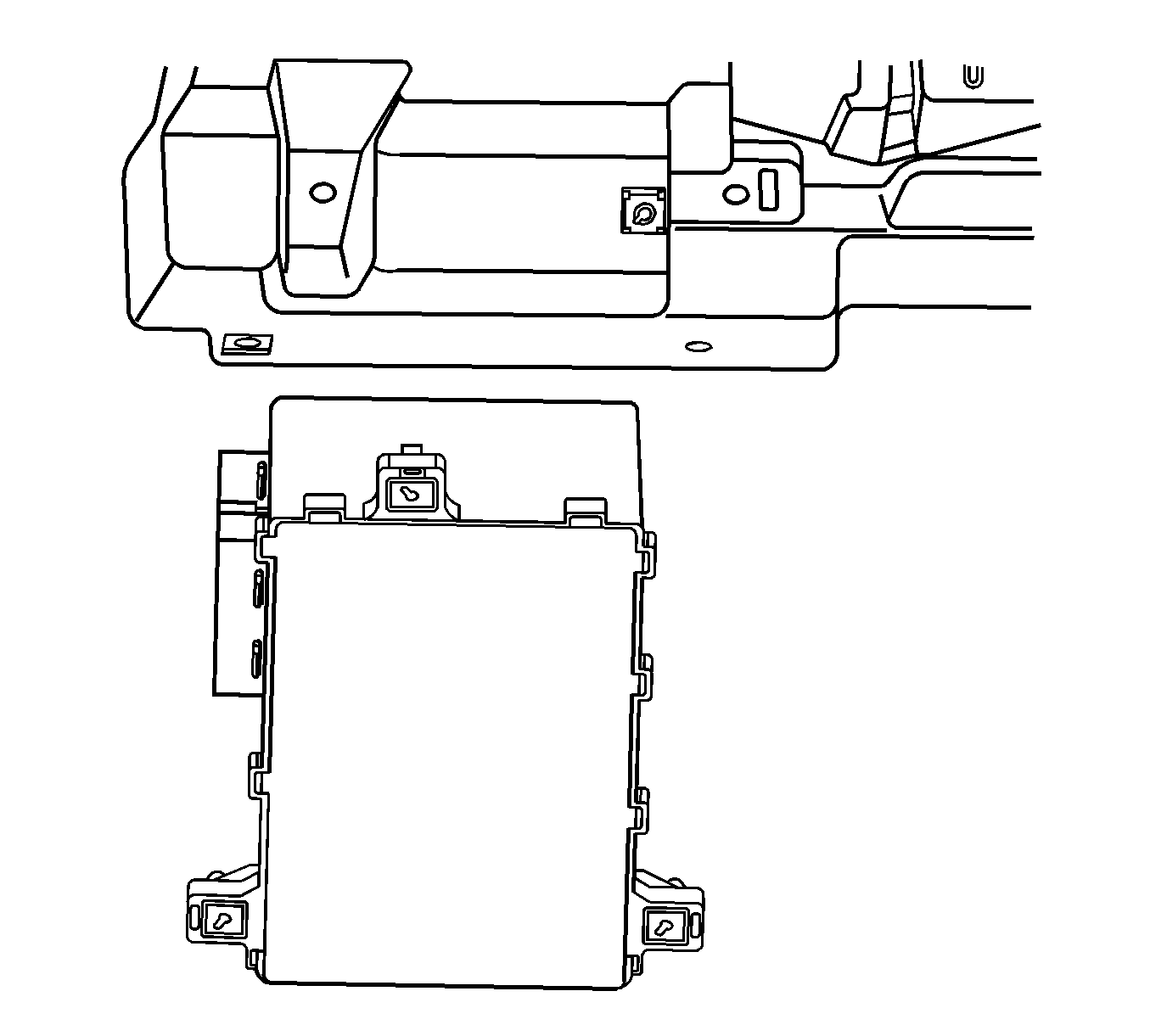
Removal Procedure


    Object Number: 1283069  Size: SH

    Notice: Electrostatic discharge (ESD) can damage many solid-state electrical components. ESD susceptible components may or may not be labeled with the ESD symbol. Handle all electrical components carefully. Use the following precautions in order to avoid ESD damage:

       • Touch a metal ground point in order to remove your body's static charge before servicing any electronic component; especially after sliding across the vehicle seat.
       • Do not touch exposed terminals. Terminals may connect to circuits susceptible the ESD damage.
       • Do not allow tools to contact exposed terminals when servicing connectors.
       • Do not remove components from their protective packaging until required to do so.
       • Avoid the following actions unless required by the diagnostic procedure:
          - Jumpering or grounding of the components or connectors.
          - Connecting test equipment probes to components or connectors. Connect the ground lead first when using test probes.
       • Ground the protective packaging of any component before opening. Do not rest solid-state components on metal workbenches, or on top of TVs, radios, or other electrical devices.

    Important: You must perform the new body control module (BCM) setup when replacing the BCM. Refer to Body Control Module (BCM) Programming/RPO Configuration .

  1. Remove the left instrument panel (I/P) outer trim cover. Refer to Instrument Panel Outer Trim Cover Replacement in Instrument Panel, Gages, and Console.
  2. Press to release the cam lock. Disconnect the upper electrical connector from the BCM.

  3. Object Number: 1202960  Size: SH
  4. Remove the left I/P insulator. Refer to Instrument Panel Insulator Panel Replacement - Left Side in Instrument Panel, Gages, and Console.

  5. Object Number: 928912  Size: SH
  6. Remove the knee bolster. Refer to Driver Knee Bolster Replacement in Instrument Panel, Gages, and Console.

  7. Object Number: 1205342  Size: SH
  8. Press to release the cam lock. Disconnect the lower BCM electrical connectors.

  9. Object Number: 1202105  Size: SH
  10. Remove the BCM bracket screws and remove the BCM and bracket from the I/P.

  11. Object Number: 1202109  Size: SH
  12. Remove the BCM from the BCM bracket.

Installation Procedure

  1. Install the BCM to the BCM bracket.

  2. Object Number: 1202109  Size: SH
  3. Install the BCM and BCM bracket to the I/P.
  4. Notice: Refer to Fastener Notice in the Preface section.


    Object Number: 1202105  Size: SH
  5. Install the BCM screws.
  6. Tighten
    Tighten the screws to 2 N·m (18 lb in).


    Object Number: 1205342  Size: SH
  7. Connect the lower BCM electrical connectors. Engage the cam lock.

  8. Object Number: 928912  Size: SH
  9. Install the knee bolster. Refer to Driver Knee Bolster Replacement in Instrument Panel, Gages, and Console.

  10. Object Number: 1202960  Size: SH
  11. Install the left I/P insulator. Refer to Instrument Panel Insulator Panel Replacement - Left Side in Instrument Panel Gages and Console.

  12. Object Number: 1283069  Size: SH
  13. Connect the upper electrical connector to the BCM. Engage the cam lock.
  14. Install the left I/P outer trim cover. Refer to Instrument Panel Outer Trim Cover Replacement in Instrument Panel, Gages, and Console.
  15. Perform the new BCM setup. Refer to Body Control Module (BCM) Programming/RPO Configuration .
  16. Refer to Control Module References for programming and setup information.