GM Service Manual Online
For 1990-2009 cars only
Connector 1: Accelerator Pedal Position (APP) Sensor
Connector 2: Camshaft Position (CMP) Sensor
Connector 3: Crankshaft Position (CKP) Sensor
Connector 4: Engine Coolant Temperature (ECT) Sensor
Connector 5: Evaporative Emission (EVAP) Canister Purge Solenoid Valve
Connector 6: Evaporative Emission (EVAP) Canister Vent Solenoid
Connector 7: Exhaust Gas Recirculation (EGR) Valve
Connector 8: Fuel Injector 1
Connector 9: Fuel Injector 2
Connector 10: Fuel Injector 3
Connector 11: Fuel Injector 4
Connector 12: Fuel Injector 5
Connector 13: Fuel Injector 6
Connector 14: Fuel Pump and Sender Assembly
Connector 15: Fuel Tank Pressure Sensor
Connector 16: Heated Oxygen Sensor (HO2S) 1 (w/o NU3)
Connector 17: Heated Oxygen Sensor (HO2S) 1 (NU3)
Connector 18: Heated Oxygen Sensor (HO2S) 2
Connector 19: Ignition Control Module (ICM)
Connector 20: Knock Sensor (KS) 1
Connector 21: Knock Sensor (KS) 2
Connector 22: Manifold Absolute Pressure (MAP) Sensor
Connector 23: Mass Airflow (MAF)/Intake Air Temperature (IAT) Sensor
Connector 24: Secondary Air Injection (AIR) Control Solenoid Valve/Pressure Sensor, Bank 2 (NU3)
Connector 25: Secondary Air Injection (AIR) Pump (NU3)
Connector 26: Secondary Air Injection (AIR) Pump Relay (NU3)
Connector 27: Secondary Air Injection (AIR) Solenoid Relay (NU3)
Connector 28: Throttle Actuator Control (TAC) Module

Accelerator Pedal Position (APP) Sensor


Object Number: 632357  Size: CH

Connector Part Information

  • OEM: 15326829
  • Service: 88953153
  • Description: 6-Way F 150 Series Sealed (BK)

Terminal Part Information

  • Terminal/Tray: 12191819/8
  • Core/Insulation Crimp: E/A
  • Release Tool/Test Probe: 15315247/J-35616-2A (GY)

Accelerator Pedal Position (APP) Sensor

Pin

Wire Color

Circuit No.

Function

A

PU

1272

Low Reference

B

L-BU

1162

APP Sensor 2 Signal

C

TN

1274

5-Volt Reference

D

BN

1271

Low Reference

E

D-BU

1161

APP Sensor 1 Signal

F

WH/BK

1164

5-Volt Reference

Camshaft Position (CMP) Sensor


Object Number: 1526379  Size: CH

Connector Part Information

  • OEM: 12162279
  • Service: 12126476
  • Description: 3-Way F Metri-Pack 150.2 Series, Pull To Seat (GY)

Terminal Part Information

  • Terminal/Tray: See Terminal Repair Kit
  • Core/Insulation Crimp: See Terminal Repair Kit
  • Release Tool/Test Probe: See Terminal Repair Kit

Camshaft Position (CMP) Sensor

Pin

Wire Color

Circuit No.

Function

A

BN/WH

633

CMP Sensor Signal

B

BK/WH

836

Low Reference

C

WH/BK

644

12-Volt Reference

Crankshaft Position (CKP) Sensor


Object Number: 280765  Size: CH

Connector Part Information

  • OEM: 12162834
  • Service: 15305942
  • Description: 4-Way F Metri-Pack 150.2 Series, Sealed, Pull-To-Seat

Terminal Part Information

  • Terminal/Tray: See Terminal Repair Kit
  • Core/Insulation Crimp: See Terminal Repair Kit
  • Release Tool/Test Probe: See Terminal Repair Kit

Crankshaft Position (CKP) Sensor

Pin

Wire Color

Circuit No.

Function

A

L-BU/WH

1800

CKP Sensor 2 Signal

B

YE

573

CKP Sensor 1 Signal

C

BK/WH

836

Low Reference

D

WH/BK

644

12-Volt Reference

Engine Coolant Temperature (ECT) Sensor


Object Number: 655692  Size: CH

Connector Part Information

  • OEM: 12162193
  • Service: 88987183
  • Description: 2-Way F Metri-Pack 150.2 Pull To Seat Series Sealed (BK)

Terminal Part Information

  • Terminal/Tray: See Terminal Repair Kit
  • Core/Insulation Crimp: See Terminal Repair Kit
  • Release Tool/Test Probe: See Terminal Repair Kit

Engine Coolant Temperature (ECT) Sensor

Pin

Wire Color

Circuit No.

Function

A

BK

2761

Low Reference

B

YE

410

ECT Sensor Signal

Evaporative Emission (EVAP) Canister Purge Solenoid Valve


Object Number: 684795  Size: CH

Connector Part Information

  • OEM: 12052643
  • Service: 12101858
  • Description: 2-Way F Metri-Pack 150 Series Sealed (RD)

Terminal Part Information

  • Terminal/Tray: 12048074/2
  • Core/Insulation Crimp: E/1
  • Release Tool/Test Probe: 12094429/J-35616-2A (GY)

Evaporative Emission (EVAP) Canister Purge Solenoid Valve

Pin

Wire Color

Circuit No.

Function

A

PK

339

Ignition 1 Voltage

B

D-GN/WH

428

EVAP Canister Purge Solenoid Valve Control

Evaporative Emission (EVAP) Canister Vent Solenoid


Object Number: 684795  Size: CH

Connector Part Information

  • OEM: 12052643
  • Service: 12101858
  • Description: 2-Way F Metri-Pack 150 Series Sealed (RD)

Terminal Part Information

  • Terminal/Tray: 12048074/2
  • Core/Insulation Crimp: E/1
  • Release Tool/Test Probe: 12094429/J-35616-2A (GY)

Evaporative Emission (EVAP) Canister Vent Solenoid

Pin

Wire Color

Circuit No.

Function

A

OG

2840

Battery Positive Voltage

B

WH

1310

EVAP Canister Vent Solenoid Valve Control

Exhaust Gas Recirculation (EGR) Valve


Object Number: 684863  Size: CH

Connector Part Information

  • OEM: 12186056
  • Service: 12126477
  • Description: 5-Way F Metri-Pack 150.2 Pull To Seat Series Sealed (BK)

Terminal Part Information

  • Terminal/Tray: See Terminal Repair Kit
  • Core/Insulation Crimp: See Terminal Repair Kit
  • Release Tool/Test Probe: See Terminal Repair Kit

Exhaust Gas Recirculation (EGR) Valve

Pin

Wire Color

Circuit No.

Function

A

GY

435

EGR Solenoid Low Control

B

BK

2753

Low Reference

C

BN

1456

EGR Valve Position Signal

D

GY

2702

5-Volt Reference 1

E

RD

1676

EGR Solenoid High Control

Fuel Injector 1


Object Number: 1243578  Size: CH

Connector Part Information

  • OEM: 15421930
  • Service: 89046558
  • Description: 2-Way F Metri-Pack 150 Series Sealed (BK)

Terminal Part Information

  • Terminal/Tray: See Terminal Repair Kit
  • Core/Insulation Crimp: See Terminal Repair Kit
  • Release Tool/Test Probe: See Terminal Repair Kit

Fuel Injector 1

Pin

Wire Color

Circuit No.

Function

A

PK

639

Ignition 1 Voltage

B

BK

1744

Fuel Injector 1 Control

Fuel Injector 2


Object Number: 1243578  Size: CH

Connector Part Information

  • OEM: 15421930
  • Service: 89046558
  • Description: 2-Way F Metri-Pack 150 Series Sealed (BK)

Terminal Part Information

  • Terminal/Tray: See Terminal Repair Kit
  • Core/Insulation Crimp: See Terminal Repair Kit
  • Release Tool/Test Probe: See Terminal Repair Kit

Fuel Injector 2

Pin

Wire Color

Circuit No.

Function

A

PK

639

Ignition 1 Voltage

B

L-GN/BK

1745

Fuel Injector 2 Control

Fuel Injector 3


Object Number: 1243578  Size: CH

Connector Part Information

  • OEM: 15421930
  • Service: 89046558
  • Description: 2-Way F Metri-Pack 150 Series Sealed (BK)

Terminal Part Information

  • Terminal/Tray: See Terminal Repair Kit
  • Core/Insulation Crimp: See Terminal Repair Kit
  • Release Tool/Test Probe: See Terminal Repair Kit

Fuel Injector 3

Pin

Wire Color

Circuit No.

Function

A

PK

639

Ignition 1 Voltage

B

PK/BK

1746

Fuel Injector 3 Control

Fuel Injector 4


Object Number: 1243578  Size: CH

Connector Part Information

  • OEM: 15421930
  • Service: 89046558
  • Description: 2-Way F Metri-Pack 150 Series Sealed (BK)

Terminal Part Information

  • Terminal/Tray: See Terminal Repair Kit
  • Core/Insulation Crimp: See Terminal Repair Kit
  • Release Tool/Test Probe: See Terminal Repair Kit

Fuel Injector 4

Pin

Wire Color

Circuit No.

Function

A

PK

639

Ignition 1 Voltage

B

L-BU/BK

844

Fuel Injector 4 Control

Fuel Injector 5


Object Number: 1243578  Size: CH

Connector Part Information

  • OEM: 15421930
  • Service: 89046558
  • Description: 2-Way F Metri-Pack 150 Series Sealed (BK)

Terminal Part Information

  • Terminal/Tray: See Terminal Repair Kit
  • Core/Insulation Crimp: See Terminal Repair Kit
  • Release Tool/Test Probe: See Terminal Repair Kit

Fuel Injector 5

Pin

Wire Color

Circuit No.

Function

A

PK

639

Ignition 1 Voltage

B

BK/WH

845

Fuel Injector 5 Control

Fuel Injector 6


Object Number: 1243578  Size: CH

Connector Part Information

  • OEM: 15421930
  • Service: 89046558
  • Description: 2-Way F Metri-Pack 150 Series Sealed (BK)

Terminal Part Information

  • Terminal/Tray: See Terminal Repair Kit
  • Core/Insulation Crimp: See Terminal Repair Kit
  • Release Tool/Test Probe: See Terminal Repair Kit

Fuel Injector 6

Pin

Wire Color

Circuit No.

Function

A

PK

639

Ignition 1 Voltage

B

YE/BK

846

Fuel Injector 6 Control

Fuel Pump and Sender Assembly


Object Number: 684908  Size: CH

Connector Part Information

  • OEM: 15326631
  • Service: 15306360
  • Description: 4-Way F GT 280 Series Sealed (BK)

Terminal Part Information

  • Terminal/Tray: See Terminal Repair Kit
  • Core/Insulation Crimp: See Terminal Repair Kit
  • Release Tool/Test Probe: See Terminal Repair Kit

Fuel Pump and Sender Assembly

Pin

Wire Color

Circuit No.

Function

A

BK

150

Ground

B

PU

30

Fuel Level Sensor Signal

C

BK/WH

651

Ground

D

GY

120

Fuel Pump Supply Voltage

Fuel Tank Pressure Sensor


Object Number: 516611  Size: CH

Connector Part Information

  • OEM: 12059595
  • Service: 88986451
  • Description: 3-Way F Metri-Pack 150 Series, Sealed (BK)

Terminal Part Information

  • Terminal/Tray: 12084200/2
  • Core/Insulation Crimp: E/1
  • Release Tool/Test Probe: 12094429/J-35616-14 (GN)

Fuel Tank Pressure Sensor

Pin

Wire Color

Circuit No.

Function

A

OG/BK

469

Low Reference

B

D-GN

890

Fuel Tank Pressure Sensor Signal

C

GY/BK

416

5-Volt Reference 1

Heated Oxygen Sensor (HO2S) 1 (w/o NU3)


Object Number: 456551  Size: CH

Connector Part Information

  • OEM: 12160482
  • Service: 12167154
  • Description: 4-Way F Metri-Pack 150 Series Sealed (BK)

Terminal Part Information

  • Terminal/Tray: 12048074/2
  • Core/Insulation Crimp: E/1
  • Release Tool/Test Probe: 12094429/J-35616-2A (GY)

Heated Oxygen Sensor (HO2S) 1 (w/o NU3)

Pin

Wire Color

Circuit No.

Function

A

TN/WH

3111

HO2S Low Signal

B

PU/WH

3110

HO2S High Signal

C

BK/WH

3112

HO2S Heater Low Control Sensor 1

D

PK

839

Ignition 1 Voltage

Heated Oxygen Sensor (HO2S) 1 (NU3)


Object Number: 1526380  Size: CH

Connector Part Information

  • OEM: 12176896
  • Service: 15305960
  • Description: 4-Way F Metri-Pack 150 Series Sealed (GY)

Terminal Part Information

  • Terminal/Tray: 12048074/2
  • Core/Insulation Crimp: E/1
  • Release Tool/Test Probe: 12094429/J-35616-2A (GY)

Heated Oxygen Sensor (HO2S) 1 (NU3)

Pin

Wire Color

Circuit No.

Function

A

TN/WH

3111

HO2S Low Signal

B

PU/WH

3110

HO2S High Signal

C

BK/WH

3112

HO2S Heater Low Control Sensor 1

D

PK

839

Ignition 1 Voltage

Heated Oxygen Sensor (HO2S) 2


Object Number: 806613  Size: CH

Connector Part Information

  • OEM: 15326423
  • Service: 15306319
  • Description: 4-Way M Metri-Pack 150 Series Sealed (GY)

Terminal Part Information

  • Terminal/Tray: 12045773/2
  • Core/Insulation Crimp: E/1
  • Release Tool/Test Probe: 12094429/J-35616-3 (GY)

Heated Oxygen Sensor (HO2S) 2

Pin

Wire Color

Circuit No.

Function

A

TN/WH

3121

HO2S Low Signal

B

PU

3120

HO2S High Signal

C

BK/WH

3122

HO2S Heater Low Control Sensor 2

D

PK

839

Ignition 1 Voltage

Ignition Control Module (ICM)


Object Number: 516619  Size: CH

Connector Part Information

  • OEM: 12124379
  • Service: 12167123
  • Description: 14-Way F Metri-Pack 150 Pull To Seat Series Sealed (BK)

Terminal Part Information

  • Pins: A- D, F, G- P
  • Terminal/Tray: See Terminal Repair Kit
  • Core/Insulation Crimp: See Terminal Repair Kit
  • Release Tool/Test Probe: See Terminal Repair Kit

Ignition Control Module (ICM)

Pin

Wire Color

Circuit No.

Function

A

WH

423

IC Timing Control

B

TN/BK

424

IC Timing Signal

C

L-BU/BK

647

Medium Resolution Engine Speed Signal

D

PU/WH

430

Low Resolution Engine Speed Signal

E

--

--

Not Used

F

BK

630

Camshaft Position Signal

G

YE

573

CKP Sensor 1 Signal

H

L-BU/WH

1800

CKP Sensor 2 Signal

J

BN/WH

633

CMP Sensor Signal

K

BK/WH

51

Ground

L

RD/BK

453

Low Reference

M

BK/WH

836

Low Reference

N

WH/BK

644

12-Volt Reference

P

PK

239

Ignition 1 Voltage

Knock Sensor (KS) 1


Object Number: 95764  Size: CH

Connector Part Information

  • OEM: 12176800
  • Service: 15306070
  • Description: 1-Way F Metri-Pack 150 Series Sealed (GY)

Terminal Part Information

  • Terminal/Tray: 12048074/2
  • Core/Insulation Crimp: E/1
  • Release Tool/Test Probe: 12094429/J-35616-2A (GY)

Knock Sensor (KS) 1

Pin

Wire Color

Circuit No.

Function

1

D-BU

496

Knock Sensor 1 Signal

Knock Sensor (KS) 2


Object Number: 95764  Size: CH

Connector Part Information

  • OEM: 12176800
  • Service: 15306070
  • Description: 1-Way F Metri-Pack 150 Series Sealed (GY)

Terminal Part Information

  • Terminal/Tray: See Terminal Repair Kit
  • Core/Insulation Crimp: See Terminal Repair Kit
  • Release Tool/Test Probe: See Terminal Repair Kit

Knock Sensor (KS) 2

Pin

Wire Color

Circuit No.

Function

1

L-BU

1876

Knock Sensor 2 Signal

Manifold Absolute Pressure (MAP) Sensor


Object Number: 684840  Size: CH

Connector Part Information

  • OEM: 12129946
  • Service: 12129946
  • Description: 3-Way F Metri-Pack 150 Series Sealed (GY)

Terminal Part Information

  • Terminal/Tray: 12048074/2
  • Core/Insulation Crimp: E/1
  • Release Tool/Test Probe: 12094429/J-35616-2A (GY)

Manifold Absolute Pressure (MAP) Sensor

Pin

Wire Color

Circuit No.

Function

A

OG/BK

469

Low Reference

B

L-GN

432

MAP Sensor Signal

C

GY

2704

5-Volt Reference 2

Mass Airflow (MAF)/Intake Air Temperature (IAT) Sensor


Object Number: 647974  Size: CH

Connector Part Information

  • OEM: 15326822
  • Service: 15326822
  • Description: 5-Way F GT 150 Series Sealed (BK)

Terminal Part Information

  • Terminal/Tray: 12191819/8
  • Core/Insulation Crimp: E/A
  • Release Tool/Test Probe: 15315247/J-35616-2A (GY)

Mass Airflow (MAF)/Intake Air Temperature (IAT) Sensor

Pin

Wire Color

Circuit No.

Function

A

YE

492

MAF Sensor Signal

B

PK

339

Ignition 1 Voltage

C

BK/WH

451

Ground

D

TN

472

IAT Sensor Signal

E

BK

2760

Low Reference

Secondary Air Injection (AIR) Control Solenoid Valve/Pressure Sensor, Bank 2 (NU3)


Object Number: 1526382  Size: CH

Connector Part Information

  • OEM: 15460171
  • Service: 88988601
  • Description: 6-Way F GT 150 Series Sealed (BK)

Terminal Part Information

  • Pins: 1- 4, 6
  • Terminal/Tray: 12191819/8
  • Core/Insulation Crimp: E/A
  • Release Tool/Test Probe: 15315247/J-35616-2A (GY)

Secondary Air Injection (AIR) Control Solenoid Valve/Pressure Sensor, Bank 2 (NU3)

Pin

Wire Color

Circuit No.

Function

1

BK

476

Low Reference

2

WH

5268

Air Pressure Sensor Signal

3

GY

474

5-Volt Reference 1

4

BK/WH

451

Ground

5

--

--

Not Used

6

PU

421

Air Injection Reaction Solenoid Relay Coil Control

Secondary Air Injection (AIR) Pump (NU3)


Object Number: 1526384  Size: CH

Connector Part Information

  • OEM: 15326677
  • Service: 88953351
  • Description: 2-Way F GT 280 Series Sealed (BK)

Terminal Part Information

  • Terminal/Tray: 15392777/23
  • Core/Insulation Crimp: B/5
  • Release Tool/Test Probe: J-38125-553/J-35616-4A (PU)

Secondary Air Injection (AIR) Pump (NU3)

Pin

Wire Color

Circuit No.

Function

A

RD

78

Air Pump Supply Voltage

B

BK

1050

Ground

Secondary Air Injection (AIR) Pump Relay (NU3)


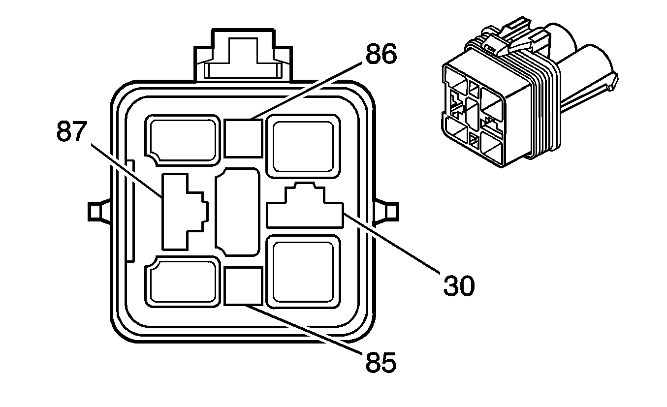
Object Number: 603108  Size: CH

Connector Part Information

  • OEM: 15336745
  • Service: 15306331
  • Description: 4-Way F GR 280 Series, Metri-Pack 800 Series, Sealed (GY)

Terminal Part Information

  • Pins: 30, 87
  • Terminal/Tray: 15336748/20
  • Core/Insulation Crimp: F/3
  • Release Tool/Test Probe: 12150860/J-35616-44 (YE)
  • Pins: 85, 86
  • Terminal/Tray: 15304719/19
  • Core/Insulation Crimp: E/5
  • Release Tool/Test Probe: 15315247/J-35616-4A (PU)

Secondary Air Injection (AIR) Pump Relay (NU3)

Pin

Wire Color

Circuit No.

Function

30

OG

1540

Battery Positive Voltage

85

PK

339

Ignition 1 Voltage

86

BN/WH

436

Air Pump Relay Control

87

RD

78

Air Pump Supply Voltage

Secondary Air Injection (AIR) Solenoid Relay (NU3)


Object Number: 535912  Size: CH

Connector Part Information

  • OEM: 12129716
  • Service: 15306045
  • Description: 4-Way F Metri-Pack 280 Series, Flexlock (GY)

Terminal Part Information

  • Terminal/Tray: 12110847/4
  • Core/Insulation Crimp: See Terminal Repair Kit
  • Release Tool/Test Probe: 15315247/J-35616-4A (PU)

Secondary Air Injection (AIR) Solenoid Relay (NU3)

Pin

Wire Color

Circuit No.

Function

30

PK

339

Ignition 1 Voltage

85

PK

339

Ignition 1 Voltage

86

PK/BK

429

Air Injection Reaction Solenoid Relay Coil Control

87

PU

421

Air Injection Reaction Solenoid Control

Throttle Actuator Control (TAC) Module


Object Number: 1243581  Size: CH

Connector Part Information

  • OEM: 15355368
  • Service: 15355368
  • Description: 20-Way F GT 150 Series Sealed (GY)

Terminal Part Information

  • Pins: 1- 4, 6- 8, 11- 13, 16- 18
  • Terminal/Tray: 15326267/19
  • Core/Insulation Crimp: Pins 1 4, 6- 8, 11-13, 16, 17 - E/4
  • Core/Insulation Crimp: Pins 18 - E/1
  • Release Tool/Test Probe: 15315247/J-35616-2A (GY)

Throttle Actuator Control (TAC) Module

Pin

Wire Color

Circuit No.

Function

1

TN

1274

5-Volt Reference

2

PU

1272

Low Reference

3

L-BU

1162

APP Sensor 2 Signal

4

D-GN

389

Vehicle Speed Signal

5

--

--

Not Used

6

WH

17

Stop Lamp Switch Signal

7

OG/BK

1061

UART Serial Data Secondary

8

TN/WH

551

Ground

9-10

--

--

Not Used

11

D-BU

1161

APP Sensor 1 Signal

12

BN

1271

Low Reference

13

WH/BK

1164

5-Volt Reference

14-15

--

--

Not Used

16

TN

800

UART Serial Data Primary

17

TN/WH

551

Ground

18

PK

39

Ignition 1 Voltage

19-20

--

--

Not Used