|
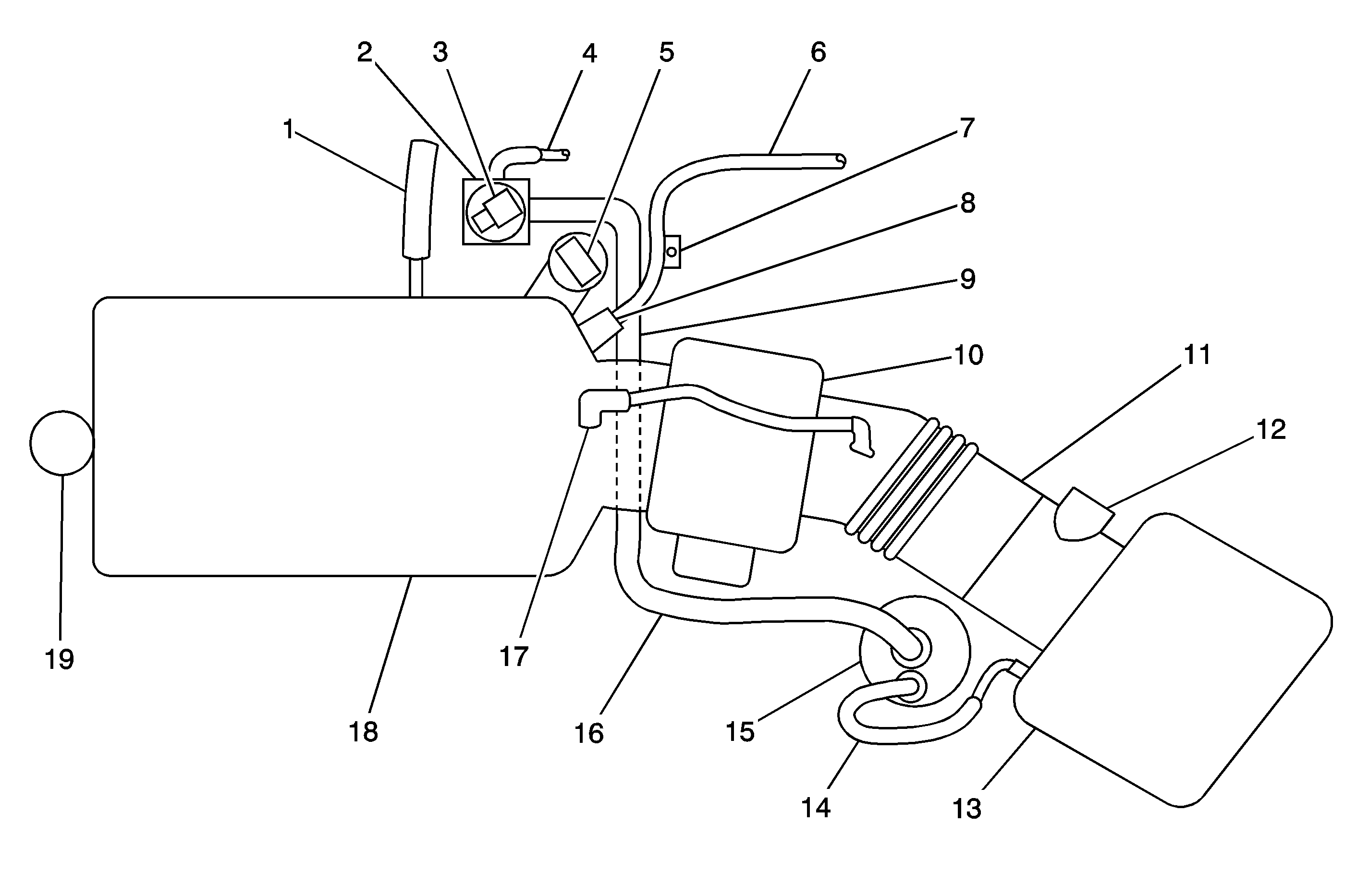
| (1) | To Vacuum Brake
Booster |
| (2) | AIR Check Valve |
| (3) | AIR Pressure
Sensor |
| (4) | AIR Pipe to
Exhaust Manifold |
| (5) | Exhaust Gas
Recirculation (EGR) Valve |
| (6) | EVAP Purge
Line |
| (7) | EVAP Service
Port |
| (8) | EVAP Canister
Purge Solenoid Valve |
| (9) | AIR Pump
Outlet Pipe |
| (10) | Throttle
Actuator Control (TAC) Assembly |
| (11) | Air Intake
Duct |
| (12) | Mass Airflow
(MAF)/Intake Air Temperature (IAT) Sensor |
| (13) | Air Cleaner
Assembly |
| (14) | AIR Pump
Fresh Air Inlet Tube |
| (15) | AIR Pump |
| (16) | AIR Pump
Outlet Pipe |
| (17) | Breather Tube |
| (18) | Intake Manifold |
| (19) | Manifold Absolute
Pressure (MAP) Sensor |