GM Service Manual Online
For 1990-2009 cars only

Removal Procedure

Caution: Refer to Brake Fluid Irritant Caution in the Preface section.

Caution: For safety reasons, the Brake Pressure Modulator Valve (BPMV) must not be repaired; the complete unit must be replaced. With the exception of the EBCM/EBTCM, no screws may be loosened. If screws are loosened, it will not be possible to get the brake circuits leak-tight and personal injury may result.

Notice: Refer to Brake Fluid Effects on Paint and Electrical Components Notice in the Preface section.


    Object Number: 230405  Size: SH
  1. Turn the ignition switch to the OFF position.
  2. Lift the lock tab (1) on the electronic brake control module (EBCM) harness connector.
  3. Disconnect the EBCM harness connector.

  4. Object Number: 230408  Size: SH

    Important: Note the locations of the brake pipes in order to aid in installation.

  5. Disconnect the BPMV outlet brake pipe fittings (1) from the BPMV (2).

  6. Object Number: 230409  Size: SH
  7. Disconnect the master cylinder inlet brake pipe fittings (1) from the BPMV (2).

  8. Object Number: 230410  Size: SH
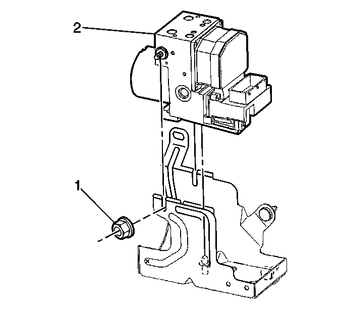
  9. Remove the 2 BPMV nuts (1).
  10. Remove the BPMV (2) and EBCM as an assembly from the vehicle.
  11. Remove the EBCM, if necessary. Refer to Electronic Brake Control Module Replacement .

Installation Procedure


    Object Number: 230410  Size: SH
  1. Install EBCM, if removed. Refer to Electronic Brake Control Module Replacement .
  2. Install BPMV (2) to the bracket.
  3. Notice: Refer to Fastener Notice in the Preface section.

  4. Install the 2 BPMV nuts (1).
  5. Tighten
    Tighten the nuts to 12 N·m (106 lb in).


    Object Number: 230409  Size: SH

    Caution: Make sure brake pipes are correctly connected to brake pressure modulator valve. If brake pipes are switched by mistake, wheel lockup will occur and personal injury may result. The only two ways this condition can be detected are by using a Scan Tool or by doing an Antilock stop.

    Important: If a new BPMV is being installed, remove the shipping plugs from the valve openings in the compartment during the next step.

    Important: Use the locations noted during removal.

  6. Install the master cylinder inlet brake pipe fittings (1) to the BPMV (2).
  7. Tighten
    Tighten the fittings to 19 N·m (14 lb ft).


    Object Number: 230408  Size: SH
  8. Install the BPMV outlet brake pipe fittings (1) to the BPMV (2).
  9. Tighten
    Tighten the fittings to 15 N·m (11 lb ft).


    Object Number: 230405  Size: SH
  10. Connect the EBCM harness connector.
  11. Engage the EBCM harness connector lock tab (1).
  12. Bleed the antilock brake system. Refer to Antilock Brake System Automated Bleed Procedure .
  13. Turn the ignition switch to the RUN position, engine off.
  14. Perform the Diagnostic System Check - Vehicle .