GM Service Manual Online
For 1990-2009 cars only
Figure 1:

Case and Associated Parts (1 of 4)


Object Number: 1174468  Size: LF
(3)Transmission Case Assembly
(53)Control Valve Body Cover
(54)Control Valve Body Cover Gasket
(56)Control Valve Body Cover Bolt M 8 X 1.25 X 25
(57)Control Valve Body Cover TORX® Head Bolt M 8 X 1.25 X 21
(58)Control Valve Body Cover to Case Stud M 8 X 1.25 X 24
(59)Control Valve Body Cover to Case Cover Seal
(200)Oil Pump Assembly - Model Dependent
(200)Oil Pump Assembly - Model Dependent
(225)Wiring Harness Assembly (IMS)
(226)Wiring Harness Clip
(230)Pump Cover to Case Cover Bolt M 6 X 1.0 X 95.0
(231)Pump Body to Case Bolt M6 X 1.0 X 87.5
(300)Control Valve Body Assembly - Model Dependent
(300)Control Valve Body Assembly - Model Dependent
(368)Spacer Plate and Gaskets/Control Valve Body Bolt
(368)Spacer Plate and Gaskets/Control Valve Body Bolt
(372)1/4 Ball Check Valve
(372)5/16 Ball Check Valve
(373)Ball Check Valve
(373)Ball Check Valve
(374)Control Valve Body Bolt M 6 X 1.0 X 65.0
(375)Control Valve Body to Case Bolt M 6 X 1.0 X 60.0
(375)Control Valve Body to Case Bolt M 6 X 1.0 X 60.0
(376)Control Valve Body to Case Bolt M 6 X 1.0 X 30.0
(377)Control Valve Body to Case Cover Bolt M 6 X 1.0 X 45.0
(378)Control Valve Body to Case Cover Bolt M 6 X 1.0 X 55.0
(380)Control Valve Body to Case Bolt M 8 X 1.25 X 90.0
(381)Control Valve Body to Case Bolt M 6 X 1 X 20.0
(382)TCC Solenoid Valve Screen/Seal Assembly
(382)TCC Solenoid Valve Screen/Seal Assembly
(384)Control Valve Body to Case Bolt M 6 X 1.0 X 85.0
(390)Temperature Sensor Clip
(391)Transmission Fluid Temperature Sensor
(391)Transmission Fluid Temperature Sensor
(395)Transmission Fluid Pressure (TFP) Manual Valve Position Switch Assembly
(396)Control Valve Body Spacer Plate and Gasket Assembly
Figure 2:

Case and Associated Parts (2 of 4)


Object Number: 1480135  Size: LF
(1)Torque Converter Assembly
(2)Torque Converter Bushing
(3)Transmission Case
(4)Right Axle Oil Seal Assembly
(5)Case Extension Bolt M 10 X 1.5 X 35.0
(6)Case Extension Assembly
(7a)Front Differential Carrier Bushing
(7b)Output Shaft Bearing Assembly
(8)Case Extension Seal
(9)Vehicle Speed Sensor Bolt M 8 X 1.25 X 12.0
(10)Vehicle Speed Sensor Assembly
(11)Vehicle Speed Sensor O-Ring Seal
(12)FWD Servo Cover Bolt M 6 X 1.0 X 20.0
(13)Forward Band Servo Cover
(14)Forward Band Servo Cover Seal
(15)Forward Band Servo Pin Retaining Ring
(16)Forward Band Servo Piston
(18)Forward Band Servo Piston Oil Seal Ring
(19)Forward Band Servo Piston Cushion Outer Spring
(20)Forward Servo Cushion Spring Retainer
(21)Forward Band Servo Piston Apply Pin
(22)Forward Band Servo Piston Return Spring
(23)Transmission Oil Pan Bolt M 6 X 1.0 X 17.0
(24)Transmission Oil Pan
(25) Transmission Oil Pan Gasket
(26)Transmission Oil Pan Magnet
(27)Oil Dam
(37)Transmission Vent Assembly
(38)Oil Pressure Test Hole Plug  1/8 - 27 NPTF
(39)Reverse Band Servo Cover Retaining Ring
(40)Reverse Band Servo Cover
(41)Reverse Band Servo Cover O-Ring Seal
(42)Reverse Band Servo Pin Retaining Ring
(43)Reverse Band Servo Piston Oil Seal Ring
(44)Reverse Band Servo Piston
(45)Reverse Band Servo Piston Cushion Spring
(46)Reverse Band Servo Piston Cushion Spring Retainer
(47)Reverse Band Servo Piston Cushion Spring Inner
(48)Reverse Band Servo Piston Apply Pin
(49)Reverse Band Servo Piston Return Spring
(60)Clip, Oil Cooler Quick Connect
(60)Clip, Oil Cooler Quick Connect
(61)Transmission Oil Cooler Pipe Fitting 9/16-18 UNF
(62)Transmission Oil Cooler Pipe Fitting 9/16-18 UNF
(65)Forward Band Servo Piston Cushion Inner Spring
(66)Oil Cooler Pipe Fitting O-Ring Seal
(100)Transmission Oil Filter Assembly
(101)Transmission Oil Filter Seal Assembly
(227)Oil Pump Drive Shaft Assembly
(228)Oil Pump Drive Shaft Seal
(372)Case Cover Ball Check Valve
(372)Case Cover Ball Check Valve
(400)Complete Case Cover Assembly
Figure 3:

Case and Associated Parts (3 of 4) - Without Touch Activated Power


Object Number: 1202050  Size: LF
(3)Transmission Case
(400)Complete Case Cover Assembly
(432)4th Clutch Shaft Thrust Washer
(433)Case Cover Bolt/Screw TORX® Special M6 X 1.0 X 32.0
(434)Case Cover Bolt/Screw M6 X 1.0 X 40.0
(435)Case Cover Bolt/Screw M8 X 1.25 X 50.0
(436)Case Cover Bolt/Screw M6 X 1.0 X 30.0
(501)4th Clutch Fiber Plate Assembly
(501)4th Clutch Fiber Plate Assembly
(502)4th Clutch Steel Plate
(502)4th Clutch Steel Plate
(504)4th Clutch Shaft Assembly
(505)4th Clutch Shaft Thrust Washer
(506)Driven Sprocket
(507)Drive Link Assembly
(508)Driven Sprocket Thrust Washer
(509)Drive Shaft Retaining Ring
(510a)Standard Output Shaft
(510b)Heavy Duty Output Shaft
(513)Turbine Shaft Oil Seal Ring
(514)Drive Sprocket Thrust Washer
(515)Drive Sprocket Retaining Ring
(516)Drive Sprocket
(517)Drive Sprocket Thrust Washer
(518)Turbine Shaft
(519)Turbine Shaft Oil Seal Ring
(520)Turbine Shaft O-Ring Seal
(521)Drive Sprocket Support Bearing Assembly
(522)Drive Sprocket Support
(523)Drive Sprocket Support Bushing
(524)Drive Sprocket Support Bolt/Screw M8 X 1.25 X 24.0
(525)Torque Converter Oil Seal Assembly
(526)Case Cover Pin
(526)Case Cover Pin
(527)Speed Sensor Reluctor Wheel Assembly
(528)4th Clutch Apply Plate
Figure 4:

Case and Associated Parts (3 of 4) - With Touch Activated Power


Object Number: 1202054  Size: LF
(3)Transmission Case
(400)Complete Case Cover Assembly
(432)4th Clutch Shaft Thrust Washer
(433)Case Cover Bolt/Screw TORX® Special M6 X 1.0 X 32.0
(434)Case Cover Bolt/Screw M6 X 1.0 X 40.0
(435)Case Cover Bolt/Screw M8 X 1.25 X 50.0
(436)Case Cover Bolt/Screw M6 X 1.0 X 30.0
(502)4th Clutch Steel Plate
(504)4th Clutch Shaft Assembly
(505)4th Clutch Shaft Thrust Washer
(506)Driven Sprocket
(507)Drive Link Assembly
(508)Driven Sprocket Thrust Washer
(509)Drive Shaft Retaining Ring
(510a)Standard Output Shaft
(510b)Heavy Duty Output Shaft
(513)Turbine Shaft Oil Seal Ring
(514)Drive Sprocket Thrust Washer
(515)Drive Sprocket Retaining Ring
(516)Drive Sprocket
(517)Drive Sprocket Thrust Washer
(518)Turbine Shaft
(519)Turbine Shaft Oil Seal Ring
(520)Turbine Shaft O-Ring Seal
(521)Drive Sprocket Support Bearing Assembly
(522)Drive Sprocket Support
(523)Drive Sprocket Support Bushing
(524)Drive Sprocket Support Bolt/Screw M8 X 1.25 X 24.0
(525)Torque Converter Oil Seal Assembly
(526)Case Cover Pin
(526)Case Cover Pin
(527)Speed Sensor Reluctor Wheel Assembly
(528)4th Clutch Apply Plate
(529)4th Clutch Fiber Plate Assembly
(529)4th Clutch Fiber Plate Assembly
(530)4th Clutch Steel Plate
(530)4th Clutch Steel Plate
Figure 5:

Case and Associated Parts (4 of 4)


Object Number: 49405  Size: LF
(3)Transmission Case Assembly
(103)2-1 Manual Band Servo Cover Bolt/Screw M8 X 1.25 X 25.0 (3)
(104)2-1 Manual Band Servo Cover
(105)2-1 Manual Band Servo Cover Seal
(106)2-1 Manual Band Servo Piston Pin Retaining Ring
(107)2-1 Manual Band Servo Piston Seal
(108)2-1 Manual Band Servo Piston
(109)2-1 Manual Band Servo Piston Cushion Spring
(110)2-1 Manual Band Servo Piston Spring Retainer
(111)2-1 Manual Band Servo Piston Pin
(112)2-1 Manual Band Servo Piston Spring
(113)2-1 Manual Band Servo Piston Cylinder O-Ring Seal
(114)2-1 Manual Band Servo Piston Cylinder
(115)2-1 Manual Band Servo Exhaust Screen Assembly
(117a)Forward Band Anchor Pin
(117b)Reverse Band Anchor Pin
(120)Thermo Element Plate Pin
(121)Thermo Element
(122)Thermo Element Plate
(123)Thermo Element Plate Center Pin
(124)Forward Band Servo Oil Pipe
(125)2-1 Manual Band Servo Oil Pipe
(126)Lube Oil Pipe
(127)Lube Oil Hose Clamp
(127)Lube Oil Hose Clamp
(128)Lube Oil Hose
(129)Lube Oil Pipe Retainer
(130)Lube Oil Pipe and Washer Assembly
(131)Accumulator Cover Bolt/Screw M6 X 1.0 X 28.0 (11)
(132)Accumulator Cover
(134)Accumulator Cover Spacer Plate Assembly
(135a)1-2 Accumulator Piston Pin
(135b)2-3 Accumulator Piston Pin
(136a)1-2 Accumulator Piston
(136b)2-3 Accumulator Piston
(137a)1-2 Accumulator Piston Oil Seal Ring
(137b)2-3 Accumulator Piston Oil Seal Ring
(138)2-3 Accumulator Piston Outer Spring
(139)1-2 Accumulator Piston Cushion Spring
(140)1-2 and 2-3 Accumulator Housing
(142)1-2 Accumulator Piston Outer Spring
(143)2-3 Accumulator Piston Cushion Spring
Figure 6:

Oil Pump Assembly


Object Number: 1493991  Size: LF
(201)Pump Cover
(209)Oil Pump Vane Ring
(209)Oil Pump Vane Ring
(210)Oil Pump Selective Rotor
(211)Oil Pump Selective Vane
(212)Oil Pump Slide Oil Seal Ring
(213)Oil Pump Slide O-Ring Seal
(214)Oil Pump Selective Slide
(215)Oil Pump Slide Pivot Pin
(220)Oil Pump Slide Seal
(221)Oil Pump Slide Seal Support
(227)Oil Pump Body
(228)Oil Pump Body Alignment Pin
(229)Oil Pump Base
(230)Oil Pump Prime Spring
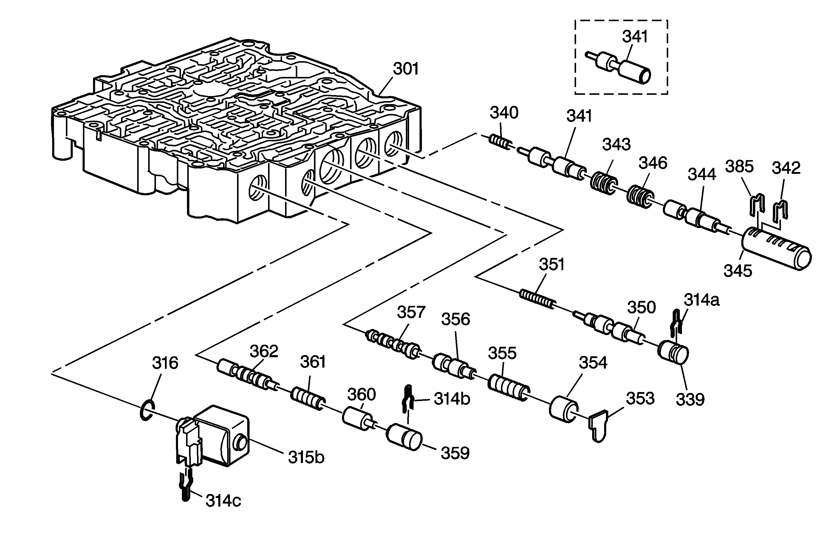
Figure 7:

Control Valve Body Assembly - (1 of 2)


Object Number: 1202055  Size: MF
(301)Control Valve Body Machined
(302)Line Boost Valve and Bushing Retainer
(303)Line Boost Valve Bore Plug
(304)Line Boost Valve
(305)TCC PWM Solenoid Valve O-Ring Seal
(306)TCC PWM Solenoid Valve O-Ring Seal
(307)Pressure Control Solenoid Valve O-Ring Seal
(309)Reverse Boost Valve Bushing
(310)Reverse Boost Valve
(311)Pressure Regulator Valve Spring Outer
(312)Pressure Regulator Valve Inner Spring
(313)Pressure Regulator Valve
(314d)1-2, 3-4 Shift Solenoid Valve Retainer
(314e)Pressure Control Solenoid Valve Retainer
(314f)TCC PWM Solenoid Valve Retainer
(314g)TCC Regulator Apply Valve Bore Plug Retainer
(315)1-2, 3-4 Shift Solenoid Valve Assembly
(316a)1-2, 3-4 Shift Solenoid Valve O-Ring Seal
(316b)Pressure Control Solenoid Valve O-Ring Seal
(317)1-2 Shift Valve Spring
(318)1-2 Shift Valve
(320)Torque Signal Regulator Valve Spring
(321)Torque Signal Regulator Valve
(322)Pressure Control Solenoid Valve Assembly
(323)Line Pressure Relief Valve Spring
(324)Line Pressure Relief Valve
(325)Line Pressure Relief Valve Spring Retainer
(326)TCC Regulator Apply Valve Spring
(327)TCC Regulator Apply Valve - Some Models have touch activated Power
(327)TCC Regulator Apply Valve - Some Models have touch activated Power
(328)TCC Regulator Apply Valve Bore Plug O-Ring Seal
(329)TCC Regulator Apply Valve Bore Plug
(334)TCC PWM Solenoid Valve Assembly
(335)TCC Control Valve
(336)TCC Control Valve Spring
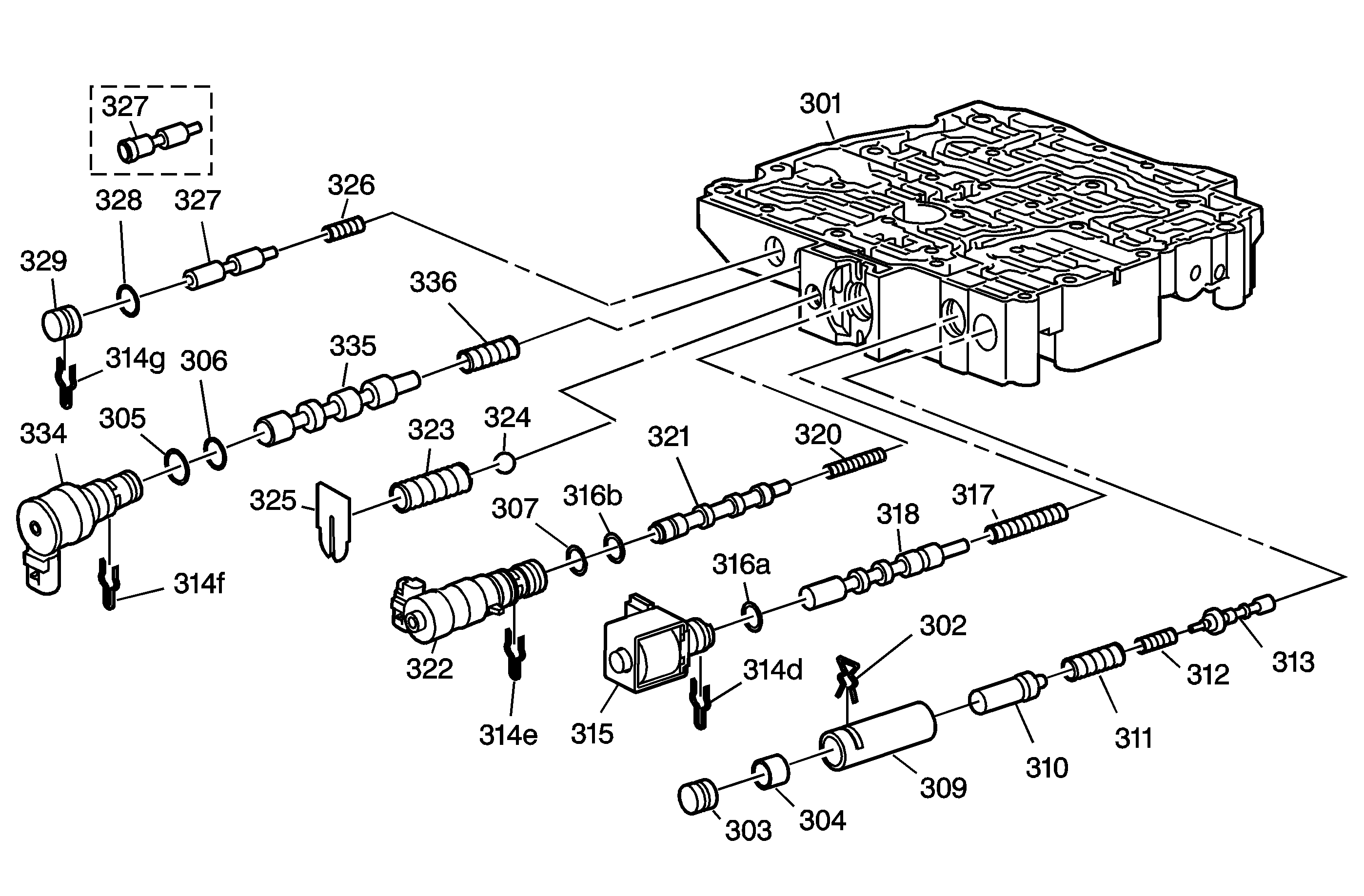
Figure 8:

Control Valve Body Assembly - (2 of 2)


Object Number: 1202058  Size: MF
(301)Machined Control Valve Body
(314a)1-2 Accumulator Valve Retainer
(314b)4-3 Manual Downshift Valve Retainer
(314c)2-3 Shift Solenoid Valve Retainer
(315b)2-3 Shift Solenoid Valve Assembly
(316)O-Ring Seal
(339)1-2 Accumulator Valve Bore Plug
(340)3-4 Accumulator Valve Spring
(341)3-4 Accumulator Valve
(341)3-4 Accumulator Valve - Some Models
(342)2-3 Accumulator Valve Bore Plug Retainer
(343)2-3 Accumulator Valve Bore Plug
(344)2-3 Accumulator Valve
(345)2-3 Accumulator Valve Bushing
(346)2-3 Accumulator Valve Spring
(350)1-2 Accumulator Valve
(351)1-2 Accumulator Valve Spring
(353)3-2 Manual Downshift Valve Retainer
(354)3-2 Manual Downshift Valve Bore Plug
(355)3-2 Manual Downshift Valve Spring
(356)3-2 Manual Downshift Valve
(357)2-3 Shift Valve
(359)4-3 Manual Downshift Valve Bore Plug
(360)4-3 Manual Downshift Valve
(361)4-3 Manual Downshift Valve Spring
(362)3-4 Shift Valve
(385)2-3 Accumulator Valve Bushing Assembly Retainer
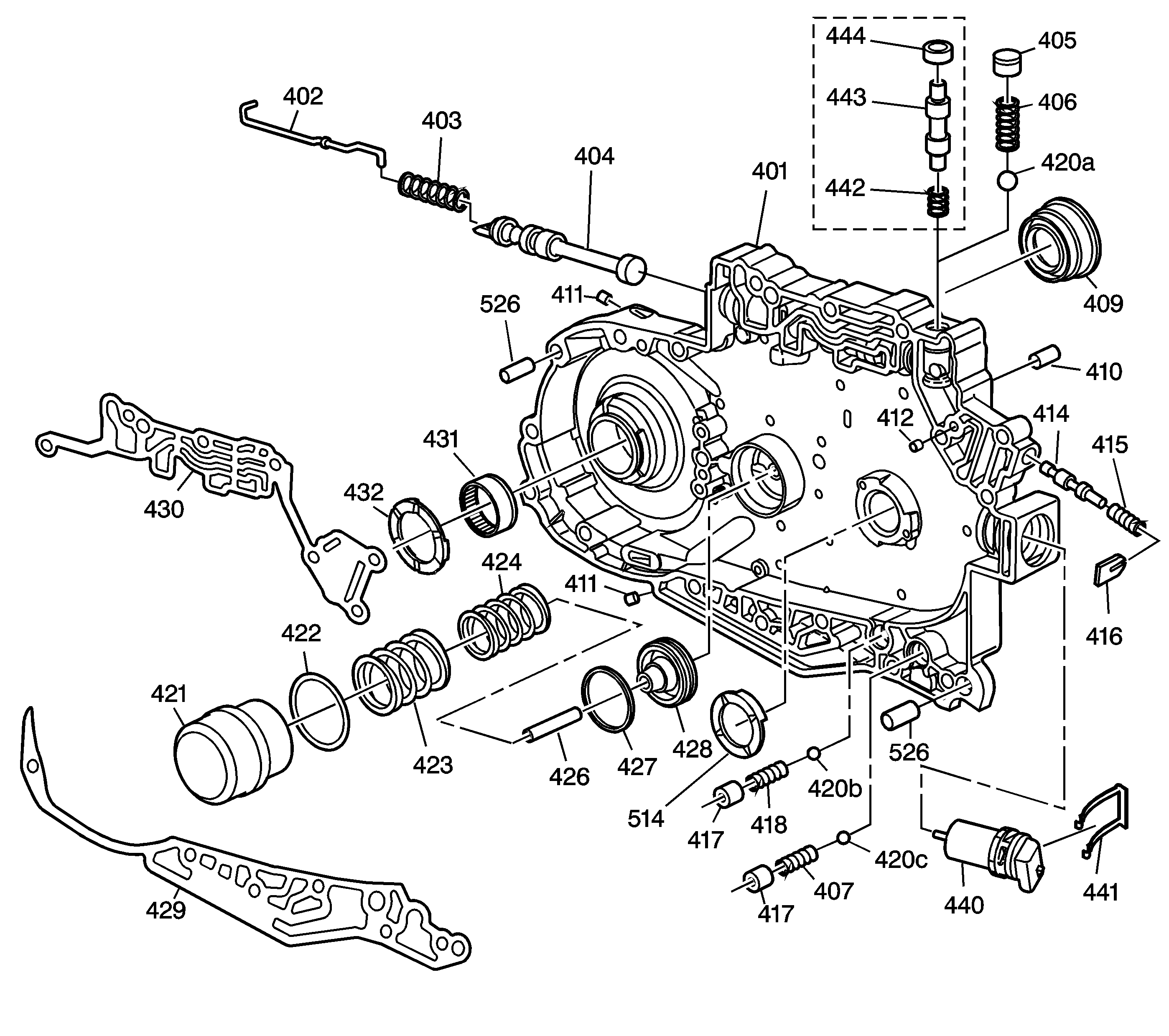
Figure 9:

Case Cover Assembly


Object Number: 1833139  Size: LF
(401)Case Cover
(402)Manual Valve Link
(403)Manual Valve Link Spring
(404)Manual Valve
(405)Low Blow Off Ball Valve Bore Plug
(406)Low Blow Off Ball Valve Spring
(407)Cooler Ball Valve Spring
(409)Left Side Axle Oil Seal Assembly
(410)Control Valve Body Alignment Sleeve
(411)Bore Plug
(411)Bore Plug
(412)Orificed Cup Plug
(414)Actuator Feed Limit Valve
(415)Actuator Feed Limit Valve Spring
(416)Actuator Feed Limit Valve Spring Retainer
(417)Ball Valve Bore Plug
(418)TCC Blow Off Ball Valve Spring
(420a)Low Blow Off Ball Valve
(420b)TCC Blow Off Ball Valve
(420c)Cooler Ball Valve
(421)3-4 Accumulator Piston Cylinder
(422)3-4 Accumulator Piston Cylinder O-Ring Seal
(423)3-4 Accumulator Piston Outer Spring
(424)3-4 Accumulator Piston Inner Spring
(426)3-4 Accumulator Piston Pin
(427)3-4 Accumulator Piston Oil Seal Ring
(428)3-4 Accumulator Piston
(429)Case Cover Lower Gasket
(430)Case Cover Upper Gasket
(431)Front Wheel Drive Shaft Bearing Assembly
(432)Fourth Clutch Shaft Thrust Washer
(440)Input Speed Sensor Assembly
(441)Input Speed Sensor Clip
(442)Low Regulator Valve Spring 3-4 Accumulator Valve - Some models have touch activated power
(443)Low Regulator Valve 3-4 Accumulator Valve - Some models have touch activated power
(444)Low Regulator Valve Bore Plug 3-4 Accumulator Valve - Some models have touch activated power
(514)Drive Sprocket/Case Cover Thrust Washer
(526)Case Cover Dowel Pin
(526)Case Cover Dowel Pin
Figure 10:

Internal Components (1 of 2)


Object Number: 897575  Size: LF
(601)4th Clutch Spring Retaining Ring
(602)4th Clutch Piston Return Spring Assembly
(603)4th Clutch Piston Assembly
(604)4th Clutch Piston Seal Outer
(605)4th Clutch Piston Seal Inner
(606)Drawn Cup Bearing Assembly
(607)Orificed Cup Plug
(608)Drive Link Lube Scoop
(609)Driven Sprocket Support Assembly
(610)Cup Plug
(611)Thrust Washer Driven Sprocket Support 2nd Clutch Drum
(613)Oil Seal Ring
(614)Driven Sprocket Support Bushing
(615)Reverse Band Assembly
(616)75.5 OD X 8.0 Bushing
(617)2nd Clutch Housing
(618)Check Valve Retainer and Ball Assembly 2nd Clutch
(619)70.0 OD X 11.0 Bushing
(620)2nd Clutch Piston w/Molded Seal
(621)2nd Clutch Apply Ring and Release Spring Assembly
(622)Retaining Ring
(623)2nd Clutch Plate Waved
(624)2nd Clutch Plate Assembly Fiber
(625)2nd Clutch Reaction Plate Steel
(626)Backing Support Ring Plate Steel
(627)2nd Clutch Retaining Ring Outer
(628)Oil Seal Ring Input Shaft
(629)Thrust Bearing Support Sprocket/Thrust Washer
(630)Selective Thrust Washer Bearing/Input Clutch Hub
(631)Input Shaft Bushing
(632)Input Housing Sleeve and Shaft Assembly
(633)Check Valve Retainer and Ball Assembly
(634)Input Clutch Piston Seal Inner
(635)Input Clutch Piston Seal Outer
(636)Input Clutch Piston
(637)Input Clutch Spring and Retainer Assembly
(638)O-Ring Seal
(639)3rd Clutch Piston Housing
(640)Retaining Ring 3rd Clutch Piston Housing/Input Shaft
(640)Retaining Ring 3rd Clutch Piston Housing/Input Shaft
(641)3rd Clutch Piston Seal Inner
(642)3rd Clutch Piston and Seal Assembly
(643)3rd Clutch Spring Retainer and Guide Assembly
(644)Thrust Bearing Assembly
(645)3rd Clutch Plate Waved
(646)3rd Clutch Plate Assembly OD Spline
(647)3rd Clutch Plate Assembly ID Spline
(648)3rd Clutch Backing Plate
(649)3rd Clutch Backing Plate Retaining Ring
(654)Input Clutch Apply Plate
(655)Input Clutch Plate Waved
(656)Input Clutch Plate Assembly Fiber - Sprag Model
(657)Input Clutch Plate Steel
(657)Input Clutch Plate Steel
(658)Input Clutch Backing Plate Steel
(659)Input Clutch Backing Plate Retaining Ring
(716)2nd Clutch Apply Reaction Plate Tapered
(723)4th Clutch Shaft to Input Housing Bearing
(724)3rd Clutch Piston Housing Ball Check Valve Assembly
(725)Input Clutch Plate Assembly Fiber - Pawl Model
Figure 11:

Internal Components (2 of 2)


Object Number: 1568665  Size: LF
(668)Input Sun Gear
(669)Reverse Reaction Drum
(671)Input Sun Gear Thrust Bearing Assembly
(672)Input Complete Carrier Assembly
(673)Input Carrier/Reaction Carrier Lube Dam
(674)Input/Reaction Carrier Thrust Bearing Assembly
(675)Reaction Complete Carrier Assembly
(676)Reaction Carrier/Sun Gear Thrust Bearing Assembly
(677)Left Hand Reaction Sun Gear Bushing
(678)Reaction Sun/Drum Gear Assembly
(679)Right Hand Reaction Sun Gear Bushing
(680)2/1 Manual Band Assembly
(683)1/2 Support Roller Clutch Assembly
(685)Thrust Bearing Assembly
(686)1/2 Support Bushing
(687)1/2 Support and Drum
(688)Forward Band Assembly
(689)Final Drive Sun Gear Shaft
(690)Final Drive Internal Gear Bushing
(690)Final Drive Internal Gear Bushing
(691)Bearing 1/2 Support/Internal Gear
(692)Retaining Ring Final Drive Internal Gear
(693)Final Drive Internal Gear
(694)Park Pawl Assembly
(695)Thrust Bearing Assembly Internal Gear/Parking Gear
(696)Parking Gear
(697)Final Drive Sun Gear
(698)Carrier/Sun Gear Thrust Bearing Assembly
(699)Spiral Pinion Gear Pin Retaining Ring
(700) Differential/Final Drive Carrier Assembly
(701)Differential Pinion Shaft
(702)Differential Pinion Shaft Retaining Pin
(703)Thrust Washer Differential Pinion
(703)Thrust Washer Differential Pinion
(704)Differential Pinon Gear
(704)Differential Pinon Gear
(705)Differential Side Gear MN7 has unique left/right gears
(705)Differential Side Gear MN7 has unique left/right gears
(706)Bronze Thrust Washer Differential Side Gear
(706)Bronze Thrust Washer Differential Side Gear
(708)Pinion Thrust Washer Steel
(708)Pinion Thrust Washer Steel
(709)Roller Needle Bearing
(710)Pinion Needle Bearing Spacer
(711)Final Drive Planetary Pinion Gear
(712)Planetary Pinion Gear Pin
(713)Vehicle Speed Sensor Reluctor Wheel
(714)Differential Carrier/Case Washer Thrust
(715)Thrust Bearing Assembly
(727)3rd Clutch Pawl Assembly
(728)Input Clutch Pawl Assembly
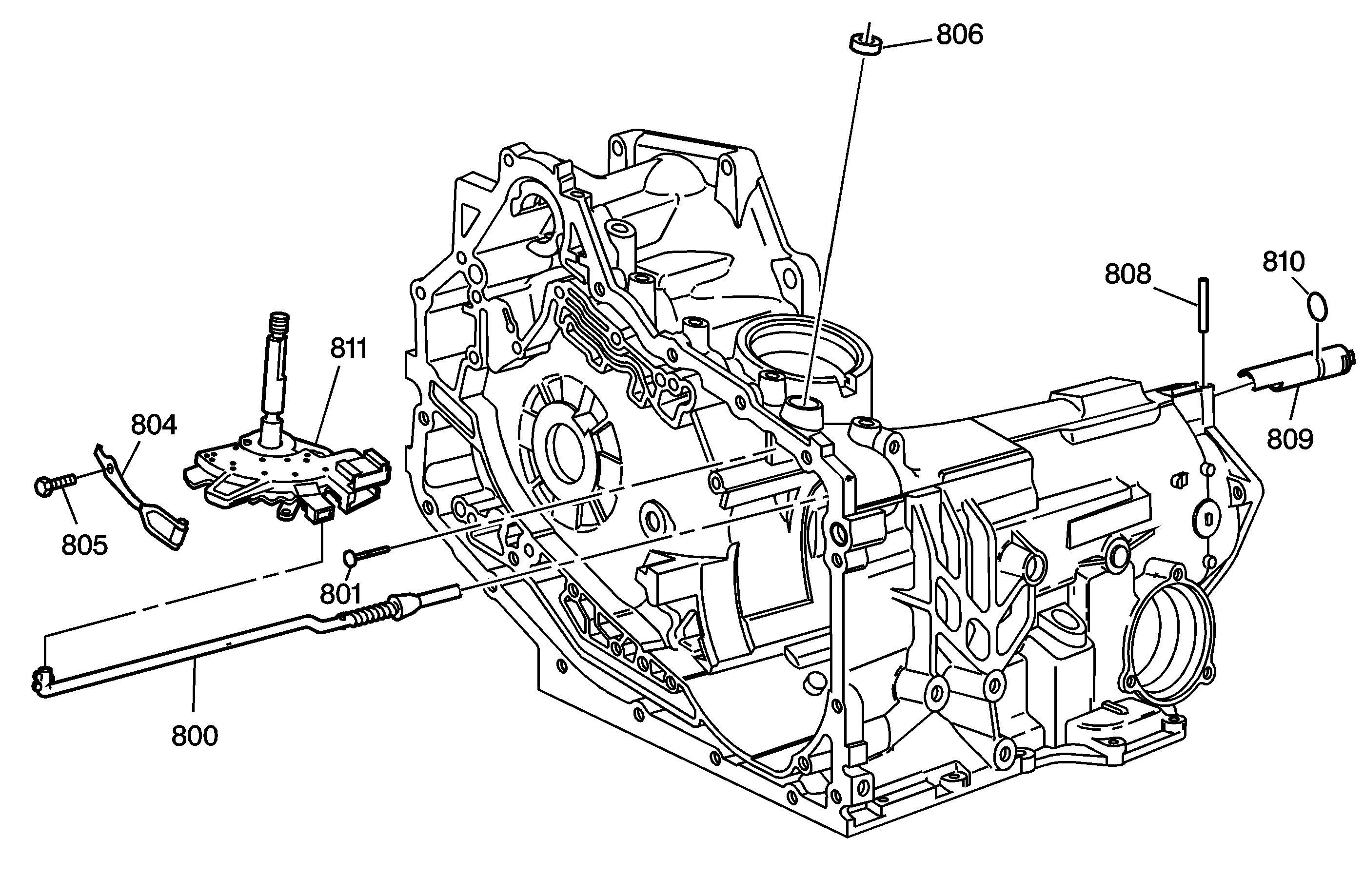
Figure 12:

Manual Shaft and Parking System Assembly


Object Number: 840829  Size: MF
(800)Park Pawl Actuator Assembly
(801)Manual Shift Shaft Pin
(804)Manual Shift Detent Assembly
(805)Manual Shift Detent Bolt/Screw
(806)Manual Shift Shaft Seal Assembly
(808)Park Pawl Actuator Guide Pin
(809)Park Pawl Actuator Guide
(810)Park Pawl Actuator Guide O-Ring Seal
(811)Lever Assembly-Manual Shaft Detent with Internal Mode Switch (IMS)
Figure 13:

Transmission to Transfer Case Components


Object Number: 870722  Size: LF
(3)Transmission Case
(8)Case Extension Seal
(9)Vehicle Speed Sensor Bolt M8 X 1.25 X 12.0
(10)Vehicle Speed Sensor Assembly
(11)Vehicle Speed Sensor O-Ring Seal
(509)Output Shaft Snap Ring
(509)Output Shaft Snap Ring
(510)Output Shaft
(689)Final Drive Sun Gear Shaft
(695)Parking Gear Thrust Bearing
(696)Parking Gear
(697)Final Drive Sun Gear
(901)Oil Dam
(902)Selective Washer
(903)Brace Bolts
(903)Brace Bolts
(904)Transfer Case Lower Brace Bolt
(905)Side Brace
(906)Lower Brace
(907)Transfer Case to Case Bolts
(908)Transfer Case Assembly
(909)Transfer Case to Case Bolts
(910)Transfer Case to Case Bolts
(911)Output Stub Shaft
(912)Output Stub Shaft Snap Ring