GM Service Manual Online
For 1990-2009 cars only

Removal Procedure


    Object Number: 12957  Size: SH
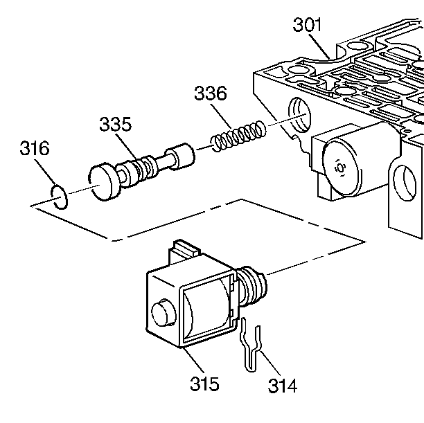
  1. Remove the case side cover. Refer to Control Valve Body Cover Replacement .
  2. Disconnect the torque converter clutch (TCC) solenoid electrical connector.
  3. Remove the TCC solenoid retaining clip (314)
  4. Remove the TCC solenoid (315).

Installation Procedure


    Object Number: 12957  Size: SH
  1. Install the TCC solenoid (315).
  2. Install the TCC solenoid retaining clip (314).
  3. Connect the TCC solenoid electrical connector.
  4. Install the case side cover. Refer to Control Valve Body Cover Replacement .
  5. Important: It is recommended that transmission adaptive pressure (TAP) information be reset. Resetting the TAP values using a scan tool will erase all learned values in all cells. As a result, The ECM, PCM or TCM will need to relearn TAP values. Transmission performance may be affected as new TAP values are learned.

  6. Reset the TAP values. Refer to Transmission Adaptive Functions .