GM Service Manual Online
For 1990-2009 cars only

Tools Required

J 36850 Transjel Lubricant

Removal Procedure

  1. Remove the case side cover. Refer to Control Valve Body Cover Replacement .
  2. Remove the oil pump. Refer to Oil Pump Replacement .

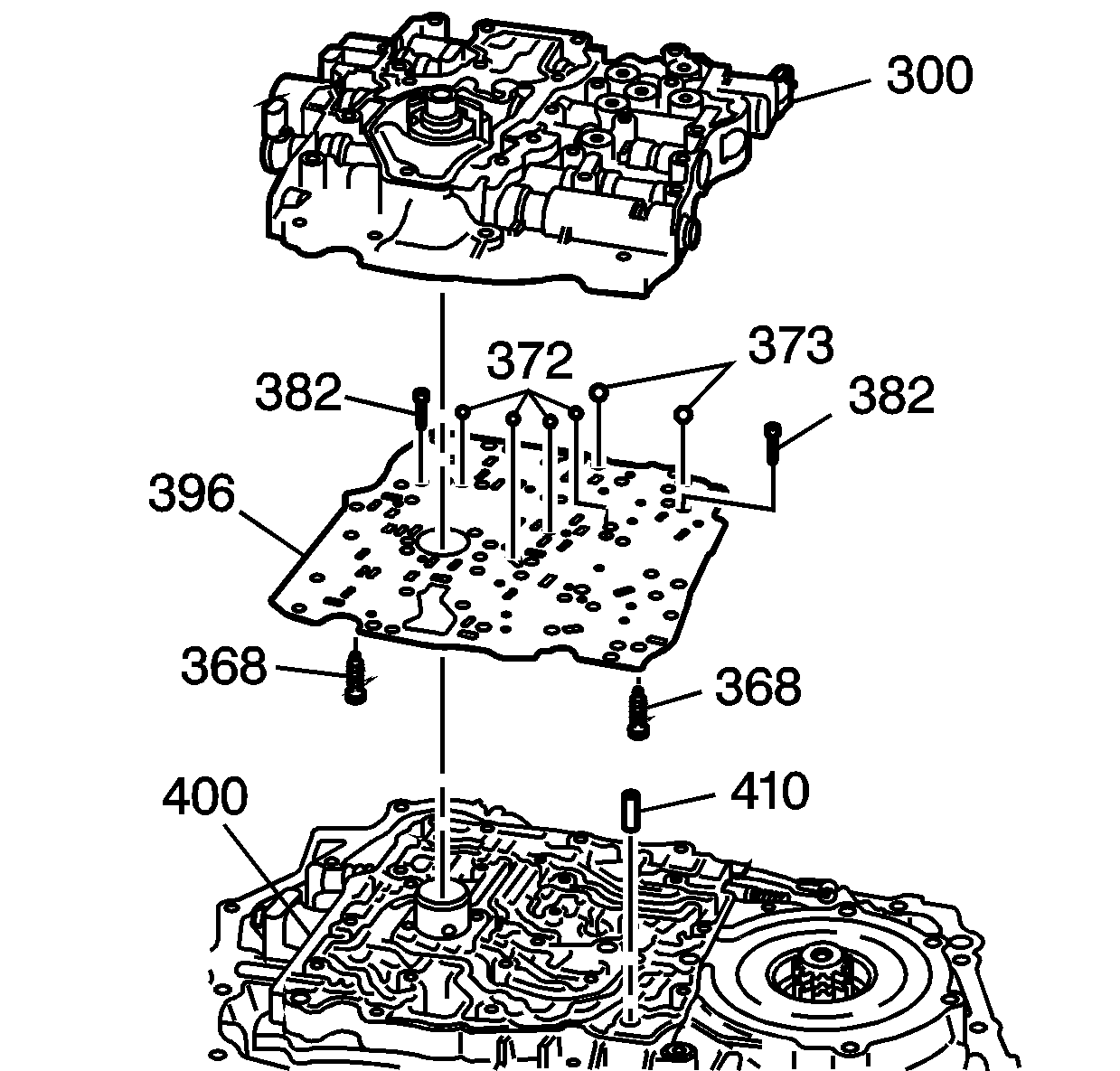
  3. Object Number: 164796  Size: LH
  4. Remove the valve body bolts (374-381, 384).

  5. Object Number: 768829  Size: SH
  6. Remove the valve body (300) while keeping the spacer plate and gasket assembly (396) with the transaxle.

  7. Object Number: 49399  Size: SH
  8. Remove the ball check valves (372 and 373) from the valve body.

  9. Object Number: 768830  Size: SH
  10. Remove the spacer plate and gasket assembly (396) .

  11. Object Number: 48229  Size: SH
  12. Remove the ball check valves (372) from the case cover.

  13. Object Number: 12988  Size: SH
  14. Inspect each check valve seat in the spacer plate (370) for excessive peening. Place a ball check valve (372) on each seat and use a flashlight in order to look for visible light between the valve and the seat.

Installation Procedure

    Notice: Do NOT use any type of grease to retain parts during the assembly of this unit. Using greases other than the recommended assembly lube changes the transaxle fluid characteristics. Using greases other than the recommended assembly lube causes undesirable shift conditions and/or filter clogging. Use TRANSJEL™ J 36850 or equivalent during the assembly of this unit.


    Object Number: 48229  Size: SH
  1. Install the ball check valves (372) into the case cover. Use the J 36850 to retain the ball check valves in their proper locations.

  2. Object Number: 768830  Size: SH
  3. Install the gasket and spacer plate assembly (396).

  4. Object Number: 49399  Size: SH
  5. Install the ball check valves (372 and 373) into the valve body. Use the J 36850 to retain the ball check valves in their proper locations.

  6. Object Number: 768829  Size: SH

    Important: Do NOT use impact type tools on the valve body or on the oil pump.

  7. Install the spacer plate/gasket assembly (396) and the valve body (300).
  8. Notice: Refer to Fastener Notice in the Preface section.


    Object Number: 164796  Size: LH
  9. Install the valve body bolts (374-381, 384).
  10. Tighten

        • Tighten the M6 X 1.0 X 20 bolt (381) to 8 N·m (70 lb in).
        • Tighten the M6 X 1.0 X 30 bolt (376) to 12 N·m (106 lb in).
        • Tighten the M6 X 1.0 X 45 bolt (377) to 12 N·m (106 lb in).
        • Tighten the M6 X 1.0 X 55 bolt (378) to 12 N·m (106 lb in).
        • Tighten the M6 X 1.0 X 60 bolt (375) to 12 N·m (106 lb in).
        • Tighten the M6 X 1.0 X 65 bolt (374) to 12 N·m (106 lb in).
        • Tighten the M6 X 1.0 X 85 bolt (384) to 12 N·m (106 lb in).
        • Tighten the M6 X 1.0 X 95 bolt (379) to 16 N·m (11 lb ft).
        • Tighten the M8 X 1.25 X 90 bolt (380) to 25 N·m (18 lb ft).
  11. Install the oil pump. Refer to Oil Pump Replacement .
  12. Install the case side cover. Refer to Control Valve Body Cover Replacement .
  13. Important: It is recommended that transmission adaptive pressure (TAP) information be reset.

    Resetting the TAP values using a scan tool will erase all learned values in all cells. As a result, The ECM, PCM or TCM will need to relearn TAP values. Transmission performance may be affected as new TAP values are learned.

  14. Reset the TAP values. Refer to Transmission Adaptive Functions .