GM Service Manual Online
For 1990-2009 cars only

Tools Required

J 34094-A Thermo Element Height Gage

Removal Procedure

  1. Raise and support the vehicle. Refer to Lifting and Jacking the Vehicle .
  2. Remove the oil pan. Refer to Oil Pan Replacement .

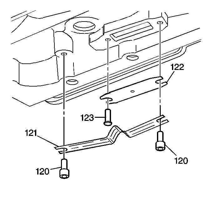
  3. Object Number: 164817  Size: SH
  4. Remove the thermo element pins (120, 123) and the washers.
  5. Remove the thermo element (121) and the thermo element plate (122).

Installation Procedure


    Object Number: 164816  Size: SH
  1. Use the J 34094-A to set the middle thermo pin (123).
  2. Install the new thermo element plate (122).
  3. Install the pin (120) and the washer.
  4. Use the J 34094-A to set the height of the pin and the washer furthest from the accumulator.
  5. Use the J 34094-A to set the height of the second pin (120) and the washer.

  6. Object Number: 164817  Size: SH
  7. Install the thermo element (121) between the two pins (120). The V in the thermo element (121) must contact the thermo element plate (122).
  8. Install the oil pan. Refer to Oil Pan Replacement .
  9. Lower the vehicle.
  10. Important: It is recommended that transmission adaptive pressure (TAP) information be reset. Resetting the TAP values using a scan tool will erase all learned values in all cells. As a result, The ECM, PCM or TCM will need to relearn TAP values. Transmission performance may be affected as new TAP values are learned.

  11. Reset the TAP values. Refer to Transmission Adaptive Functions .