GM Service Manual Online
For 1990-2009 cars only
Connector 1: Audio Amplifier C1 (U88)
Connector 2: Audio Amplifier C2 (U88)
Connector 3: Audio Amplifier C3 (U88)
Connector 4: Digital Radio Antenna (U2K)
Connector 5: Digital Radio Receiver C1 (U2K)
Connector 6: Radio C1
Connector 7: Radio C2
Connector 8: Radio Antenna Module
Connector 9: Speaker - Center (U88)
Connector 10: Speaker - LF Door
Connector 11: Speaker - LF Tweeter
Connector 12: Speaker - LR (UW6)
Connector 13: Speaker - LR (U88)
Connector 14: Speaker - RF Door
Connector 15: Speaker - RF Tweeter
Connector 16: Speaker - RR (UW6)
Connector 17: Speaker - RR (U88)
Connector 18: Steering Wheel Controls - Left (UK3)
Connector 19: Steering Wheel Controls - Right (UK3)

Audio Amplifier C1 (U88)


Object Number: 1653389  Size: CH

Connector Part Information

  • OEM: 15491286
  • Service: 88988652
  • Description: 8-Way F 2.8 Series Unsealed (BK)

Terminal Part Information

  • Pins: 1, 2
  • Terminal/Tray: 8100-4445/22
  • Core/Insulation Crimp: 4/4
  • Release Tool/Test Probe: 15315247/J-35616-35 (VT)
  • Pins: 3, 4, 7, 8
  • Terminal/Tray: 8100-4444/22
  • Core/Insulation Crimp: 2/A
  • Release Tool/Test Probe: 15315247/J-35616-35 (VT)

Audio Amplifier C1 (U88)

Pin

Wire Color

Circuit No.

Function

1

OG

2040

Battery Positive Voltage

2

BK/WH

351

Ground

3

YE

1860

Front Center Speaker Output (+)

4

L-BU

1960

Front Center Speaker Output (-)

5-6

--

--

Not Used

7

L-GN/BK

1794

Rear Subwoofer Speaker Output (-)

8

D-BU/WH

346

Rear Subwoofer Speaker Output (+)

Audio Amplifier C2 (U88)


Object Number: 1653404  Size: CH

Connector Part Information

  • OEM: 15489823
  • Service: 15134091
  • Description: 16-Way F Micro-Pack 100 Series (BK)

Terminal Part Information

  • Pins: 1- 8, 13- 16
  • Terminal/Tray: 8240-0128/22
  • Core/Insulation Crimp: C/A
  • Release Tool/Test Probe: 15315247/J-35616-2A (GY)

Audio Amplifier C2 (U88)

Pin

Wire Color

Circuit No.

Function

1

BK

1856

Left Front Tweeter Speaker Output (+)

2

YE

1956

Left Front Tweeter Speaker Output (-)

3

L-GN

1852

Right Front Tweeter Speaker Output (+)

4

PU

1952

Right Front Tweeter Speaker Output (-)

5

YE

116

Left Rear Speaker Output (-)

6

BN

199

Left Rear Speaker Output (+)

7

L-BU

115

Right Rear Speaker Output (-)

8

D-BU

46

Right Rear Speaker Output (+)

9-12

--

--

Not Used

13

L-GN

200

Right Front Speaker Output (+)

14

D-GN

117

Right Front Speaker Output (-)

15

TN

201

Left Front Speaker Output (+)

16

GY

118

Left Front Speaker Output (-)

Audio Amplifier C3 (U88)


Object Number: 1653409  Size: CH

Connector Part Information

  • OEM: 15466054
  • Service: 89047196
  • Description: 16-Way F Micro 64 (BN)

Terminal Part Information

  • Pins: 1- 6, 9-12
  • Terminal/Tray: 7116-4618-02/14
  • Core/Insulation Crimp: P/P
  • Release Tool/Test Probe: J-38125-215/J-35616-64B (L-BU)

Audio Amplifier C3 (U88)

Pin

Wire Color

Circuit No.

Function

1

TN

511

Left Front Low Level Audio Signal (+)

2

D-GN

1947

Left Front Low Level Audio Signal (-)

3

BN

1999

Left Rear Low Level Audio Signal (-)

4

BN/WH

599

Left Rear Low Level Audio Signal (+)

5

TN

927

Amplifier Control

6

PU

2232

Radio On Signal

7-8

--

--

Not Used

9

L-GN

1948

Right Front Low Level Audio Signal (-)

10

L-GN/WH

512

Right Front Low Level Audio Signal (+)

11

D-BU

546

Right Rear Low Level Audio Signal (+)

12

BK

1946

Right Rear Low Level Audio Signal (-)

13-16

--

--

Not Used

Digital Radio Antenna (U2K)


Object Number: 1548652  Size: CH

Connector Part Information

  • OEM: 11 ARC-0-0-1K3
  • Service: See Catalog
  • Description: 1-Way F Fakra SMB (TN)

Terminal Part Information

  • Terminal/Tray: See Terminal Repair Kit
  • Core/Insulation Crimp: See Terminal Repair Kit
  • Release Tool/Test Probe: See Terminal Repair Kit

Digital Radio Antenna (U2K)

Pin

Wire Color

Circuit No.

Function

--

--

COAX

Antenna Signal

--

--

COAX

Antenna Ground

Digital Radio Receiver C1 (U2K)


Object Number: 850856  Size: CH

Connector Part Information

  • OEM: 15394150
  • Service: See Catalog
  • Description: 16-Way F Micro 64 Series (BK)

Terminal Part Information

  • Pins: 2, 3, 9- 11, 15, 16
  • Terminal/Tray: 15359541/4
  • Core/Insulation Crimp: M/M
  • Release Tool/Test Probe: 15381651-2/J-35616-64B (L-BU)

Digital Radio Receiver C1 (U2K)

Pin

Wire Color

Circuit No.

Function

1

--

--

Not Used

2

BN/WH

367

Left Audio Signal (+)

3

D-GN/WH

368

Right Audio Signal (+)

4-8

--

--

Not Used

9

BK/WH

351

Ground

10

BK/WH

372

Audio Common

11

BARE

814

Drain Wire

12-14

--

--

Not Used

15

D-BU

1128

Class 2 Serial Data

16

OG

640

Battery Positive Voltage

Radio C1


Object Number: 73156  Size: CH

Connector Part Information

  • OEM: 12110088
  • Service: 15306210
  • Description: 24-Way F Micro-Pack 100 Series (GY)

Terminal Part Information

  • Pins: A1, A6-A11, B3-B5, B8-B11
  • Terminal/Tray: 12146447/3
  • Core/Insulation Crimp: E/C
  • Release Tool/Test Probe: 12031876-1/J-35616-6 (BN)
  • Pins: A12, B1
  • Terminal/Tray: 12146448/19
  • Core/Insulation Crimp: E/A
  • Release Tool/Test Probe: 12031876-1/J-35616-6 (BN)

Radio C1

Pin

Wire Color

Circuit No.

Function

A1

OG

1044

Radio Class 2 Serial Data

A2-A5

--

--

Not Used

A6

PU

1375

Remote Radio Control Supply Voltage (UK3)

A7

D-BU

1796

Steering Wheel Controls Signal (UK3)

A8

TN

201

Left Front Speaker Output (+) (UW6)

A8

TN

511

Left Front Low Level Audio Signal (+) (U88)

A9

GY

118

Left Front Speaker Output (-) (UW6)

A9

D-GN

1947

Left Front Low Level Audio Signal (-) (U88)

A10

L-BU

115

Right Rear Speaker Output (-) (UW6)

A10

BK

1946

Right Rear Low Level Audio Signal (-) (U88)

A11

D-BU

46

Right Rear Speaker Output (+) (UW6)

A11

D-BU

546

Right Rear Low Level Audio Signal (+) (U88)

A12

BK/WH

351

Ground

B1

OG

2040

Battery Positive Voltage

B2

--

--

Not Used

B3

PU

2232

Radio On Signal

B4

GY

8

Instrument Panel Lamp Supply Voltage

B5

BK

1450

Ground

B6-B7

--

--

Not Used

B8

BN

199

Left Rear Speaker Output (+) (UW6)

B8

BN/WH

599

Left Rear Low Level Audio Signal (+) (U88)

B9

YE

116

Left Rear Speaker Output (-) (UW6)

B9

BN

1999

Left Rear Low Level Audio Signal (-) (U88)

B10

D-GN

117

Right Front Speaker Output (-) (UW6)

B10

L-GN

1948

Right Front Low Level Audio Signal (-) (U88)

B11

L-GN

200

Right Front Speaker Output (+) (UW6)

B11

L-GN/WH

512

Right Front Low Level Audio Signal (+) (U88)

B12

--

--

Not Used

Radio C2


Object Number: 73151  Size: CH

Connector Part Information

  • OEM: 12064799
  • Service: 15305996
  • Description: 12-Way F Micro-Pack 100 Series (BK)

Terminal Part Information

  • Pins: F, H- M
  • Terminal/Tray: 12146447/3
  • Core/Insulation Crimp: E/C
  • Release Tool/Test Probe: 12031876-1/J-35616-6 (BN)

Radio C2

Pin

Wire Color

Circuit No.

Function

A-E

--

--

Not Used

F

TN

927

Amplifier Control (U88)

G

--

--

Not Used

H

D-GN/WH

368

Right Audio Signal (+) (U2K)

J

BN/WH

367

Left Audio Signal (+) (U2K)

K

BK/WH

372

Audio Common (U2K)

L

L-BU

1405

Audio Common Signal (UE1)

M

OG/BK

1406

Left Audio Signal (+) (UE1)

Radio Antenna Module


Object Number: 1548336  Size: CH

Connector Part Information

  • OEM: 15368970
  • Service: 89046641
  • Description: 1-Way F Positive Lock 187 Series (BK)

Terminal Part Information

  • Terminal/Tray: 170325-1/24
  • Core/Insulation Crimp: E/A
  • Release Tool/Test Probe: J-38125-218/J-35616-40 (BU)

Radio Antenna Module

Pin

Wire Color

Circuit No.

Function

1

PU

2232

Radio On Signal

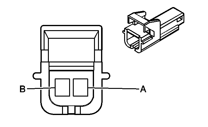
Speaker - Center (U88)


Object Number: 82383  Size: CH

Connector Part Information

  • OEM: 12047662
  • Service: 12085535
  • Description: 2-Way F Metri-Pack 150 Series (BK)

Terminal Part Information

  • Terminal/Tray: 12047767/2
  • Core/Insulation Crimp: E/A
  • Release Tool/Test Probe: 12094429/J-35616-2A (GY)

Speaker - Center (U88)

Pin

Wire Color

Circuit No.

Function

A

L-BU

1960

Front Center Speaker Output (-)

B

YE

1860

Front Center Speaker Output (+)

Speaker - LF Door


Object Number: 280768  Size: CH

Connector Part Information

  • OEM: 12052832
  • Service: 12101825
  • Description: 2-Way F Metri-Pack 150 Series (BK)

Terminal Part Information

  • Terminal/Tray: 12047767/2
  • Core/Insulation Crimp: E/A
  • Release Tool/Test Probe: 12094429/J-35616-2A (GY)

Speaker - LF Door

Pin

Wire Color

Circuit No.

Function

A

GY

118

Left Front Speaker Output (-)

B

TN

201

Left Front Speaker Output (+)

Speaker - LF Tweeter


Object Number: 766913  Size: CH

Connector Part Information

  • OEM: 12065651
  • Service: 12117275
  • Description: 2-Way M Metri-Pack 150 Series (BK)

Terminal Part Information

  • Terminal/Tray: See Terminal Repair Kit
  • Core/Insulation Crimp: See Terminal Repair Kit
  • Release Tool/Test Probe: See Terminal Repair Kit

Speaker - LF Tweeter

Pin

Wire Color

Circuit No.

Function

A

GY

118

Left Front Speaker Output (-) (UW6)

A

YE

1956

Left Front Tweeter Speaker Output (-) (U88)

B

TN

201

Left Front Speaker Output (+) (UW6)

B

BK

1856

Left Front Tweeter Speaker Output (+) (U88)

Speaker - LR (UW6)


Object Number: 280768  Size: CH

Connector Part Information

  • OEM: 12052832
  • Service: 12101825
  • Description: 2-Way F Metri-Pack 150 Series (BK)

Terminal Part Information

  • Terminal/Tray: 12047767/2
  • Core/Insulation Crimp: E/A
  • Release Tool/Test Probe: 12094429/J-35616-2A (GY)

Speaker - LR (UW6)

Pin

Wire Color

Circuit No.

Function

A

YE

116

Left Rear Speaker Output (-)

B

BN

199

Left Rear Speaker Output (+)

Speaker - LR (U88)


Object Number: 130637  Size: CH

Connector Part Information

  • OEM: 12064760
  • Service: 12085208
  • Description: 4-Way F Metri-Pack 150 Series (BK)

Terminal Part Information

  • Terminal/Tray: 12047767/2
  • Core/Insulation Crimp: E/A
  • Release Tool/Test Probe: 12094429/J-35616-2A (GY)

Speaker - LR (U88)

Pin

Wire Color

Circuit No.

Function

A

YE

116

Left Rear Speaker Output (-)

B

BN

199

Left Rear Speaker Output (+)

C

L-GN/BK

1794

Rear Subwoofer Speaker Output (-)

D

D-BU/WH

346

Rear Subwoofer Speaker Output (+)

Speaker - RF Door


Object Number: 280768  Size: CH

Connector Part Information

  • OEM: 12052832
  • Service: 12101825
  • Description: 2-Way F Metri-Pack 150 Series (BK)

Terminal Part Information

  • Terminal/Tray: See Terminal Repair Kit
  • Core/Insulation Crimp: See Terminal Repair Kit
  • Release Tool/Test Probe: See Terminal Repair Kit

Speaker - RF Door

Pin

Wire Color

Circuit No.

Function

A

D-GN

117

Right Front Speaker Output (-)

B

L-GN

200

Right Front Speaker Output (+)

Speaker - RF Tweeter


Object Number: 766913  Size: CH

Connector Part Information

  • OEM: 12052833
  • Service: 12117275
  • Description: 2-Way M Metri-Pack 150 Series (BK)

Terminal Part Information

  • Terminal/Tray: 12047581/2
  • Core/Insulation Crimp: E/A
  • Release Tool/Test Probe: 12094429/J-35616-3 (GY)

Speaker - RF Tweeter

Pin

Wire Color

Circuit No.

Function

A

D-GN

117

Right Front Speaker Output (-) (UW6)

A

PU

1952

Right Front Tweeter Speaker Output (-) (U88)

B

L-GN

200

Right Front Speaker Output (+) (UW6)

B

L-GN

1852

Right Front Tweeter Speaker Output (+) (U88)

Speaker - RR (UW6)


Object Number: 280768  Size: CH

Connector Part Information

  • OEM: 12052832
  • Service: 12101825
  • Description: 2-Way F Metri-Pack 150 Series (BK)

Terminal Part Information

  • Terminal/Tray: 12047767/2
  • Core/Insulation Crimp: E/A
  • Release Tool/Test Probe: 12094429/J-35616-2A (GY)

Speaker - RR (UW6)

Pin

Wire Color

Circuit No.

Function

A

L-BU

115

Right Rear Speaker Output (-)

B

D-BU

46

Right Rear Speaker Output (+)

Speaker - RR (U88)


Object Number: 130637  Size: CH

Connector Part Information

  • OEM: 12064760
  • Service: 12085208
  • Description: 4-Way F Metri-Pack 150 Series (BK)

Terminal Part Information

  • Terminal/Tray: 12047767/2
  • Core/Insulation Crimp: E/A
  • Release Tool/Test Probe: 12094429/J-35616-2A (GY)

Speaker - RR (U88)

Pin

Wire Color

Circuit No.

Function

A

L-BU

115

Right Rear Speaker Output (-)

B

D-BU

46

Right Rear Speaker Output (+)

C

L-GN/BK

1794

Rear Subwoofer Speaker Output (-)

D

D-BU/WH

346

Rear Subwoofer Speaker Output (+)

Steering Wheel Controls - Left (UK3)


Object Number: 605502  Size: CH

Connector Part Information

  • OEM: 50-57-9404
  • Service: 88987918
  • Description: 4-Way F 2.54 Single Row Positive Latch (BK)

Terminal Part Information

  • Terminal/Tray: See Terminal Repair Kit
  • Core/Insulation Crimp: See Terminal Repair Kit
  • Release Tool/Test Probe: See Terminal Repair Kit

Steering Wheel Controls - Left (UK3)

Pin

Wire Color

Circuit No.

Function

1

D-BU

1796

Steering Controls Signal

2

BK

1550

Ground

3

GY/BK

1458

Instrument Panel Lamp Supply Voltage

4

D-BU

--

Remote Radio Control Supply Voltage

Steering Wheel Controls - Right (UK3)


Object Number: 605511  Size: CH

Connector Part Information

  • OEM: 50-57-9405
  • Service: 89046734
  • Description: 5-Way F Single Row Positive Latch (BK)

Terminal Part Information

  • Terminal/Tray: See Terminal Repair Kit
  • Core/Insulation Crimp: See Terminal Repair Kit
  • Release Tool/Test Probe: See Terminal Repair Kit

Steering Wheel Controls - Right (UK3)

Pin

Wire Color

Circuit No.

Function

1

D-BU

1796

Steering Wheel Controls Signal

2

D-BU

--

Remote Radio Control Supply Voltage

3

BK

1550

Ground

4

GY/BK

1458

Instrument Panel Lamp Supply Voltage

5

PU

1375

Remote Radio Control Supply Voltage