GM Service Manual Online
For 1990-2009 cars only
Connector 1: Ambient Air Temperature Sensor
Connector 2: Driver Information Center (DIC)/Hazard Switch Assembly
Connector 3: Electronic Compass Module
Connector 4: Engine Oil Level Switch (L26)
Connector 5: Engine Oil Level/Temperature Sensor (LY7)
Connector 6: Engine Oil Pressure (EOP) Sensor (LY7)
Connector 7: Engine Oil Pressure (EOP) Switch (L26)
Connector 8: Fuel Pump and Sender Assembly_1645061
Connector 9: Instrument Panel Cluster (IPC)

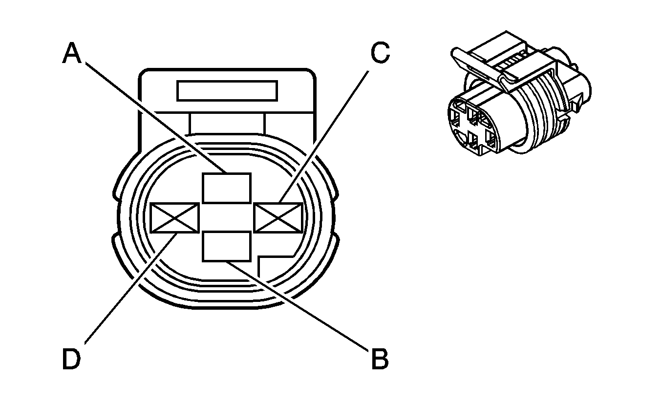
Ambient Air Temperature Sensor


Object Number: 684793  Size: CH

Connector Part Information

  • OEM: 12052642
  • Service: 12101856
  • Description: 2-Way F Metri-Pack 150 Series Sealed (GN)

Terminal Part Information

  • Terminal/Tray: 12048074/2
  • Core/Insulation Crimp: E/1
  • Release Tool/Test Probe: 12094429/J-35616-2A (GY)

Ambient Air Temperature Sensor

Pin

Wire Color

Circuit No.

Function

A

L-GN/BK

735

Ambient Air Temperature Sensor Signal

B

YE

61

Low Reference

Driver Information Center (DIC)/Hazard Switch Assembly


Object Number: 1527732  Size: CH

Connector Part Information

  • OEM: 15456018
  • Service: 89047304
  • Description: 9-Way F HCM (BK)

Terminal Part Information

  • Terminal/Tray: SHCM-A03T-P025/20
  • Core/Insulation Crimp: J/J
  • Release Tool/Test Probe: 12094429/J-35616-64B (L-BU)

Driver Information Center (DIC)/Hazard Switch Assembly

Pin

Wire Color

Circuit No.

Function

1

GY

8

Instrument Panel Lamp Supply Voltage

2

TN

2144

Hazard Switch Signal

3

BN/WH

1571

Traction Control Switch Signal

4

BK/WH

1551

Ground

5

TN

1326

DIC Odometer Signal

6

RD

1328

DIC Gage Signal (Uplevel)

7

OG

1816

DIC Set/Reset Switch Signal

8

PK

893

DIC Select Menu Switch Signal (Uplevel)

9

YE

1327

DIC Fuel Signal (Uplevel)

Electronic Compass Module


Object Number: 62467  Size: CH

Connector Part Information

  • OEM: 12064980
  • Service: 12102629
  • Description: 9-Way F Micro-Pack 100 Series (BK)

Terminal Part Information

  • Pins: 9, 11- 14
  • Terminal/Tray: 12146447/3
  • Core/Insulation Crimp: E/C
  • Release Tool/Test Probe: 12031876-1/J-35616-6 (BN)

Electronic Compass Module

Pin

Wire Color

Circuit No.

Function

7-8

--

--

Not Used

9

WH

193

Rear Defog Relay Control

10

--

--

Not Used

11

BN

1779

Compass Sensor Return

12

D-BU

1778

Compass Sensor Feed

13

PK

739

Ignition 1 Voltage

14

BK

550

Ground

15

--

--

Not Used

Engine Oil Level Switch (L26)


Object Number: 635009  Size: CH

Connector Part Information

  • OEM: 12052641
  • Service: 12102747
  • Description: 2-Way F Metri-Pack 150 Series Sealed (BK)

Terminal Part Information

  • Terminal/Tray: 12048074/2
  • Core/Insulation Crimp: E/1
  • Release Tool/Test Probe: 12094429/J-35616-2A (GY)

Engine Oil Level Switch (L26)

Pin

Wire Color

Circuit No.

Function

A

BN

1174

Oil Level Switch Signal

B

BK/WH

451

Ground

Engine Oil Level/Temperature Sensor (LY7)


Object Number: 646415  Size: CH

Connector Part Information

  • OEM: 15326808
  • Service: 15306388
  • Description: 3-Way F GT 150 Series Sealed (BK)

Terminal Part Information

  • Terminal/Tray: See Terminal Repair Kit
  • Core/Insulation Crimp: See Terminal Repair Kit
  • Release Tool/Test Probe: See Terminal Repair Kit

Engine Oil Level/Temperature Sensor (LY7)

Pin

Wire Color

Circuit No.

Function

A

BN

1174

Oil Level Switch Signal

B

D-GN/WH

357

Oil Temperature Sensor Signal

C

TN

470

Low Reference

Engine Oil Pressure (EOP) Sensor (LY7)


Object Number: 258299  Size: CH

Connector Part Information

  • OEM: 12065287
  • Service: 12102748
  • Description: 3-Way F Metri-Pack 150 Series Sealed, Pull To Seat (BK)

Terminal Part Information

  • Terminal/Tray: See Terminal Repair Kit
  • Core/Insulation Crimp: See Terminal Repair Kit
  • Release Tool/Test Probe: See Terminal Repair Kit

Engine Oil Pressure (EOP) Sensor (LY7)

Pin

Wire Color

Circuit No.

Function

A

TN

470

Low Reference

B

GY

605

5-Volt Reference 1

C

TN/BK

231

Oil Pressure Switch Signal

Engine Oil Pressure (EOP) Switch (L26)


Object Number: 516616  Size: CH

Connector Part Information

  • OEM: 12065400
  • Service: 12126436
  • Description: 4-Way F Metri-Pack 150 Series Sealed (GN)

Terminal Part Information

  • Pins: A, B
  • Terminal/Tray: 12048074/2
  • Core/Insulation Crimp: E/1
  • Release Tool/Test Probe: 12094429/J-35616-2A (GY)

Engine Oil Pressure (EOP) Switch (L26)

Pin

Wire Color

Circuit No.

Function

A

TN/BK

231

Oil Pressure Switch Signal

B

BK/WH

451

Ground

C-D

--

--

Not Available

Fuel Pump and Sender Assembly_1645061


Object Number: 684908  Size: CH

Connector Part Information

  • OEM: 15326631
  • Service: 15306360
  • Description: 4-Way F GT 280 Series Sealed 5.8 (BK)

Terminal Part Information

  • Terminal/Tray: See Terminal Repair Kit
  • Core/Insulation Crimp: See Terminal Repair Kit
  • Release Tool/Test Probe: See Terminal Repair Kit

Fuel Pump and Sender Assembly_1645061

Pin

Wire Color

Circuit No.

Function

A

BK

1850

Ground

B

PU

30

Fuel Level Sensor Signal

C

BK/WH

651

Signal Ground

D

GY

120

Fuel Pump Supply Voltage

Instrument Panel Cluster (IPC)


Object Number: 845629  Size: CH

Connector Part Information

  • OEM: 15393409
  • Service: 15393409
  • Description: 26-Way F Lever Assisted (BK)

Terminal Part Information

  • Pins: 1, 2, 6-9, 11-14, 18, 19, 21, 22, 24, 25
  • Terminal/Tray: 638551-1/16
  • Core/Insulation Crimp: J/J
  • Release Tool/Test Probe: 15315247/J-35616-64B (L-BU)

Instrument Panel Cluster (IPC)

Pin

Wire Color

Circuit No.

Function

1

BK/WH

1551

Ground

2

GY

1036

IPC Class 2 Serial Data

3-5

--

--

Not Used

6

YE

1327

DIC Fuel Signal (Uplevel)

7

RD

1328

DIC Gage Signal (Uplevel)

8

PK

893

DIC Select Menu Switch Signal (Uplevel)

9

PU

5234

Passenger Seat Belt Indicator

10

--

--

Not Used

11

BN/WH

419

MIL Control

12

OG

5240

Battery Positive Voltage

13

GY

8

Instrument Panel Lamp Supply Voltage

14

YE

61

Low Reference (UH8)

15-17

--

--

Not Used

18

BN

1779

Compass Sensor Return (UH8)

19

D-BU

1778

Compass Sensor Feed (UH8)

20

--

--

Not Used

21

L-GN/BK

735

Ambient Air Temperature Sensor Signal (UH8)

22

TN

1326

DIC Odometer Signal

23

--

--

Not Used

24

TN/WH

33

Brake Warning Indicator Control

25

OG

1816

DIC Set/Reset Switch Signal

26

--

--

Not Used