GM Service Manual Online
For 1990-2009 cars only
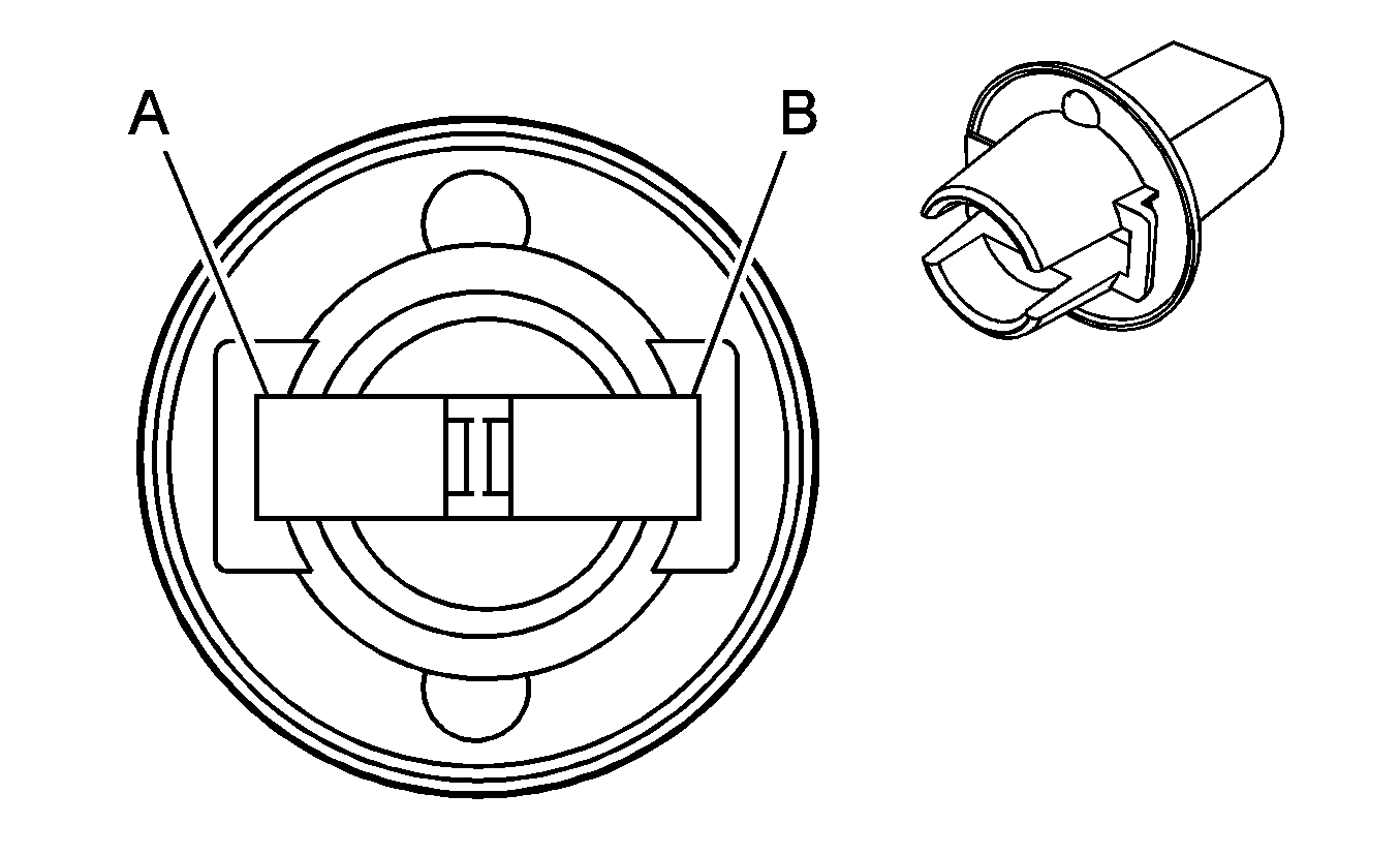
Connector 1: Ambient Light Sensor (C67)
Connector 2: Backup Lamp - Left
Connector 3: Backup Lamp - Right
Connector 4: Brake Pedal Position Sensor
Connector 5: Center High Mounted Stop Lamp (CHMSL)
Connector 6: Dome/Reading Lamp - Left
Connector 7: Dome/Reading Lamp - Right
Connector 8: Fog Lamp - Left (T96)
Connector 9: Fog Lamp - Right (T96)
Connector 10: Headlamp - High Beam - Left
Connector 11: Headlamp - High Beam - Right
Connector 12: Headlamp - Low Beam - Left
Connector 13: Headlamp - Low Beam - Right
Connector 14: I/P Compartment Lamp Switch
Connector 15: I/P Courtesy Lamp - Left
Connector 16: I/P Courtesy Lamp - Right
Connector 17: Lamp Assembly Switch
Connector 18: License Lamp - Left
Connector 19: License Lamp - Right
Connector 20: Marker Lamp - LF
Connector 21: Marker Lamp - LR
Connector 22: Marker Lamp - RF
Connector 23: Marker Lamp - RR
Connector 24: Park/Turn Signal Lamp - LF
Connector 25: Park/Turn Signal Lamp - RF
Connector 26: PRNDL Lamp
Connector 27: Rear Compartment Courtesy Lamp
Connector 28: Sunload Sensor Assembly (CJ2)
Connector 29: Tail Lamp - Left - Lower
Connector 30: Tail Lamp - Left - Upper
Connector 31: Tail Lamp - Right - Lower
Connector 32: Tail Lamp - Right - Upper
Connector 33: Tail/Stop and Turn Signal Lamp - Left
Connector 34: Tail/Stop and Turn Signal Lamp - Right
Connector 35: Turn Signal/Multifunction Switch C1
Connector 36: Turn Signal/Multifunction Switch C2
Connector 37: Turn Signal/Multifunction Switch C3
Connector 38: Vanity Mirror Lamp - Left (DH6)
Connector 39: Vanity Mirror Lamp - Right (DH6)

Ambient Light Sensor (C67)


Object Number: 82383  Size: CH

Connector Part Information

  • OEM: 12047662
  • Service: 12085535
  • Description: 2-Way F Metri-Pack 150 Series (BK)

Terminal Part Information

  • Terminal/Tray: 12064971/5
  • Core/Insulation Crimp: E/C
  • Release Tool/Test Probe: 12094429/J-35616-2A (GY)

Ambient Light Sensor (C67)

Pin

Wire Color

Circuit No.

Function

A

L-GN/BK

1137

DRL Ambient Light Sensor Signal

B

BK/WH

1551

Ground

Backup Lamp - Left


Object Number: 877923  Size: CH

Connector Part Information

  • OEM: 12162084
  • Service: See Catalog
  • Description: 2-Way Socket (GY)

Terminal Part Information

  • Terminal/Tray: See Terminal Repair Kit
  • Core/Insulation Crimp: See Terminal Repair Kit
  • Release Tool/Test Probe: See Terminal Repair Kit

Backup Lamp - Left

Pin

Wire Color

Circuit No.

Function

A

D-GN

24

Backup Lamp Supply Voltage

B

BK

550

Ground

Backup Lamp - Right


Object Number: 877923  Size: CH

Connector Part Information

  • OEM: 12162084
  • Service: See Catalog
  • Description: 2-Way Socket (GY)

Terminal Part Information

  • Terminal/Tray: See Terminal Repair Kit
  • Core/Insulation Crimp: See Terminal Repair Kit
  • Release Tool/Test Probe: See Terminal Repair Kit

Backup Lamp - Right

Pin

Wire Color

Circuit No.

Function

A

D-GN

24

Backup Lamp Supply Voltage

B

BK

750

Ground

Brake Pedal Position Sensor


Object Number: 1243663  Size: CH

Connector Part Information

  • OEM: 15332132
  • Service: 88953364
  • Description: 3-Way F GT 150 Series (BK)

Terminal Part Information

  • Terminal/Tray: 12191812/19
  • Core/Insulation Crimp: E/C
  • Release Tool/Test Probe: 15315247/J-35616-2A (GY)

Brake Pedal Position Sensor

Pin

Wire Color

Circuit No.

Function

A

GY

598

10-Volt Reference

B

L-GN

526

Stop Lamp Switch Signal

C

BK

552

Low Reference

Center High Mounted Stop Lamp (CHMSL)


Object Number: 635009  Size: CH

Connector Part Information

  • OEM: 12052641
  • Service: 12102747
  • Description: 2-Way F Metri-Pack 150 Series (BK)

Terminal Part Information

  • Terminal/Tray: See Terminal Repair Kit
  • Core/Insulation Crimp: See Terminal Repair Kit
  • Release Tool/Test Probe: See Terminal Repair Kit

Center High Mounted Stop Lamp (CHMSL)

Pin

Wire Color

Circuit No.

Function

A

WH

1

Stop Lamp Switch Signal

B

BK

2

Ground

Dome/Reading Lamp - Left


Object Number: 333035  Size: CH

Connector Part Information

  • OEM: 12047781
  • Service: 12101864
  • Description: 3-Way F Metri-Pack 150 Series (BK)

Terminal Part Information

  • Terminal/Tray: 12064971/5
  • Core/Insulation Crimp: E/C
  • Release Tool/Test Probe: 12094429/J-35616-2A (GY)

Dome/Reading Lamp - Left

Pin

Wire Color

Circuit No.

Function

A

OG

1732

Inadvertent Power Courtesy Lamp (DH6)

B

BK

750

Ground

C

GY/BK

690

Courtesy Lamp Supply Voltage

Dome/Reading Lamp - Right


Object Number: 333035  Size: CH

Connector Part Information

  • OEM: 12047781
  • Service: 12101864
  • Description: 3-Way F Metri-Pack 150 Series (BK)

Terminal Part Information

  • Terminal/Tray: 12064971/5
  • Core/Insulation Crimp: E/C
  • Release Tool/Test Probe: 12094429/J-35616-2A (GY)

Dome/Reading Lamp - Right

Pin

Wire Color

Circuit No.

Function

A

OG

1732

Inadvertent Power Courtesy Lamp (DH6)

B

BK

750

Ground

C

GY/BK

690

Courtesy Lamp Supply Voltage

Fog Lamp - Left (T96)


Object Number: 1413064  Size: CH

Connector Part Information

  • OEM: 12124819
  • Service: 12085498
  • Description: 2-Way F Metri-Pack 280 Series Sealed (BK)

Terminal Part Information

  • Terminal/Tray: 12077411/2
  • Core/Insulation Crimp: 2/5
  • Release Tool/Test Probe: 12094430/J-35616-4A (PU)

Fog Lamp - Left (T96)

Pin

Wire Color

Circuit No.

Function

A

PU

34

Fog Lamps Supply Voltage

B

BK

1250

Ground

Fog Lamp - Right (T96)


Object Number: 1413064  Size: CH

Connector Part Information

  • OEM: 12124819
  • Service: 12085498
  • Description: 2-Way F Metri-Pack 280 Series Sealed (BK)

Terminal Part Information

  • Terminal/Tray: 12077411/2
  • Core/Insulation Crimp: 2/5
  • Release Tool/Test Probe: 12094430/J-35616-4A (PU)

Fog Lamp - Right (T96)

Pin

Wire Color

Circuit No.

Function

A

PU

34

Fog Lamps Supply Voltage

B

BK

1250

Ground

Headlamp - High Beam - Left


Object Number: 808661  Size: CH

Connector Part Information

  • OEM: 12124817
  • Service: 12085498
  • Description: 2-Way F Metri-Pack 280 Series Sealed (GY)

Terminal Part Information

  • Terminal/Tray: See Terminal Repair Kit
  • Core/Insulation Crimp: See Terminal Repair Kit
  • Release Tool/Test Probe: See Terminal Repair Kit

Headlamp - High Beam - Left

Pin

Wire Color

Circuit No.

Function

A

D-GN/BK

711

Left Headlamp High Beam Supply Voltage

B

BK

1350

Ground

B

BK

1350

Ground

Headlamp - High Beam - Right


Object Number: 808661  Size: CH

Connector Part Information

  • OEM: 12124817
  • Service: 12085498
  • Description: 2-Way F Metri-Pack 280 Series Sealed (GY)

Terminal Part Information

  • Terminal/Tray: See Terminal Repair Kit
  • Core/Insulation Crimp: See Terminal Repair Kit
  • Release Tool/Test Probe: See Terminal Repair Kit

Headlamp - High Beam - Right

Pin

Wire Color

Circuit No.

Function

A

D-GN/BK

311

Right Headlamp High Beam Supply Voltage

B

BK

150

Ground

B

BK

150

Ground

Headlamp - Low Beam - Left


Object Number: 1528375  Size: CH

Connector Part Information

  • OEM: 15393198
  • Service: See Catalog
  • Description: 2-Way F Metri-Pack 280 Series Sealed (BK)

Terminal Part Information

  • Terminal/Tray: See Terminal Repair Kit
  • Core/Insulation Crimp: See Terminal Repair Kit
  • Release Tool/Test Probe: See Terminal Repair Kit

Headlamp - Low Beam - Left

Pin

Wire Color

Circuit No.

Function

A

TN/WH

712

Left Headlamp Low Beam Supply Voltage

B

BK

1350

Ground

Headlamp - Low Beam - Right


Object Number: 1528375  Size: CH

Connector Part Information

  • OEM: 15393198
  • Service: See Catalog
  • Description: 2-Way F Metri-Pack 280 Series Sealed (BK)

Terminal Part Information

  • Terminal/Tray: See Terminal Repair Kit
  • Core/Insulation Crimp: See Terminal Repair Kit
  • Release Tool/Test Probe: See Terminal Repair Kit

Headlamp - Low Beam - Right

Pin

Wire Color

Circuit No.

Function

A

TN/WH

312

Right Headlamp Low Beam Supply Voltage

B

BK

150

Ground

I/P Compartment Lamp Switch


Object Number: 82383  Size: CH

Connector Part Information

  • OEM: 12047662
  • Service: 12085535
  • Description: 2-Way F Metri-Pack 150 Series (BK)

Terminal Part Information

  • Terminal/Tray: 12064971/5
  • Core/Insulation Crimp: E/C
  • Release Tool/Test Probe: 12094429/J-35616-2A (GY)

I/P Compartment Lamp Switch

Pin

Wire Color

Circuit No.

Function

A

OG

1732

Inadvertent Power Courtesy Lamp

B

BK

1450

Ground

I/P Courtesy Lamp - Left


Object Number: 365949  Size: CH

Connector Part Information

  • OEM: 12084388
  • Service: See Catalog
  • Description: 2-Way Lamp Socket Wedge Base W-2 (BK)

Terminal Part Information

  • Terminal/Tray: See Terminal Repair Kit
  • Core/Insulation Crimp: See Terminal Repair Kit
  • Release Tool/Test Probe: See Terminal Repair Kit

I/P Courtesy Lamp - Left

Pin

Wire Color

Circuit No.

Function

A

GY/BK

690

Courtesy Lamp Supply Voltage

B

BK

1450

Ground

I/P Courtesy Lamp - Right


Object Number: 365949  Size: CH

Connector Part Information

  • OEM: 12084388
  • Service: See Catalog
  • Description: 2-Way Lamp Socket Wedge Base W-2 (BK)

Terminal Part Information

  • Terminal/Tray: See Terminal Repair Kit
  • Core/Insulation Crimp: See Terminal Repair Kit
  • Release Tool/Test Probe: See Terminal Repair Kit

I/P Courtesy Lamp - Right

Pin

Wire Color

Circuit No.

Function

A

GY/BK

690

Courtesy Lamp Supply Voltage

B

BK

1450

Ground

Lamp Assembly Switch


Object Number: 684891  Size: CH

Connector Part Information

  • OEM: 15324433
  • Service: 15324433
  • Description: 18-Way F Socket Housing (GN)

Terminal Part Information

  • Pins: 1, 2, 4-7, 9, 10, 13, 14, 17, 18
  • Terminal/Tray: IL-AG5-C1-5000 /20
  • Core/Insulation Crimp: K/K
  • Release Tool/Test Probe: J-38125-211/J-35616-64B (L-BU)

Lamp Assembly Switch

Pin

Wire Color

Circuit No.

Function

1

BN/WH

230

I/P Dimming Return

2

PK/BK

1597

Courtesy Lamps Switch On Signal

3

--

--

Not Used

4

GY/BK

1598

I/P Dimming Return

5

WH

103

Headlamp Switch Headlamps On Signal

6

BN/WH

301

Park Lamp Switch On Signal

7

OG

192

Front Fog Lamp Switch Signal (T96)

8

--

--

Not Used

9

PK

1444

I/P Dimming Control

10

RD/WH

812

I/P Dimming Voltage Reference

11-12

--

--

Not Used

13

BK

1450

Ground

14

GY

8

Instrument Panel Lamp Supply Voltage

15-16

--

--

Not Used

17

BK/WH

1551

Ground

18

L-BU

1872

Exterior Lamps Off Input

License Lamp - Left


Object Number: 744036  Size: CH

Connector Part Information

  • OEM: 12162084
  • Service: See Catalog
  • Description: 2-Way Lamp Socket Wedge Base W-2 (GY)

Terminal Part Information

  • Terminal/Tray: See Terminal Repair Kit
  • Core/Insulation Crimp: See Terminal Repair Kit
  • Release Tool/Test Probe: See Terminal Repair Kit

License Lamp - Left

Pin

Wire Color

Circuit No.

Function

A

BN

9

Park Lamp Supply Voltage

B

BK

550

Ground

License Lamp - Right


Object Number: 744036  Size: CH

Connector Part Information

  • OEM: 12162084
  • Service: See Catalog
  • Description: 2-Way Lamp Socket Wedge Base W-2 (GY)

Terminal Part Information

  • Terminal/Tray: See Terminal Repair Kit
  • Core/Insulation Crimp: See Terminal Repair Kit
  • Release Tool/Test Probe: See Terminal Repair Kit

License Lamp - Right

Pin

Wire Color

Circuit No.

Function

A

BN

9

Park Lamp Supply Voltage

B

BK

550

Ground

Marker Lamp - LF


Object Number: 1199757  Size: CH

Connector Part Information

  • OEM: 15317651
  • Service: See Catalog
  • Description: 2-Way Lamp Socket Wedge Base W2 (GY)

Terminal Part Information

  • Terminal/Tray: See Terminal Repair Kit
  • Core/Insulation Crimp: See Terminal Repair Kit
  • Release Tool/Test Probe: See Terminal Repair Kit

Marker Lamp - LF

Pin

Wire Color

Circuit No.

Function

A

BN

9

Park Lamp Supply Voltage

B

BK

1350

Ground

Marker Lamp - LR


Object Number: 1199757  Size: CH

Connector Part Information

  • OEM: 15317651
  • Service: See Catalog
  • Description: 2-Way Lamp Socket Wedge Base W2 (GY)

Terminal Part Information

  • Terminal/Tray: See Terminal Repair Kit
  • Core/Insulation Crimp: See Terminal Repair Kit
  • Release Tool/Test Probe: See Terminal Repair Kit

Marker Lamp - LR

Pin

Wire Color

Circuit No.

Function

A

BN

9

Park Lamp Supply Voltage

B

BK

550

Ground

Marker Lamp - RF


Object Number: 1199757  Size: CH

Connector Part Information

  • OEM: 15317651
  • Service: See Catalog
  • Description: 2-Way Lamp Socket Wedge Base W2 (GY)

Terminal Part Information

  • Terminal/Tray: See Terminal Repair Kit
  • Core/Insulation Crimp: See Terminal Repair Kit
  • Release Tool/Test Probe: See Terminal Repair Kit

Marker Lamp - RF

Pin

Wire Color

Circuit No.

Function

A

BN

9

Park Lamp Supply Voltage

B

BK

1250

Ground

Marker Lamp - RR


Object Number: 1199757  Size: CH

Connector Part Information

  • OEM: 15317651
  • Service: See Catalog
  • Description: 2-Way Lamp Socket Wedge Base W2 (GY)

Terminal Part Information

  • Terminal/Tray: See Terminal Repair Kit
  • Core/Insulation Crimp: See Terminal Repair Kit
  • Release Tool/Test Probe: See Terminal Repair Kit

Marker Lamp - RR

Pin

Wire Color

Circuit No.

Function

A

BN

9

Park Lamp Supply Voltage

B

BK

750

Ground

Park/Turn Signal Lamp - LF


Object Number: 847206  Size: CH

Connector Part Information

  • OEM: 12040977
  • Service: 12085492
  • Description: 3-Way F Metri-Pack 280 Series Sealed (BK)

Terminal Part Information

  • Terminal/Tray: 12077411/2
  • Core/Insulation Crimp: 2/5
  • Release Tool/Test Probe: 12094430/J-35616-4A (PU)

Park/Turn Signal Lamp - LF

Pin

Wire Color

Circuit No.

Function

A

L-BU/WH

1314

Left Front Turn Signal Lamp Supply Voltage

B

BN

9

Park Lamp Supply Voltage

C

BK

1250

Ground

Park/Turn Signal Lamp - RF


Object Number: 847206  Size: CH

Connector Part Information

  • OEM: 12040977
  • Service: 12085492
  • Description: 3-Way F Metri-Pack 280 Series Sealed (BK)

Terminal Part Information

  • Terminal/Tray: 12077411/2
  • Core/Insulation Crimp: 2/5
  • Release Tool/Test Probe: 12094430/J-35616-4A (PU)

Park/Turn Signal Lamp - RF

Pin

Wire Color

Circuit No.

Function

A

L-BU/WH

1314

Right Front Turn Signal Lamp Supply Voltage

B

BN

9

Park Lamp Supply Voltage

C

BK

1250

Ground

PRNDL Lamp


Object Number: 407137  Size: CH

Connector Part Information

  • OEM: 12162711
  • Service: See Catalog
  • Description: 2-Way Lamp Socket Wedge Base W2 (BK)

Terminal Part Information

  • Terminal/Tray: See Terminal Repair Kit
  • Core/Insulation Crimp: See Terminal Repair Kit
  • Release Tool/Test Probe: See Terminal Repair Kit

PRNDL Lamp

Pin

Wire Color

Circuit No.

Function

A

BU

8

Instrument Panel Lamp Supply Voltage

B

BU

550

Ground

Rear Compartment Courtesy Lamp


Object Number: 82383  Size: CH

Connector Part Information

  • OEM: 12047662
  • Service: 12085535
  • Description: 2-Way F Metri-Pack 150 Series (BK)

Terminal Part Information

  • Pins: A
  • Terminal/Tray: 12047767/2
  • Core/Insulation Crimp: E/A
  • Release Tool/Test Probe: 12094429/J-35616-2A (GY)
  • Pins: B
  • Terminal/Tray: 12064971/5
  • Core/Insulation Crimp: E/C
  • Release Tool/Test Probe: 12094429/J-35616-2A (GY)

Rear Compartment Courtesy Lamp

Pin

Wire Color

Circuit No.

Function

A

OG

1732

Inadvertent Power Courtesy Lamp

B

OG/BK

737

Rear Compartment Courtesy Lamp Switch

Sunload Sensor Assembly (CJ2)


Object Number: 130637  Size: CH

Connector Part Information

  • OEM: 12064760
  • Service: 12085208
  • Description: 4-Way F Metri-Pack 150 Series (BK)

Terminal Part Information

  • Terminal/Tray: 12064971/5
  • Core/Insulation Crimp: E/C
  • Release Tool/Test Probe: 12094429/J-35616-2A (GY)

Sunload Sensor Assembly (CJ2)

Pin

Wire Color

Circuit No.

Function

A

L-BU/BK

590

Driver Sunload Sensor Signal

B

GY

1548

Passenger Sunload Sensor Signal

C

BK/WH

1551

Ground

D

L-GN/BK

1137

DRL Ambient Light Sensor Signal

Tail Lamp - Left - Lower


Object Number: 877923  Size: CH

Connector Part Information

  • OEM: 16530675
  • Service: See Catalog
  • Description: 2-Way Socket (GY)

Terminal Part Information

  • Terminal/Tray: See Terminal Repair Kit
  • Core/Insulation Crimp: See Terminal Repair Kit
  • Release Tool/Test Probe: See Terminal Repair Kit

Tail Lamp - Left - Lower

Pin

Wire Color

Circuit No.

Function

A

BN

9

Park Lamp Supply Voltage

A

BN

9

Park Lamp Supply Voltage

B

BK

150

Ground

B

BK

150

Ground

Tail Lamp - Left - Upper


Object Number: 877923  Size: CH

Connector Part Information

  • OEM: 16530675
  • Service: See Catalog
  • Description: 2-Way Socket (GY)

Terminal Part Information

  • Terminal/Tray: See Terminal Repair Kit
  • Core/Insulation Crimp: See Terminal Repair Kit
  • Release Tool/Test Probe: See Terminal Repair Kit

Tail Lamp - Left - Upper

Pin

Wire Color

Circuit No.

Function

A

BN

9

Park Lamp Supply Voltage

A

BN

9

Park Lamp Supply Voltage

B

BK

150

Ground

B

BK

150

Ground

Tail Lamp - Right - Lower


Object Number: 877923  Size: CH

Connector Part Information

  • OEM: 16530675
  • Service: See Catalog
  • Description: 2-Way Socket (GY)

Terminal Part Information

  • Terminal/Tray: See Terminal Repair Kit
  • Core/Insulation Crimp: See Terminal Repair Kit
  • Release Tool/Test Probe: See Terminal Repair Kit

Tail Lamp - Right - Lower

Pin

Wire Color

Circuit No.

Function

A

BN

9

Park Lamp Supply Voltage

A

BN

9

Park Lamp Supply Voltage

B

BK

150

Ground

B

BK

150

Ground

Tail Lamp - Right - Upper


Object Number: 877923  Size: CH

Connector Part Information

  • OEM: 16530675
  • Service: See Catalog
  • Description: 2-Way Socket (GY)

Terminal Part Information

  • Terminal/Tray: See Terminal Repair Kit
  • Core/Insulation Crimp: See Terminal Repair Kit
  • Release Tool/Test Probe: See Terminal Repair Kit

Tail Lamp - Right - Upper

Pin

Wire Color

Circuit No.

Function

A

BN

9

Park Lamp Supply Voltage

BN

9

Park Lamp Supply Voltage

B

BK

150

Ground

BK

150

Ground

Tail/Stop and Turn Signal Lamp - Left


Object Number: 38605  Size: CH

Connector Part Information

  • OEM: 12160394
  • Service: See Catalog
  • Description: 3-Way Socket (NA)

Terminal Part Information

  • Terminal/Tray: See Terminal Repair Kit
  • Core/Insulation Crimp: See Terminal Repair Kit
  • Release Tool/Test Probe: See Terminal Repair Kit

Tail/Stop and Turn Signal Lamp - Left

Pin

Wire Color

Circuit No.

Function

A

YE

18

Right Rear Stop/Turn Lamp Supply Voltage

B

BN

9

Park Lamp Supply Voltage

G

BK

550

Ground

Tail/Stop and Turn Signal Lamp - Right


Object Number: 877925  Size: CH

Connector Part Information

  • OEM: 12160394
  • Service: See Catalog
  • Description: 3-Way Socket (NA)

Terminal Part Information

  • Terminal/Tray: See Terminal Repair Kit
  • Core/Insulation Crimp: See Terminal Repair Kit
  • Release Tool/Test Probe: See Terminal Repair Kit

Tail/Stop and Turn Signal Lamp - Right

Pin

Wire Color

Circuit No.

Function

A

YE

18

Right Rear Stop/Turn Lamp Supply Voltage

B

BN

9

Park Lamp Supply Voltage

G

BK

750

Ground

Turn Signal/Multifunction Switch C1


Object Number: 130718  Size: CH

Connector Part Information

  • OEM: 12059800
  • Service: 15306169
  • Description: 5-Way F Metri-Pack 150 Series (BK)

Terminal Part Information

  • Pins: A, D, E
  • Terminal/Tray: See Terminal Repair Kit
  • Core/Insulation Crimp: See Terminal Repair Kit
  • Release Tool/Test Probe: See Terminal Repair Kit

Turn Signal/Multifunction Switch C1

Pin

Wire Color

Circuit No.

Function

A

BN

1356

Flash To Pass Switch Signal

B-C

--

--

Not Used

D

BK/WH

1551

Ground

E

PU

524

Headlamp Dimmer Switch High Beam Signal

Turn Signal/Multifunction Switch C2


Object Number: 39746  Size: CH

Connector Part Information

  • OEM: 12064862
  • Service: 12126438
  • Description: 8-Way F Metri-Pack 150 Series (BK)

Terminal Part Information

  • Pins: F-H
  • Terminal/Tray: See Terminal Repair Kit
  • Core/Insulation Crimp: See Terminal Repair Kit
  • Release Tool/Test Probe: See Terminal Repair Kit

Turn Signal/Multifunction Switch C2

Pin

Wire Color

Circuit No.

Function

A-E

--

--

Not Used

F

L-BU/WH

1414

Left Turn Signal Switch Signal

G

BK/WH

1551

Ground

H

D-BU/WH

1415

Right Turn Signal Switch Signal

Turn Signal/Multifunction Switch C3


Object Number: 811190  Size: CH

Connector Part Information

  • OEM: 15339058
  • Service: See Catalog
  • Description: 7-Way F Metri-Pack 150 Series (GY)

Terminal Part Information

  • Pins: H-L
  • Terminal/Tray: See Terminal Repair Kit
  • Core/Insulation Crimp: See Terminal Repair Kit
  • Release Tool/Test Probe: See Terminal Repair Kit

Turn Signal/Multifunction Switch C3

Pin

Wire Color

Circuit No.

Function

G

--

--

Not Used

H

BK/WH

1251

Ground

J

PK

94

Windshield Washer Switch Signal

K

L-GN

1715

Windshield Wiper Switch High Signal

L

L-BU

1714

Windshield Wiper Switch Low Signal

M-N

--

--

Not Used

Vanity Mirror Lamp - Left (DH6)


Object Number: 82383  Size: CH

Connector Part Information

  • OEM: 12047662
  • Service: 12085535
  • Description: 2-Way F Metri-Pack 150 Series (BK)

Terminal Part Information

  • Terminal/Tray: 12064971/5
  • Core/Insulation Crimp: E/C
  • Release Tool/Test Probe: 12094429/J-35616-2A (GY)

Vanity Mirror Lamp - Left (DH6)

Pin

Wire Color

Circuit No.

Function

A

OG

1732

Inadvertent Power Courtesy Lamp

B

BK

750

Ground

Vanity Mirror Lamp - Right (DH6)


Object Number: 82383  Size: CH

Connector Part Information

  • OEM: 12047662
  • Service: 12085535
  • Description: 2-Way F Metri-Pack 150 Series (BK)

Terminal Part Information

  • Pins: A
  • Terminal/Tray: 12047767/2
  • Core/Insulation Crimp: E/A
  • Release Tool/Test Probe: 12094429/J-35616-2A (GY)
  • Pins: B
  • Terminal/Tray: 12064971/5
  • Core/Insulation Crimp: E/C
  • Release Tool/Test Probe: 12094429/J-35616-2A (GY)

Vanity Mirror Lamp - Right (DH6)

Pin

Wire Color

Circuit No.

Function

A

OG

1732

Inadvertent Power Courtesy Lamp

B

BK

750

Ground