GM Service Manual Online
For 1990-2009 cars only
Connector 1: Inflatable Restraint Passenger Air Bag ON/OFF Indicator
Connector 2: Inflatable Restraint Front End Sensor - Left
Connector 3: Inflatable Restraint Front End Sensor - Right
Connector 4: Inflatable Restraint Front Passenger Presence System (PPS) Module C1
Connector 5: Inflatable Restraint Front Passenger Presence System (PPS) Module C2
Connector 6: Inflatable Restraint I/P Module C1
Connector 7: Inflatable Restraint I/P Module C2
Connector 8: Inflatable Restraint Roof Rail Module - Left (AY1)
Connector 9: Inflatable Restraint Roof Rail Module - Right (AY1)
Connector 10: Inflatable Restraint Sensing and Diagnostic Module (SDM)
Connector 11: Inflatable Restraint Side Impact Sensor - Left (AY1)
Connector 12: Inflatable Restraint Side Impact Sensor - Right (AY1)
Connector 13: Inflatable Restraint Steering Wheel Module C1
Connector 14: Inflatable Restraint Steering Wheel Module C2
Connector 15: Seat Belt Pretensioner - Left
Connector 16: Seat Belt Pretensioner - Right

Inflatable Restraint Passenger Air Bag ON/OFF Indicator


Object Number: 1538776  Size: CH

Connector Part Information

  • OEM: 15398877
  • Service: See Catalog
  • Description: 5-Way F HCM (NA)

Terminal Part Information

  • Terminal/Tray: Service with Pigtail
  • Core/Insulation Crimp: N/A
  • Release Tool/Test Probe: 12094429/J-35616-64B (L-BU)

Inflatable Restraint Passenger Air Bag ON/OFF Indicator

Pin

Wire Color

Circuit No.

Function

1

D-BU

2307

Passenger Air Bag On Indicator Control

2

BK/WH

1551

Ground

3

D-GN

2308

Passenger Air Bag Off Indicator Control

4

YE

1139

Ignition 1 Voltage

5

PU

5234

Passenger Seat Belt Indicator

Inflatable Restraint Front End Sensor - Left


Object Number: 1282936  Size: CH

Connector Part Information

  • OEM: 15356724
  • Service: 15306418
  • Description: 2-Way F GT 150 Series Sealed (YE)

Terminal Part Information

  • Terminal/Tray: Service with Pigtail
  • Core/Insulation Crimp: N/A
  • Release Tool/Test Probe: 15315247/J-35616-2A (GY)

Inflatable Restraint Front End Sensor - Left

Pin

Wire Color

Circuit No.

Function

A

GY

2260

Low Reference

B

YE

2160

Front End Sensor Signal - Left

Inflatable Restraint Front End Sensor - Right


Object Number: 1282936  Size: CH

Connector Part Information

  • OEM: 15356724
  • Service: 15306418
  • Description: 2-Way F GT 150 Series Sealed (YE)

Terminal Part Information

  • Terminal/Tray: Service with Pigtail
  • Core/Insulation Crimp: N/A
  • Release Tool/Test Probe: 15315247/J-35616-2A (GY)

Inflatable Restraint Front End Sensor - Right

Pin

Wire Color

Circuit No.

Function

A

PU

2612

Low Reference

B

WH/BK

2611

Front End Sensor Signal - Right Front

Inflatable Restraint Front Passenger Presence System (PPS) Module C1


Object Number: 1547503  Size: CH

Connector Part Information

  • OEM: 15466034
  • Service: See Catalog
  • Description: 10-Way F Type 3 Socket Housing (BK)

Terminal Part Information

  • Pins: 1- 6, 10
  • Terminal/Tray: Service with Terminated Lead
  • Core/Insulation Crimp: N/A
  • Release Tool/Test Probe: See Terminal Repair Kit

Inflatable Restraint Front Passenger Presence System (PPS) Module C1

Pin

Wire Color

Circuit No.

Function

1

OG

640

Battery Positive Voltage

2

YE

1139

Ignition 1 Voltage

3

D-BU

2307

Passenger Air Bag On Indicator Control

4

D-GN

2308

Passenger Air Bag Off Indicator Control

5

PK

2306

Occupant Sensor Serial Data Link

6

BK/WH

1751

Ground

7-9

--

--

Not Used

10

D-BU

2479

Passenger Heated Seat Element Supply Voltage (KA1)

Inflatable Restraint Front Passenger Presence System (PPS) Module C2


Object Number: 1590116  Size: CH

Connector Part Information

  • OEM: SJ101416
  • Service: See Catalog
  • Description: 14-Way F (BK)

Terminal Part Information

  • Pins: A1- A4, B1-B8
  • Terminal/Tray: Service with Terminated Lead
  • Core/Insulation Crimp: N/A
  • Release Tool/Test Probe: See Terminal Repair Kit

Inflatable Restraint Front Passenger Presence System (PPS) Module C2

Pin

Wire Color

Circuit No.

Function

A1

WH

783

Temperature Sensor

A2

RD

783

Humidity Sensor

A3

YE

783

Ground

A4

L-GN

783

Ignition 1 Voltage

B1

GY

733

Front Passenger Mass and Position Signal

B2

GY

744

Front Passenger Mass and Position Signal

B3

GY

803

Front Passenger Mass and Position Signal

B4

GY

872

Front Passenger Mass and Position Signal

B5

GY

878

Front Passenger Mass and Position Signal

B6

GY

1004

Front Passenger Mass and Position Signal

B7

GY

1068

Front Passenger Mass and Position Signal

B8

GY

1073

Front Passenger Mass and Position Signal

B9-B10

--

--

Not Used

Inflatable Restraint I/P Module C1


Object Number: 739643  Size: CH

Connector Part Information

  • OEM: CA-252-92-4-R
  • Service: See Catalog
  • Description: 2-Way F (GY)

Terminal Part Information

  • Terminal/Tray: Service with Pigtail
  • Core/Insulation Crimp: N/A
  • Release Tool/Test Probe: See Terminal Repair Kit

Inflatable Restraint I/P Module C1

Pin

Wire Color

Circuit No.

Function

1

YE

3025

I/P Module - Stage 1 - High Control

2

OG

3024

I/P Module - Stage 1 - Low Control

Inflatable Restraint I/P Module C2


Object Number: 739646  Size: CH

Connector Part Information

  • OEM: CA-252-92-5-Q
  • Service: See Catalog
  • Description: 2-Way F (PU)

Terminal Part Information

  • Terminal/Tray: Service with Pigtail
  • Core/Insulation Crimp: N/A
  • Release Tool/Test Probe: See Terminal Repair Kit

Inflatable Restraint I/P Module C2

Pin

Wire Color

Circuit No.

Function

1

GY

3027

I/P Module - Stage 2 - High Control

2

PU

3026

I/P Module - Stage 2 - Low Control

Inflatable Restraint Roof Rail Module - Left (AY1)


Object Number: 1542143  Size: CH

Connector Part Information

  • OEM: 15454450
  • Service: 88988877
  • Description: 2-Way F 90 Degree Lockable Squib (YE)

Terminal Part Information

  • Terminal/Tray: Service with Pigtail
  • Core/Insulation Crimp: N/A
  • Release Tool/Test Probe: See Terminal Repair Kit

Inflatable Restraint Roof Rail Module - Left (AY1)

Pin

Wire Color

Circuit No.

Function

1

BN

2137

Roof Rail Module - LF - High Control

2

YE/BK

2138

Roof Rail Module - LF - Low Control

Inflatable Restraint Roof Rail Module - Right (AY1)


Object Number: 1542143  Size: CH

Connector Part Information

  • OEM: 15454451
  • Service: 88988878
  • Description: 2-Way F 90 Degree Lockable Squib (YE)

Terminal Part Information

  • Terminal/Tray: Service with Pigtail
  • Core/Insulation Crimp: N/A
  • Release Tool/Test Probe: See Terminal Repair Kit

Inflatable Restraint Roof Rail Module - Right (AY1)

Pin

Wire Color

Circuit No.

Function

1

BK/WH

2135

Roof Rail Module - RF - High Control

2

L-GN

2136

Roof Rail Module - RF - Low Control

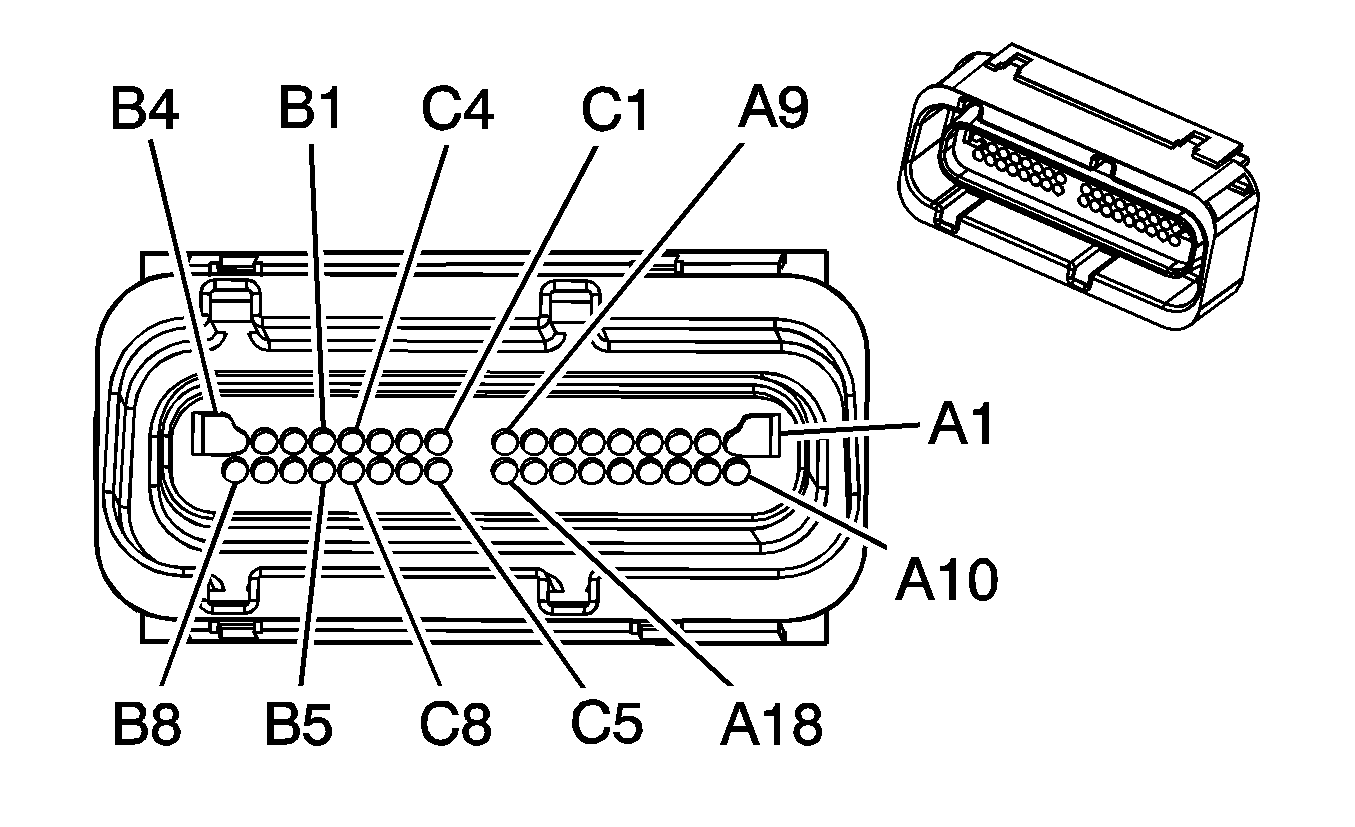
Inflatable Restraint Sensing and Diagnostic Module (SDM)


Object Number: 744053  Size: CH

Connector Part Information

  • OEM: 15357038
  • Service: See Catalog
  • Description: 34-Way F Micro-Pack 100W Series Sealed (GY)

Terminal Part Information

  • Pins: A1- A11, A13, A14, A16, B1- B8, C5- C8
  • Terminal/Tray: Service with Terminated Lead
  • Core/Insulation Crimp: N/A
  • Release Tool/Test Probe: 12122523/J-35616-6 (BN)
  • Pins: C1-C4
  • Terminal/Tray: See Terminal Repair Kit
  • Core/Insulation Crimp: See Terminal Repair Kit
  • Release Tool/Test Probe: See Terminal Repair Kit

Inflatable Restraint Sensing and Diagnostic Module (SDM)

Pin

Wire Color

Circuit No.

Function

A1

TN

3021

Steering Wheel Module - Stage 1 - High Control

A2

BN

3020

Steering Wheel Module - Stage 1 - Low Control

A3

OG

3024

I/P Module - Stage 1 - Low Control

A4

YE

3025

I/P Module - Stage 1 - High Control

A5

BK/WH

2118

Seat Belt Pretensioner - Left - High Control

A6

OG/BK

2119

Seat Belt Pretensioner - Left - Low Control

A7

OG

2117

Seat Belt Pretensioner - Right - Low Control

A8

L-GN

2116

Seat Belt Pretensioner - Right - High Control

A9

BK/WH

1751

Ground

A10

YE

1139

Ignition 1 Voltage

A11

D-BU

1128

SDM Class 2 Serial Data

A12

--

--

Not Used

A13

PK

2306

Occupant Sensor Serial Data Link

A14

BK/WH

238

Seat Belt Switch - Left

A15

--

--

Not Used

A16

RD

1362

Seat Belt Switch - Right - Signal

A17-A18

--

--

Not Used

B1

WH

3023

Steering Wheel Module - Stage 2 - High Control

B2

PK

3022

Steering Wheel Module - Stage 2 - Low Control

B3

PU

3026

I/P Module - Stage 2 - Low Control

B4

GY

3027

I/P Module - Stage 2 - High Control

B5

YE

2160

Front End Sensor Signal - Left

B6

GY

2260

Low Reference

B7

PU

2612

Low Reference

B8

WH/BK

2611

Front End Sensor Signal - Right Front

C1

BN

2137

Roof Rail Module - LF - High Control (AY1)

C2

YE/BK

2138

Roof Rail Module - LF - Low Control (AY1)

C3

L-GN

2136

Roof Rail Module - RF - Low Control (AY1)

C4

BK/WH

2135

Roof Rail Module - RF - High Control (AY1)

C5

YE

2131

Side Impact Sensing Module - Left - Voltage (AY1)

C6

WH

2132

Side Impact Sensing Module - Left - Signal (AY1)

C7

D-GN

2134

Side Impact Sensing Module - Right - Signal (AY1)

C8

TN

2133

Side Impact Sensing Module - Right - Voltage (AY1)

Inflatable Restraint Side Impact Sensor - Left (AY1)


Object Number: 1282936  Size: CH

Connector Part Information

  • OEM: 15356723
  • Service: 15306418
  • Description: 2-Way F GT 150 Series (YE)

Terminal Part Information

  • Terminal/Tray: Service with Pigtail
  • Core/Insulation Crimp: N/A
  • Release Tool/Test Probe: 15315247/J-35616-2A (GY)

Inflatable Restraint Side Impact Sensor - Left (AY1)

Pin

Wire Color

Circuit No.

Function

A

WH

2132

Side Impact Sensing Module - Left - Signal

B

YE

2131

Side Impact Sensing Module - Left - Voltage

Inflatable Restraint Side Impact Sensor - Right (AY1)


Object Number: 1282936  Size: CH

Connector Part Information

  • OEM: 15356723
  • Service: 15306418
  • Description: 2-Way F GT 150 Series (YE)

Terminal Part Information

  • Terminal/Tray: Service with Pigtail
  • Core/Insulation Crimp: N/A
  • Release Tool/Test Probe: See Terminal Repair Kit

Inflatable Restraint Side Impact Sensor - Right (AY1)

Pin

Wire Color

Circuit No.

Function

A

D-GN

2134

Side Impact Sensing Module - Right - Signal

B

TN

2133

Side Impact Sensing Module - Right - Voltage

Inflatable Restraint Steering Wheel Module C1


Object Number: 739643  Size: CH

Connector Part Information

  • OEM: CA-252-92-4-R
  • Service: See Catalog
  • Description: 2-Way F (GY)

Terminal Part Information

  • Terminal/Tray: Service with Pigtail
  • Core/Insulation Crimp: N/A
  • Release Tool/Test Probe: See Terminal Repair Kit

Inflatable Restraint Steering Wheel Module C1

Pin

Wire Color

Circuit No.

Function

1

TN

3021

Steering Wheel Module - Stage 1 - High Control

2

BN

3020

Steering Wheel Module - Stage 1 - Low Control

Inflatable Restraint Steering Wheel Module C2


Object Number: 739646  Size: CH

Connector Part Information

  • OEM: CA-252-92-5-Q
  • Service: See Catalog
  • Description: 2-Way F (PU)

Terminal Part Information

  • Terminal/Tray: Service with Pigtail
  • Core/Insulation Crimp: N/A
  • Release Tool/Test Probe: See Terminal Repair Kit

Inflatable Restraint Steering Wheel Module C2

Pin

Wire Color

Circuit No.

Function

1

WH

3023

Steering Wheel Module - Stage 2 - High Control

2

PK

3022

Steering Wheel Module - Stage 2 - Low Control

Seat Belt Pretensioner - Left


Object Number: 646194  Size: CH

Connector Part Information

  • OEM: 12186799
  • Service: 15306012
  • Description: 2-Way M Metri-Pack 280 Series (YE)

Terminal Part Information

  • Terminal/Tray: Service with Pigtail
  • Core/Insulation Crimp: N/A
  • Release Tool/Test Probe: 12094429/J-35616-5 (PU)

Seat Belt Pretensioner - Left

Pin

Wire Color

Circuit No.

Function

A

BK/WH

2118

Seat Belt Pretensioner - Left - High Control

B

OG/BK

2119

Seat Belt Pretensioner - Left - Low Control

Seat Belt Pretensioner - Right


Object Number: 646194  Size: CH

Connector Part Information

  • OEM: 12186799
  • Service: 15306012
  • Description: 2-Way M Metri-Pack 280 Series (YE)

Terminal Part Information

  • Terminal/Tray: Service with Pigtail
  • Core/Insulation Crimp: N/A
  • Release Tool/Test Probe: 12094429/J-35616-5 (PU)

Seat Belt Pretensioner - Right

Pin

Wire Color

Circuit No.

Function

A

L-GN

2116

Seat Belt Pretensioner - Right - High Control

B

OG

2117

Seat Belt Pretensioner - Right - Low Control