GM Service Manual Online
For 1990-2009 cars only

Tools Required

    • J 6125-B Slide Hammer
    • J 23129 Universal Seal Remover
    • J 29130 Axle Shaft Seal Installer
    • J 37292-B Axle Seal Protector

Removal Procedure


    Object Number: 784370  Size: SH
  1. Raise and support the vehicle. Refer to Lifting and Jacking the Vehicle .
  2. Remove the right front tire and wheel. Refer to Tire and Wheel Removal and Installation .
  3. Remove the right stabilizer shaft link from the right lower control arm. Refer to Stabilizer Shaft Link Replacement .
  4. Remove the right tie rod end from the right steering knuckle. Refer to Steering Knuckle Replacement .
  5. Remove the right lower ball joint from the right steering knuckle. Refer to Steering Knuckle Replacement .
  6. Remove the right drive axle from the transaxle. Refer to Wheel Drive Shaft Replacement .
  7. Secure the right drive axle to the right steering knuckle and the strut.
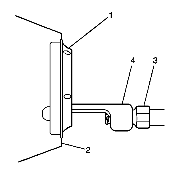
  8. Use the J 6125-B (3) and the J 23129 (4) to remove the oil seal (1) from the extension housing (2).

Installation Procedure

  1. Lubricate the seal lip with transaxle fluid.
  2. Install J 37292-B in the seal (4).

  3. Object Number: 190628  Size: SH
  4. Use J 29130 to install the new seal (4).
  5. Remove the J 37292-B .
  6. Important: Carefully guide the axle shaft past the lip seal. Do NOT allow the shaft splines to contact any portion of the seal lip surface.

  7. Install the drive axle to the transaxle. Refer to Wheel Drive Shaft Replacement .
  8. Install the right lower ball joint to the right steering knuckle. Refer to Steering Knuckle Replacement .
  9. Install the right tie rod end to the right steering knuckle. Refer to Steering Knuckle Replacement .
  10. Install the right stabilizer shaft link to the right steering knuckle. Refer to Stabilizer Shaft Link Replacement .
  11. Install the right front tire and wheel. Refer to Tire and Wheel Removal and Installation .
  12. Lower the vehicle.
  13. Notice: Refer to Transmission Overfill Notice in the Preface section.

  14. Check and fill the transaxle fluid as necessary.
  15. Inspect for fluid leaks.