GM Service Manual Online
For 1990-2009 cars only
Figure 1:

Intake Manifold/Upper Engine


Object Number: 1712811  Size: LF
(1)Evaporative (EVAP) Emission Canister Purge Solenoid Valve
(2)Service Valve
(3)Cap
(4)EVAP Tube Clip
(5)EVAP Canister Purge Tube
(6)EVAP Emission Canister Purge Solenoid Valve Bracket
(7)Bolt
(8)Fuel Injection Fuel Rail Stop Bracket
(8)Fuel Injection Fuel Rail Stop Bracket
(9)Bolt
(10)Intake Manifold
(11)Intake Manifold Seal
(12)Intake Manifold Gasket
(13)Bolt
(14)Coolant Air Bleed Cover
(15)O-Ring
(16)Engine Oil Pressure Sensor
(17)Washer
(18)Seal
(19)Engine Block
(20)Valley Cover Gasket
(21)Valley Cover
(22)Positive Crankcase Ventilation (PCV) Hose - Dirty Air
(23)O-Ring
(24)Bolt
(25)Coolant Air Bleed Pipe
(26)Bolt
(27)Throttle Body Gasket
(28)Bolt
(29)Throttle Body
(30)Manifold Absolute Pressure (MAP) Sensor Seal
(31)MAP Sensor
(32)Fuel Rail Ground Strap
(33)Fuel Rail with Injectors
(34)Bolt
(35)EVAP Canister Purge Tube
Figure 2:

Cylinder Head/Upper Engine - VE


Object Number: 1712818  Size: LF
(1)Positive Crankcase Ventilation (PCV) Tube - Fresh Air
(2)Oil Fill Tube
(3)Oil Fill Cap
(4)O-Ring
(5)O-Ring
(6)Valve Rocker Arm Cover
(6)Valve Rocker Arm Cover
(7)Valve Rocker Arm Cover Gasket
(7)Valve Rocker Arm Cover Gasket
(8)Ignition Coil Bracket
(9)Ignition Coil Bracket Stud
(10)Ignition Coil
(11)Ignition Coil Wire Assembly
(12)Ignition Coil Bolt
(13)Spark Plug Wire
(14)Plug
(15)Bolt
(16)Bolt Grommet
(17)Valve Stem Keys
(18)Valve Spring Cap
(19)Valve Spring
(20)Valve Stem Oil Seal
(21)Plug
(22)Spark Plug
(23)Cylinder Head Bolt - M11
(24)Cylinder Head Bolt - M8
(25)Cylinder Head
(26)Cylinder Head Gasket
(27)Plug
(28)Cylinder Head Locating Pin
(29)Coolant Plug
(30)Coolant Temperature Sensor
(31)Valve - Exhaust
(32)Valve - Intake
(33)Exhaust Manifold Gasket
(34)Exhaust Manifold
(35)Exhaust Manifold Heat Shield
(36)Stud
(37)Bolt
(38)Engine Block
(39)Valve Lifters
(40)Valve Lifter Guide
(41)Valve Lifter Guide Bolt
(42)Pushrod
(43)Valve Rocker Arm
(44)Bolt
(45)Valve Rocker Arm Pivot Support
Figure 3:

Cylinder Head/Upper Engine - VZ


Object Number: 1712822  Size: LF
(1)Positive Crankcase Ventilation (PCV) Tube - Fresh Air
(2)Oil Fill Cap
(3)O-Ring
(4)Oil Fill Tube
(5)O-Ring
(6)Valve Rocker Arm Cover
(6)Valve Rocker Arm Cover
(7)Valve Rocker Arm Cover Gasket
(7)Valve Rocker Arm Cover Gasket
(8)Ignition Coil Bracket
(9)Ignition Coil Bracket Stud
(10)Ignition Coil
(11)Ignition Coil Wire Assembly
(12)Ignition Coil Bolt
(13)Spark Plug Wire
(14)Plug
(15)Bolt
(16)Bolt Grommet
(17)Valve Stem Keys
(18)Valve Spring Cap
(19)Valve Spring
(20)Valve Stem Oil Seal
(21)Plug
(22)Spark Plug
(23)Cylinder Head Bolt - M11
(24)Cylinder Head Bolt - M8
(25)Cylinder Head
(26)Cylinder Head Gasket
(27)Plug
(28)Cylinder Head Locating Pin
(29)Coolant Plug
(30)Coolant Temperature Sensor
(31)Valve - Exhaust
(32)Valve - Intake
(33)Exhaust Manifold Gasket
(34)Exhaust Manifold
(35)Bolt
(36)Exhaust Manifold Heat Shield
(37)Stud
(38)Bolt
(39)Piston Ring Set
(40)Piston Pin Retainer
(41)Piston Pin
(42)Piston
(43)Connecting Rod
(44)Connecting Rod Bearings
(45)Connecting Rod Cap
(46)Connecting Rod Bolt
(47)Engine Block
(48)Valve Lifters
(49)Valve Lifter Guide
(50)Valve Lifter Guide Bolt
(51)Pushrod
(52)Valve Rocker Arm
(53)Bolt
(54)Valve Rocker Arm Pivot Support
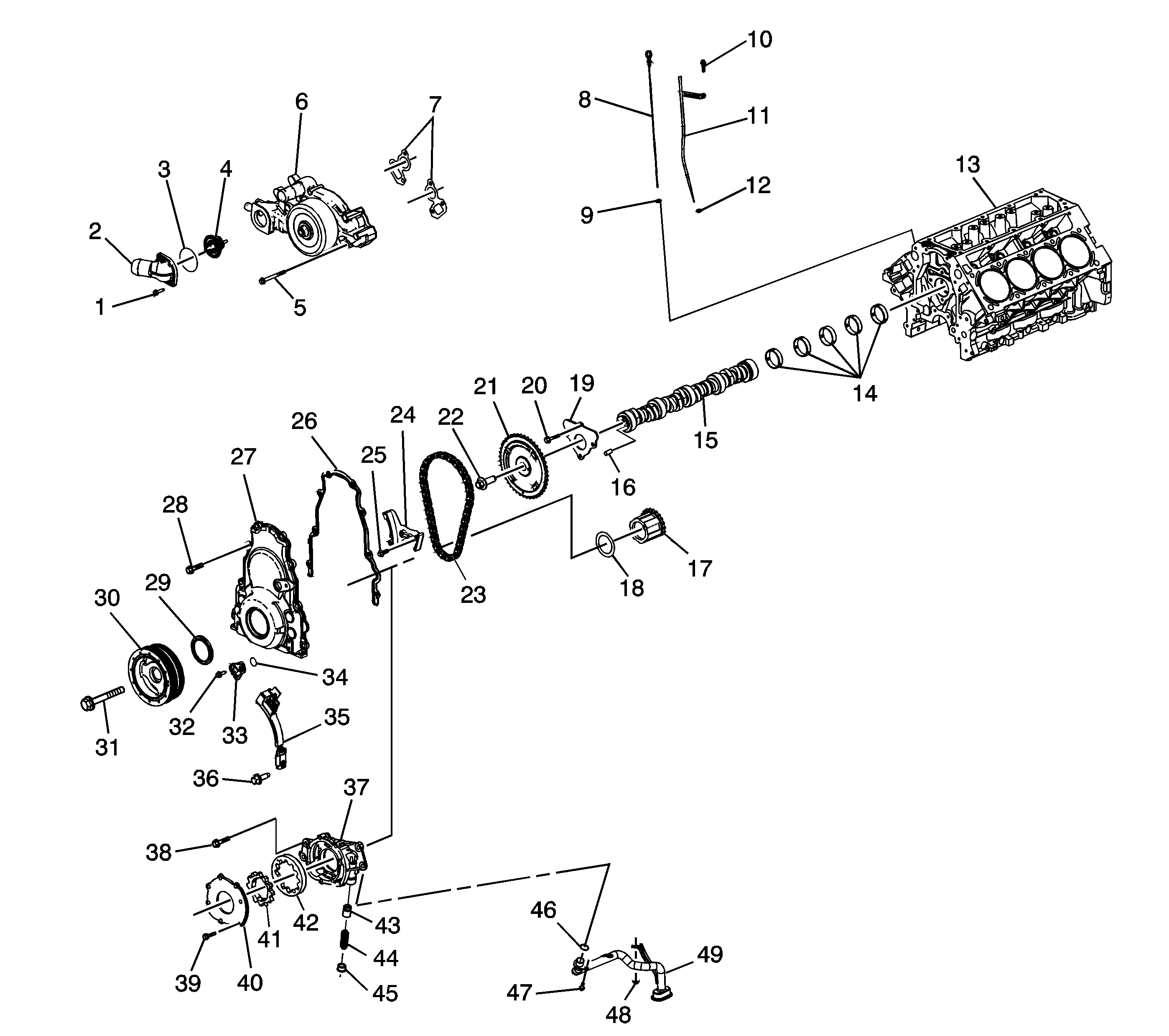
Figure 4:

Front of Engine - VE


Object Number: 1712825  Size: LF
(1)Bolt
(2)Water Inlet Housing
(3)O-Ring
(4)Thermostat
(5)Bolt
(6)Water Pump
(7)Water Pump Gasket
(8)Oil Level Indicator
(9)O-Ring
(10)Bolt
(11)Oil Level Indicator Tube
(12)O-Ring
(13)Engine Block
(14)Camshaft Bearings
(15)Camshaft
(16)Camshaft Sprocket Locating Pin
(17)Crankshaft Sprocket
(18)Crankshaft Balancer Washer
(19)Camshaft Retainer
(20)Bolt
(21)Camshaft Sprocket
(22)Bolt
(23)Timing Chain
(24)Timing Chain Tensioner
(25)Bolt
(26)Engine Front Cover Gasket
(27)Engine Front Cover
(28)Bolt
(29)Crankshaft Front Oil Seal
(30)Crankshaft Balancer
(31)Crankshaft Balancer Bolt
(32)Bolt
(33)Camshaft Position (CMP) Sensor
(34)O-Ring
(35)CMP Sensor Wire Harness
(36)Bolt
(37)Oil Pump Housing
(38)Bolt
(39)Bolt
(40)Oil Pump Housing Cover
(41)Oil Pump Gear - Drive
(42)Oil Pump Gear - Driven
(43)Oil Pump Pressure Relief Valve
(44)Spring
(45)Oil Pump Housing Plug
(46)O-Ring
(47)Bolt
(48)Nut
(49)Oil Pump Screen
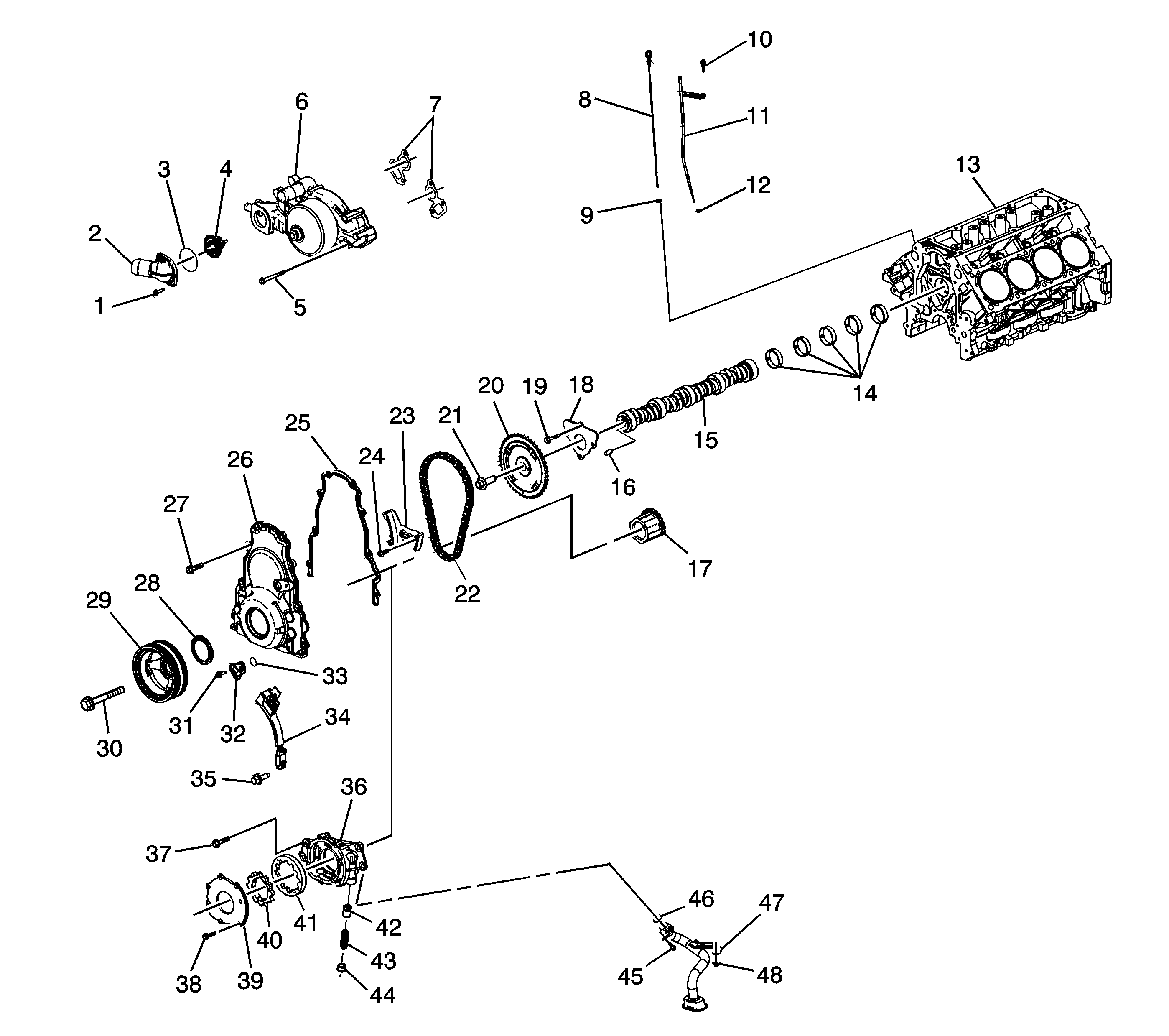
Figure 5:

Front of Engine - VZ


Object Number: 1712830  Size: LF
(1)Bolt
(2)Water Inlet Housing
(3)O-Ring
(4)Thermostat
(5)Bolt
(6)Water Pump
(7)Water Pump Gasket
(8)Oil Level Indicator
(9)O-Ring
(10)Bolt
(11)Oil Level Indicator Tube
(12)O-Ring
(13)Engine Block
(14)Camshaft Bearings
(15)Camshaft
(16)Camshaft Sprocket Locating Pin
(17)Crankshaft Sprocket
(18)Camshaft Retainer
(19)Bolt
(20)Camshaft Sprocket
(21)Bolt
(22)Timing Chain
(23)Timing Chain Tensioner
(24)Bolt
(25)Engine Front Cover Gasket
(26)Engine Front Cover
(27)Bolt
(28)Crankshaft Front Oil Seal
(29)Crankshaft Balancer
(30)Crankshaft Balancer Bolt
(31)Bolt
(32)Camshaft Position (CMP) Sensor
(33)O-Ring
(34)CMP Sensor Wire Harness
(35)Bolt
(36)Oil Pump Housing
(37)Bolt
(38)Bolt
(39)Oil Pump Housing Cover
(40)Oil Pump Gear - Drive
(41)Oil Pump Gear - Driven
(42)Oil Pump Pressure Relief Valve
(43)Spring
(44)Oil Pump Housing Plug
(45)Bolt
(46)O-Ring
(47)Oil Pump Screen
(48)Nut
Figure 6:

Rear of Engine


Object Number: 1565249  Size: LF
(100)Engine Block
(132)Flexplate - Automatic Transmission
(133)Bolt
(134)Flywheel - Manual Transmission
(135)Clutch Driven Plate - Manual Transmission
(136)Clutch Pressure Plate - Manual Transmission
(137)Bolt - Manual Transmission
(141)Crankshaft Rear Oil Seal
(142)Clutch Pressure Plate Locating Pin - Manual Transmission
(517)Bolt
(518)Crankshaft Rear Oil Seal Housing
(519)Crankshaft Rear Oil Seal Housing Gasket
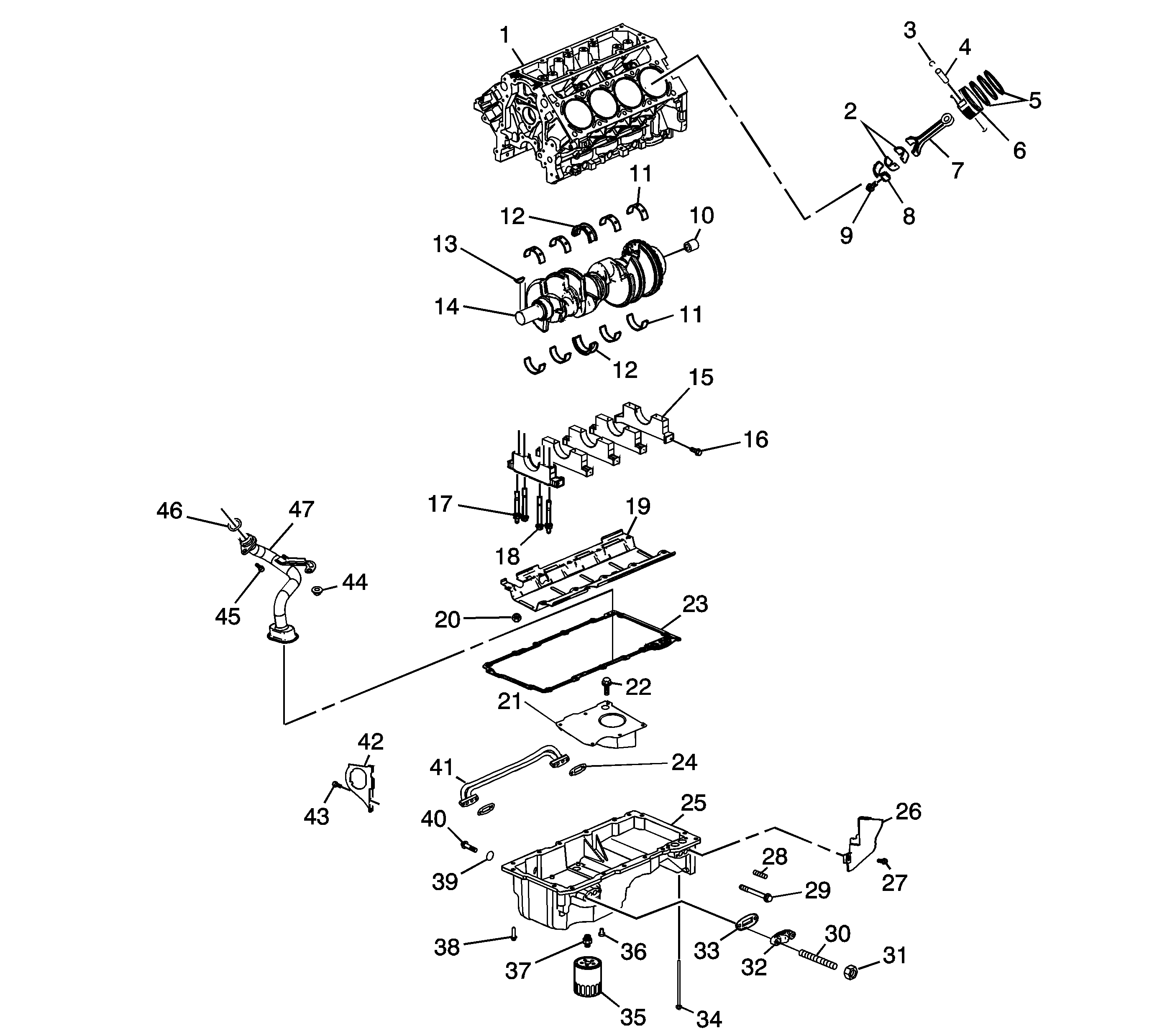
Figure 7:

Lower Engine Assembly - VE


Object Number: 1712834  Size: LF
(1)Engine Block
(2)Piston Pin Retainer
(3)Piston Pin
(4)Piston Ring Set
(5)Piston
(6)Connecting Rod
(7)Connecting Rod Bearings
(8)Connecting Rod Cap
(9)Connecting Rod Bolt
(10)Transmission Pilot Bearing - Manual Transmission
(11)Plug
(12)Crankshaft Main Bearing
(12)Crankshaft Main Bearing
(13)Crankshaft Thrust Bearing
(13)Crankshaft Thrust Bearing
(14)Crankshaft Balancer Key
(15)Crankshaft
(16)Crankshaft Bearing Cap
(17)Crankshaft Bearing Cap Bolt - M8
(18)Crankshaft Oil Deflector
(19)Crankshaft Bearing Cap Stud - M10
(20)Crankshaft Bearing Cap Bolt - M10
(21)Nut
(22)Oil Pan Gasket
(23)Bolt
(24)Oil Pan Baffle
(25)Oil Pan Cover Gasket
(26)Oil Pan Cover
(27)Bolt
(28)Oil Pan Closeout Cover - Left
(29)Bolt
(30)Oil Pan Bolt - M6
(31)Oil Pan Drain Plug
(32)Oil Filter
(33)Oil Filter Fitting
(34)O-Ring
(35)Oil Pan Bolt - M8
(36)Oil Pan
(37)Engine Closeout Cover - Right
(38)Bolt
(39)Oil Pump Screen
(40)O-Ring
(41)Nut
(42)Bolt
Figure 8:

Lower Engine Assembly - VZ


Object Number: 1712838  Size: LF
(1)Engine Block
(2)Connecting Rod Bearings
(3)Piston Pin Retainer
(4)Piston Pin
(5)Piston Ring Set
(6)Piston
(7)Connecting Rod
(8)Connecting Rod Cap
(9)Connecting Rod Bolt
(10)Transmission Pilot Bearing - Manual Transmission
(11)Crankshaft Main Bearing
(11)Crankshaft Main Bearing
(12)Crankshaft Thrust Bearing
(12)Crankshaft Thrust Bearing
(13)Crankshaft Balancer Key
(14)Crankshaft
(15)Crankshaft Bearing Cap
(16)Crankshaft Bearing Cap Bolt - M8
(17)Crankshaft Bearing Cap Stud - M10
(18)Crankshaft Bearing Cap Bolt - M10
(19)Crankshaft Oil Deflector
(20)Nut
(21)Oil Pan Baffle
(22)Bolt
(23)Oil Pan Gasket
(24)Oil Filter Tube Gasket
(25)Oil Pan
(26)Oil Pan Closeout Cover - Left
(27)Bolt
(28)Oil Pan Oil Gallery Plug
(29)Bolt
(30)Stud
(31)Nut
(32)Oil Pan Cover
(33)Oil Pan Cover Gasket
(34)Oil Pan Bolt - M6
(35)Oil Filter
(36)Oil Filter Bypass Valve
(37)Oil Filter Fitting
(38)Oil Pan Bolt - M8
(39)O-Ring
(40)Oil Pan Drain Plug
(41)Oil Filter Tube
(42)Engine Closeout Cover - Right
(43)Bolt
(44)Nut
(45)Bolt
(46)O-Ring
(47)Oil Pump Screen
Figure 9:

Engine Block Plugs/Sensors


Object Number: 1401949  Size: LF
(100)Engine Block
(100)Engine Block
(101)Oil Gallery Plug - Front
(110)O-Ring
(111)Oil Gallery Plug - Rear
(112)Oil Gallery Plug - Side
(113)Washer
(114)Engine Coolant Heater
(115)Washer
(116)Oil Gallery Plug - Side
(117)Washer
(130)Transmission Housing Locating Pin
(145)Washer
(146)Engine Block Coolant Drain Hole Plug
(701)Crankshaft Position (CKP) Sensor
(702)O-Ring
(718)Knock Sensor
(718)Knock Sensor
(739)Bolt
(739)Bolt
(750)CKP Sensor Bolt
Figure 10:

Oil Pump Assembly


Object Number: 1272779  Size: SF
(408)Bolt
(409)Oil Pump Housing Cover
(410)Oil Pump Drive Gear
(412)Oil Pump Driven Gear
(413)Oil Pump
(414)Oil Pump Pressure Relief Valve
(415)Oil Pump Pressure Relief Valve Spring
(416)Oil Pump Housing Plug