GM Service Manual Online
For 1990-2009 cars only

    Object Number: 1403318  Size: SH
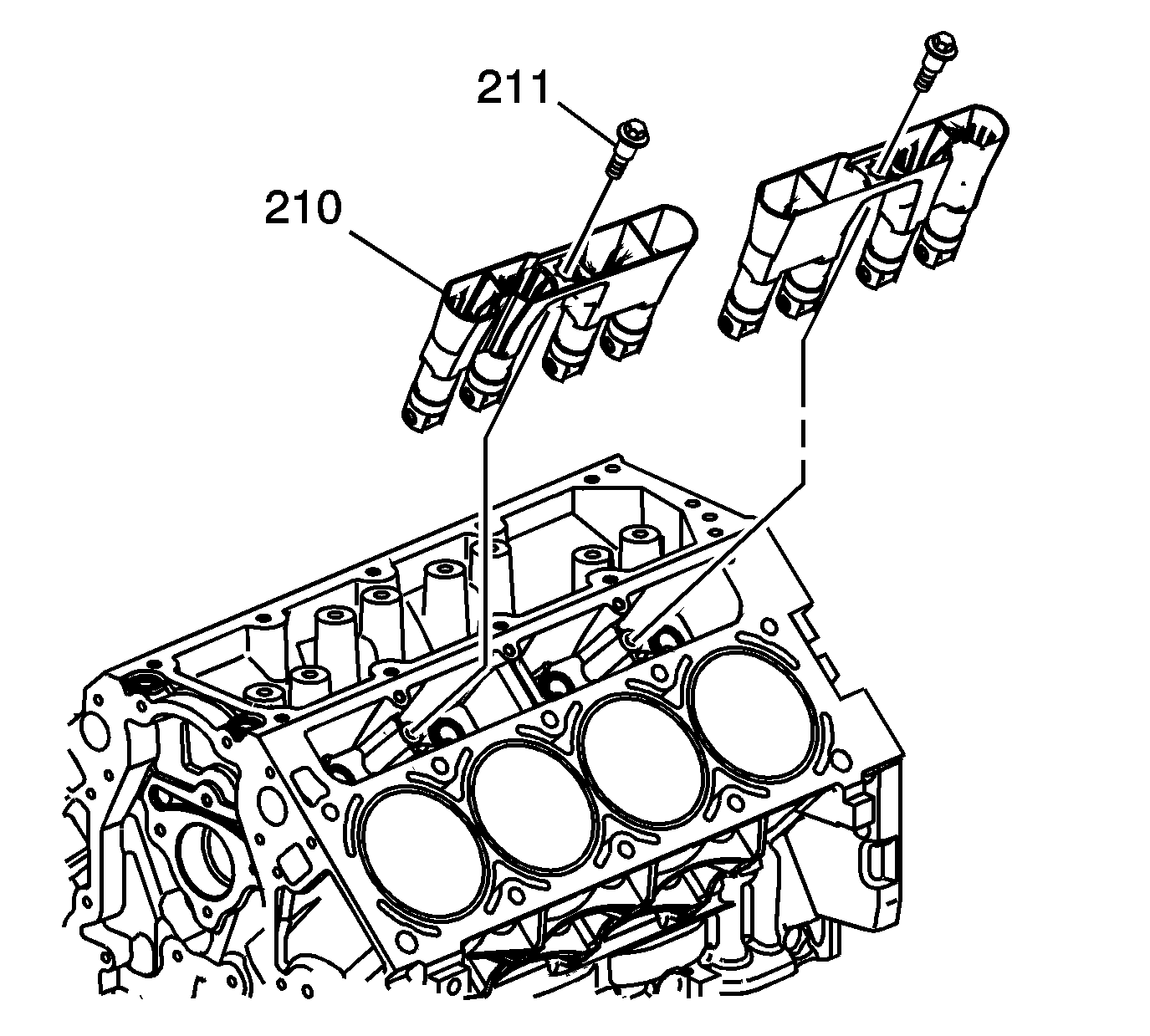
  1. Remove the guide bolts (211).
  2. Remove the guides (210) with lifters.
  3. Note the installed position of the guides. The notched area of the guide is to align with the locating tab on the block.


    Object Number: 1403319  Size: SH
  4. Remove the valve lifters (209) from the guide (210).
  5. Organize or mark the components so they can be installed in the same location from which they were removed. Refer to Separating Parts .