GM Service Manual Online
For 1990-2009 cars only

Tools Required

J 33049 Camshaft Bearing Service Set


    Object Number: 1332955  Size: SH

    Important: The engine block camshaft bearing bores are machined for 3 different outside diameter (OD) size bearings. Position 1 and 5 are the largest diameter bores. Position 3 is the smallest diameter bore. Position 2 and 4 are the intermediate size bores. The inside diameter (ID) for all camshaft bearings is the same size.

  1. Measure the engine block camshaft bearing bores (1-5) in order to identify the correct OD size bearing for each position. Refer to Engine Mechanical Specifications .

  2. Object Number: 66100  Size: SH
  3. Select the expanding driver (4-8) and washer (2 or 3) from the J 33049 . Refer to Piston and Connecting Rod Assemble .
  4. Assemble the tool.

  5. Object Number: 1552557  Size: SH
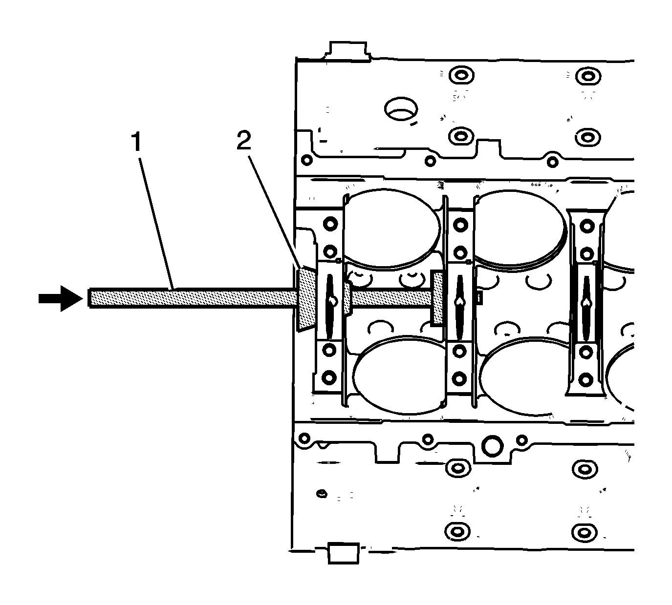
  6. Insert the tool (1) through the front of the engine block and into the bearing.
  7. Tighten the expander assembly nut until snug.
  8. Push the guide cone (2) into the front camshaft bearing in order to align the tool.
  9. Drive the bearing into the block bore.

  10. Object Number: 1552556  Size: SH
  11. Install the front and rear bearings to the block.