GM Service Manual Online
For 1990-2009 cars only

FLOOR PAN DRAIN PLUG DISLODGED INSPECT/REINSTALL DRAIN PLUG

Subject: PRODUCT CAMPAIGN 91C12 FLOOR PAN DRAIN PLUGS

Model and Year: 1991 GEO METRO 5-DOOR HATCHBACK

General Motors has determined that certain 1991 Geo Metro 5-Door Hatchback model vehicles may have been assembled with the floor pan drain plugs dislodged from their positions. This may result in water entering the vehicle interior through the resulting openings in the floor pan.

To correct this condition, dealers are to inspect the vehicle floor pan of each involved vehicle and reinstall drain plug(s) as required.

VEHICLES INVOLVED

Involved are certain 1991 Geo Metro model vehicles built within the following VIN breakpoints:

PLANT YEAR MODEL PLANT CODE FROM THROUGH ---- ------------ ----------- ----- -------- -------- 1991 M-Car Ingersoll "6" M6725217 M6738108 (5-Door Hatchback)

Involved vehicles have been identified by Vehicle Identification Number Computer Listings. Computer listings contain the complete Vehicle Identification Number, owner name and address data, and are furnished to involved dealers with the campaign bulletin. Owner name and address data furnished will enable dealers to follow-up with owners involved in this campaign.

These listings may contain owner names and addresses obtained from State Motor Vehicle Registration Records. The use of such motor vehicle registration data for any other purpose is a violation of law in several states. Accordingly, you are urged to limit the use of this listing to the follow-up necessary to complete this campaign. Any dealer not receiving a computer listing with the campaign bulletin has no involved vehicles currently assigned.

OWNER NOTIFICATION

owners will be notified of this campaign on their vehicles by Chevrolet Motor Division (see copy of owner letter included with this bulletin).

DEALER CAMPAIGN RESPONSIBILITY

Dealers are to service all vehicles subject to this campaign at no charge to owners, regardless of mileage, age of vehicle, or ownership, from this time forward.

Whenever a vehicle subject to this campaign is taken into your new or used vehicle inventory, or it is in your dealership for service in the future, you should take the steps necessary to be sure the campaign correction has been made before reselling or releasing the vehicle.

Owners of vehicles recently sold from your new vehicle inventory are to be contacted by the dealer, and arrangements made to make the required correction according to instructions contained in this bulletin.

PARTS INFORMATION

Dislodged drain plugs are not typically missing from the involved vehicles. Instead, in all known cases the plugs are trapped between the carpet and the vehicle floor pan. If for any reason these drain plugs cannot be found in the vehicle, new drain plugs can be obtained from General Motors Service Parts Operations (GMSPO) using the following information:

Quantity/ Part Number Description Vehicle ----------- ----------- --------- 96053782 Drain Plug As Needed

SERVICE PROCEDURE

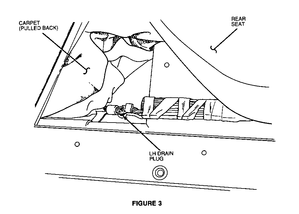
FIGURES REFERENCED ARE FOUND ON PAGES 3 THROUGH 4. BE CERTAIN TO PERFORM THIS PROCEDURE ON BOTH SIDES OF VEHICLE.

1. Remove the rear side sill scuff plate. It is not necessary to remove rear seat or center pillar inner lower trim piece. See Figure #1.

2. Lift carpet in area of drain plug. Location of the drain plug is approximately 15 inches forward of the rear wheels and six inches inboard. See Figure #2.

NOTICE: On driver's side of vehicle, it may be necessary to move the wiring harness out of the way to access the drain plug. See Figures 3 & 4 for views of plug locations on both sides of vehicle.

3. If drain plug is in its seat, determine with finger pressure if it is loose. If it is loose, reseat it firmly.

If drain plug is not in its seat, locate it and reseat it firmly in its proper position.

4. Reinstall carpet and rear side sill scuff plate.

5. Install Campaign Identification Label.

CAMPAIGN IDENTIFICATION LABEL

Each vehicle corrected in accordance with the instructions outlined in this bulletin will require a "Campaign Identification Label". Each label provides a space to include the five (5) digit dealer code of the dealer performing the campaign service. This information may be inserted with a typewriter or a ball point pen.

Each "Campaign Identification Label" is to be located on the radiator core support in an area which will be visible when the vehicle is brought in for periodic servicing by the owner.

Apply "Campaign Identification Label" only on a clean, dry surface.

CLAIM INFORMATION

Submit a Product Campaign Claim with the information indicated below:

FAILED PARTS CC-FC LABOR LAB OTH REPAIR PERFORMED PC PART NO. ALLOW OP HRS HRS --------------------- ---- ------- ------ ------ ----- --- ---- Inspect/Reinstall - - - - - SK-00 V6670 0.3 0.1 Drain Plugs As Needed

* Campaign Administrative Allowance.

Dealers will automatically receive the correct labor time based on the labor operation performed.

Refer to the Chevrolet Claims Processing Manual for details on Product Campaign Claim Submission.

Dear Geo Metro Owner:

This notice is sent to inform you that Chevrolet Motor Division is conducting a recall campaign that includes your vehicle.

REASON FOR THIS RECALL

General Motors has determined that certain 1991 Geo Metro 5-Door Hatchback model vehicles may have been assembled with the floor pan drain plugs dislodged from their positions. This may result in water entering the vehicle interior through the resulting openings in the floor pan.

WHAT WE WILL DO

To correct this condition, your dealer will inspect your vehicle's floor pan and reinstall any drain plug(s) as required. This service will be performed for you at no charge.

WHAT YOU SHOULD DO

Please contact your Chevrolet/Geo dealer as soon as possible to arrange a service date. Instructions for making this correction have been sent to your dealer. Please ask your dealer if you wish to know how much time will be needed to schedule, process and repair your vehicle.

The enclosed owner reply card identifies your vehicle. Presentation of this card to your dealer will assist in making the necessary inspection/ correction in the shortest possible time. If you have sold or traded your vehicle, please let us know by completing the postage paid reply card and returning it to us.

We are sorry to cause you this inconvenience; however, we have taken this action in the interest of your continued satisfaction with our products.


Object Number: 78967  Size: FS


Object Number: 88108  Size: LF


Object Number: 87681  Size: MF


Object Number: 86822  Size: LF

General Motors bulletins are intended for use by professional technicians, not a "do-it-yourselfer". They are written to inform those technicians of conditions that may occur on some vehicles, or to provide information that could assist in the proper service of a vehicle. Properly trained technicians have the equipment, tools, safety instructions and know-how to do a job properly and safely. If a condition is described, do not assume that the bulletin applies to your vehicle, or that your vehicle will have that condition. See a General Motors dealer servicing your brand of General Motors vehicle for information on whether your vehicle may benefit from the information.