GM Service Manual Online
For 1990-2009 cars only

    Object Number: 184791  Size: SH
  1. Lightly depress the clutch pedal (2) until the tension on the clutch cable is felt.
  2. Measure the clutch pedal free travel.
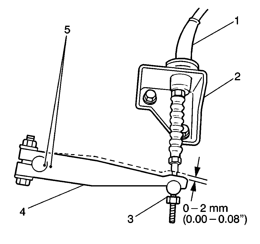
  3. Adjust the clutch pedal free travel. Tighten or loosen the clutch cable adjustment nut (3) until the clutch pedal free travel is within specifications.
  4. Measurement
    Free travel specification is 15-20 mm (0.6-0.8 in).


    Object Number: 184794  Size: SH

    Important: Verify that the marks (5) on the clutch release lever and the release shaft are aligned with each other. Remove the clutch release lever from the clutch release shaft. Align the marks. Repeat the free travel adjustment procedure if the marks are not aligned.

  5. Measure the clutch release lever free travel.
  6. Measurement
    Free travel specifications for the clutch release lever is 0-2 mm (0.00-0.08 in).