GM Service Manual Online
For 1990-2009 cars only

Removal Procedure

    Caution: Unless directed otherwise, the ignition and start switch must be in the OFF or LOCK position, and all electrical loads must be OFF before servicing any electrical component. Disconnect the negative battery cable to prevent an electrical spark should a tool or equipment come in contact with an exposed electrical terminal. Failure to follow these precautions may result in personal injury and/or damage to the vehicle or its components.

  1. Disconnect the negative battery cable.
  2. Remove the electrical connector from the CPP switch.

  3. Object Number: 184797  Size: SH
  4. Remove the CPP switch from the clutch and the brake pedal bracket by turning the CPP switch counterclockwise.
  5. Remove the CPP switch lock nut (1) from the CPP switch.
  6. Inspect the CPP switch for excessive wear or damage. Replace the switch as necessary.

Installation Procedure

Tools Required

J 39200 Digital Multimeter

    Notice: Use the correct fastener in the correct location. Replacement fasteners must be the correct part number for that application. Fasteners requiring replacement or fasteners requiring the use of thread locking compound or sealant are identified in the service procedure. Do not use paints, lubricants, or corrosion inhibitors on fasteners or fastener joint surfaces unless specified. These coatings affect fastener torque and joint clamping force and may damage the fastener. Use the correct tightening sequence and specifications when installing fasteners in order to avoid damage to parts and systems.

  1. Install the CPP switch lock nut to the CPP switch.
  2. Tighten
    Tighten the CPP switch lock nut to 13 N·m (115 lb in).

  3. Install the clutch pedal position (CPP) switch into the clutch and the brake pedal bracket by turning the CPP switch clockwise.
  4. Use J 39200 in order to make adjustments to the CPP switch.

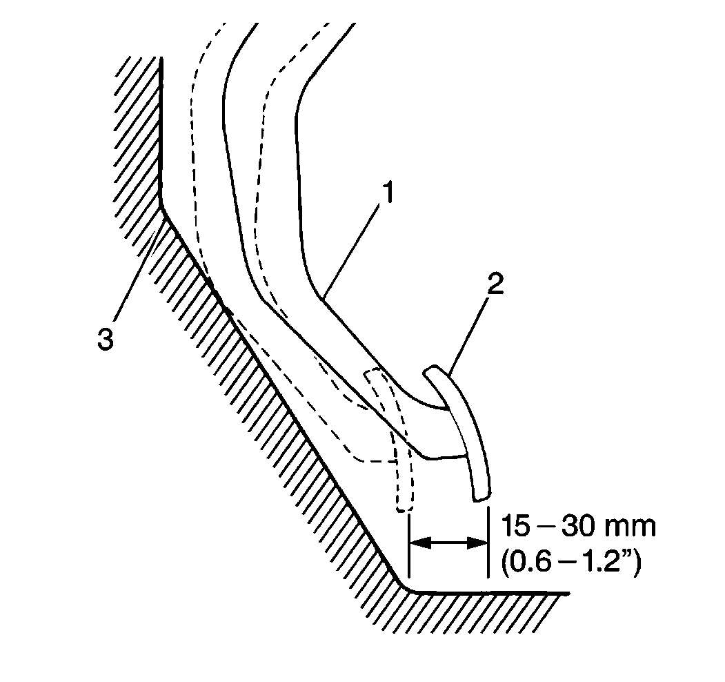
  5. Object Number: 184799  Size: SH
  6. Depress the clutch pedal (2) to the floor (3). Return the clutch pedal 15-30 mm (0.6-1.2 in) from the floor.

  7. Object Number: 184795  Size: SH
  8. Adjust the probes of J 39200 in contact with both leads of the CPP switch electrical connector (2).
  9. Adjust the CPP switch by threading the switch into the clutch and into the brake pedal bracket until continuity is achieved.
  10. Install the CPP switch lock nut.
  11. Tighten
    Tighten the CPP switch lock nut to 13 N·m (115 lb in)

  12. Connect the electrical connector to the CPP switch.
  13. Connect the negative battery cable.