GM Service Manual Online
For 1990-2009 cars only

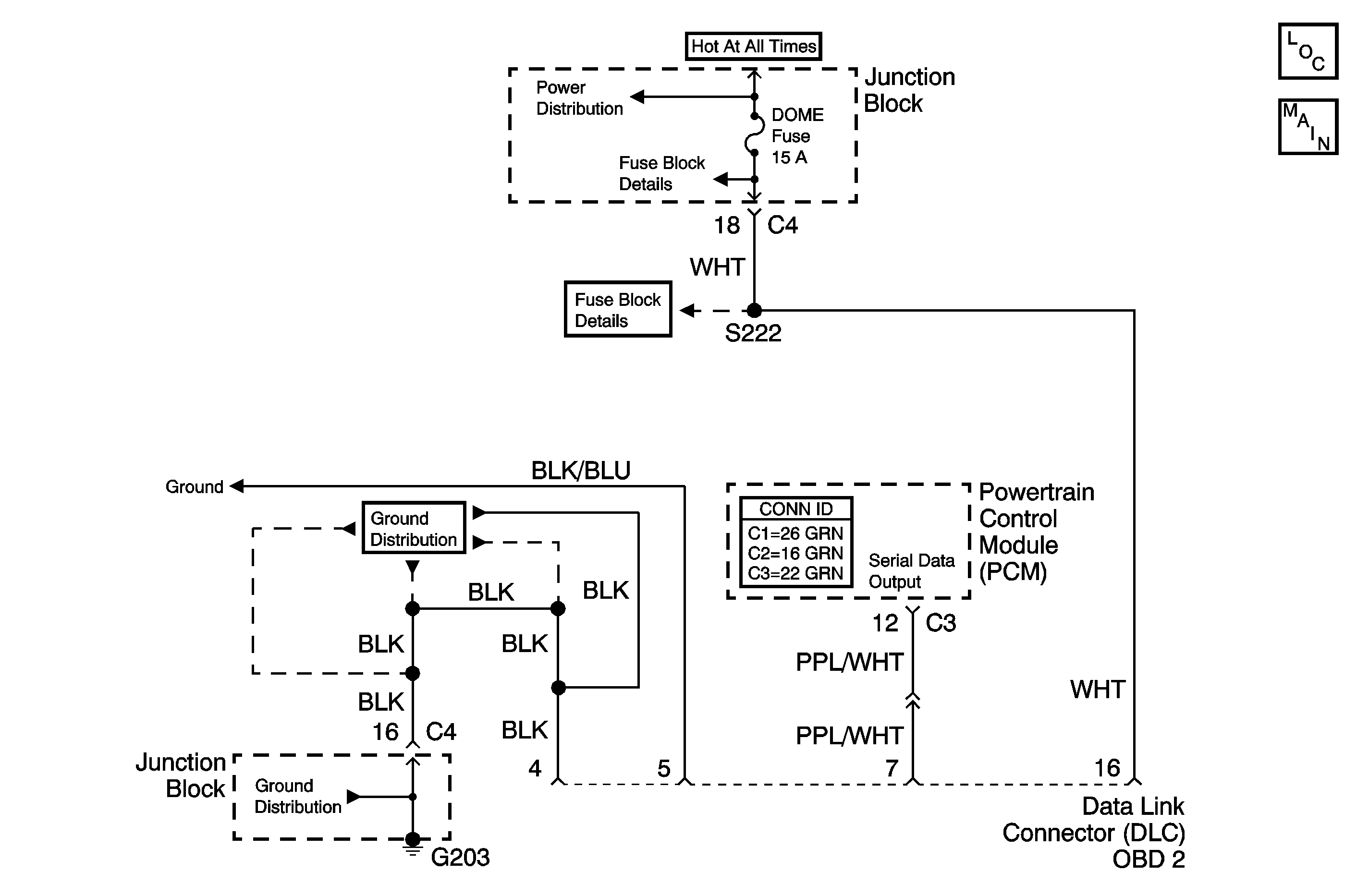
Object Number: 1561550  Size: MF
Engine Controls Schematics

Circuit Description

The provision for communicating with the powertrain control module (PCM) is the data link connector (DLC). The DLC is located under the instrument panel. The DLC is used to link a scan tool to the PCM serial data stream. Some common uses of the scan tool are listed below:

    • Identifying the stored diagnostic trouble codes (DTCs).
    • Reading the serial data stream.
    • Clearing the DTCs.
    • Storing the Freeze Frame data.

Diagnostic Aids

Some scan tools may require an external power supply. Make sure your scan tool is using the correct power feed.

Ensure that the correct application (model year, carline, VIN code) has been selected on the scan tool. If communications are still not established, try the scan tool on another vehicle in order to ensure that the scan tool or the connecting cables are not the cause of the malfunction.

Any circuitry that is suspect to an intermittent complaint should be thoroughly inspected for the following:

    • Backed out terminals.
    • Improper mating of terminals.
    • Broken electrical connector locks.
    • Improperly formed or damaged terminals.
    • Faulty terminal to wiring connections.
    • Physical damage to the wiring harness.
    • Broken conductor inside the wire insulation.
    • Corrosion of electrical connections, splices, or terminals.

Test Description

The numbers below refer to the step numbers in the Diagnostic Table.

  1. The Powertrain OBD System Check prompts the technician to complete some basic checks and store the freeze frame data on the scan tool if applicable. This creates an electronic copy of the data taken when the fault occurred. The information is then stored in the scan tool for later reference.

  2. This step checks whether the scan tool is able to turn ON.

  3. This step checks if the scan tool can establish communication on the PCM serial data line.

    This step checks for B+ at the DLC.

  4. This step checks for B+ at the DLC.

  5. This step checks the ground circuits at the DLC.

  6. This step checks for an open/shorted to ground serial data circuit, a shorted to battery positive serial data circuit, or for a faulty scan tool.

  7. The PCM supplies a low current voltage on the serial data circuit. The normal circuit low current will NOT illuminate a test lamp. If the circuit is shorted to battery positive the higher current will illuminate the test lamp.

  8. The scan tool may be damaged by high current flow on the serial data circuit at DLC terminal 7. Check the scan tool for proper operation on a known good vehicle that uses terminal 7 of the DLC for serial data communication.

Step

Action

Value(s)

Yes

No

1

Did you perform the Powertrain On-Board Diagnostic System Check?

--

Go to Step 2

Go to Powertrain On Board Diagnostic (OBD) System Check

2

  1. Install a scan tool.
  2. Turn ON the ignition, leaving the engine OFF.

Does the scan tool power-up?

--

Go to Step 3

Go to Step 5

3

Attempt to establish communication with the powertrain control module (PCM).

Does the scan tool display PCM data?

--

System OK

Go to Step 4

4

  1. Check that all of the following scan tool selections are correct:
  2. • Model year
    • Carline or Truckline
    • Engine option (VIN)
  3. Correct any selections in error.

Does the scan tool display engine data?

--

System OK

Go to Step 9

5

  1. Turn ON the ignition, leaving the engine OFF.
  2. Measure the voltage from terminal 16 of the DLC to ground with a DMM.

Is the voltage near the specified value?

B+

Go to Step 6

Go to Step 8

6

Probe the DLC terminals 4 and 5 (ground circuit terminals) with a test lamp connected to B+.

Did the test lamp illuminate for both circuits?

--

Go to Step 14

Go to Step 7

7

Repair the open in the DLC ground circuits. Refer to Wiring Repairs in Wiring Systems.

Is the action complete?

--

Go to Step 2

--

8

Repair the open or the short in the battery positive voltage circuit to the DLC. Refer Wiring Repairs in Wiring Systems.

Is the action complete?

--

Go to Step 2

--

9

Measure the voltage from terminal 7 of the DLC to ground with a DMM.

Is the voltage measured the same or more than the specified value?

11 volts

Go to Step 10

Go to Step 12

10

Connect a test lamp between the DLC connector terminal 7 and ground.

Does the test lamp illuminate?

--

Go to Step 11

Go to Step 14

11

Repair the short to battery positive voltage in the serial data circuit. Scan tool damage may have occurred. Refer to Wiring Repairs in Wiring Systems.

Is the action complete?

--

Go to Step 3

--

12

Repair the open or the short to ground in the serial data circuit between the PCM and the DLC. Refer to Wiring Repairs in Wiring Systems.

Was a repair necessary?

--

Go to Step 3

Go to Step 13

13

Replace the PCM. Refer to Powertrain Control Module Replacement .

Is the action complete?

--

Go to Step 3

--

14

  1. Check the electrical connections of the DLC connector and the scan tool for any of the following:
  2. • Bent or damaged electrical terminals
    • Loose or pushed back electrical terminals
    • Proper mating and joining together of the connectors
  3. Repair as necessary.

Was a repair necessary?

--

Go to Step 2

Go to Step 15

15

  1. The scan tool is faulty. Refer to the scan tool manual for repair information.
  2. Repair or replace the scan tool.

Is the action complete?

--

Go to Step 2

--