GM Service Manual Online
For 1990-2009 cars only

Removal Procedure


    Object Number: 444208  Size: SH

    Important: The exhaust gas recirculation (EGR) solenoid vacuum valve and the EGR bypass valve are serviced as a unit.

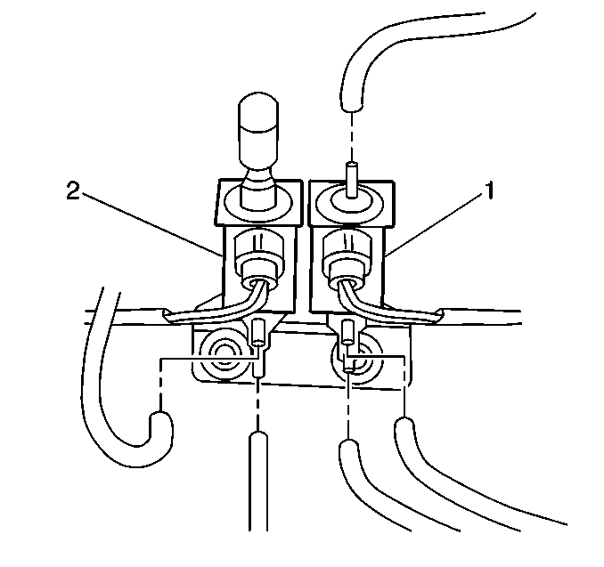
  1. Disconnect the two vacuum hoses from the EGR solenoid vacuum valve (2).
  2. Disconnect the three vacuum hoses from the EGR bypass valve (1).

  3. Object Number: 159718  Size: SH
  4. Disconnect the electrical connector from the EGR solenoid vacuum valve (2).
  5. Disconnect the electrical connector from the EGR bypass valve (1).

  6. Object Number: 159702  Size: SH
  7. Remove the two screws from the bracket securing the two EGR vacuum solenoids.
  8. Remove the EGR vacuum solenoids.

Installation Procedure


    Object Number: 159702  Size: SH
  1. Install the EGR vacuum solenoids to the bracket and secure with the two screws.

  2. Object Number: 159718  Size: SH
  3. Connect the EGR solenoid vacuum valve electrical connector (2).
  4. Connect the EGR bypass valve electrical connector (1).

  5. Object Number: 444208  Size: SH
  6. Connect the two vacuum hoses to the EGR solenoid vacuum valve (2).
  7. Connect the three vacuum hoses to the EGR bypass valve (1).