GM Service Manual Online
For 1990-2009 cars only

Idle Speed Control (ISC) Motor


Object Number: 55773  Size: SH
(1)Throttle Body Fuel Injection (TBI) Unit
(2)Idle Speed Control (ISC) Motor
(3)Closed Throttle Position (CTP) Switch Terminals
(4)Idle Speed Control (ISC) Motor Terminals
(5)Idle Speed Control (ISC) Motor Plunger
(6)Throttle Lever Screw
(7)Throttle Lever
(8)Throttle Stop Screw (Resin Cap)

The idle speed control (ISC) motor is attached to the throttle body fuel injection (TBI) unit. The powertrain control module (PCM) uses the ISC motor in order to control engine idle speed. The ISC motor consists of the following components:

    • A DC motor
    • A plunger
    • A gear assembly
    • A Closed Throttle Position (CTP) switch

The PCM controls the engine idle speed by running the ISC motor plunger forward or backward. The ISC motor plunger contacts the throttle lever screw in order to control the throttle valve opening. Forward movement of the ISC motor plunger increases the throttle valve opening and increases engine (idle) speed. Backward movement of the ISC motor plunger decreases the throttle valve opening and lowers engine (idle) speed.

Engine Idle Speed Control Operation

The engine idle speed is controlled by the powertrain control module (PCM) through the idle speed control (ISC) motor. There are several reasons for idle speed control:

  1. Maintain the engine idle speed at the specified RPM at all times. The engine idle speed can vary due to any of the following reasons:
  2. • A change in the load applied to engine (when an electrical load is applied, the automatic transaxle is shifted to R, D, 2 or L ranges, the A/C is turned ON, the headlights or stop lights are turned ON, etc.).
    • A change in the atmospheric pressure.
    • A change in the engine's condition over time.
    • Other factors causing the idle speed to change.
  3. Improve the starting performance of the engine.
  4. Improve the driveability of the engine during warm up.
  5. Compensate for the change in the air/fuel mixture ratio when decelerating (dash-pot effect).

The ISC motor opens and closes the throttle valve according to signals from the PCM. The PCM determines the correct engine idle speed by using input from various sensors and switches in order to assess engine status and requirements. When a forward rotation signal is sent from the PCM to the ISC motor, the ISC motor plunger extends in order to open the throttle valve. When a reverse rotation signal is sent, the ISC motor plunger contracts and the throttle valve closes by the return spring force. How much the throttle valve opens or closes is controlled according to the time during which signals are transmitted from the PCM to the ISC motor. The longer the time interval, the larger the throttle valve movement.

Main Relay


Object Number: 56314  Size: SH
(1)Main Relay
(2)Relay Box

The main relay is controlled by the powertrain control module (PCM). The PCM provides an electrical ground for the coil of the main relay when the ignition is ON or when the engine is running. The main relay provides power to many of the engine control components including the PCM. The following is a list of some of the PCM controlled outputs that depend on the main relay for proper operation:

    • The ignition system
    • The fuel injector
    • The fuel pump
    • The Exhaust Gas Recirculation (EGR) system solenoids
    • The EVAP Control system solenoids
    • The Idle Speed Control (ISC) relay
    • The Early Fuel Evaporation (EFE) relay

The main relay is located in the relay box on the LH side of the engine compartment near the battery.

Malfunction Indicator Lamp (MIL)

The malfunction indicator lamp (MIL) is located in the instrument panel gauge cluster. The MIL is illuminated by the powertrain control module (PCM) in order to notify the vehicle operator of an engine control system malfunction.

The MIL receives ignition positive voltage anytime the ignition is ON. The PCM illuminates the MIL by providing a ground for the MIL circuit. The MIL should be illuminated whenever the ignition is ON and the engine is not running. Illuminating the MIL whenever the ignition is ON and the engine is not running provides a check of the bulb and circuit. The PCM will turn OFF the MIL once the engine is started or running if there are no engine control system malfunctions.

Many of the conditions for illuminating and extinguishing of the MIL are performed by the PCM in accordance with OBD II regulations. For more information on the MIL function, review Powertrain Control Module (Common OBD II Systems).

The Powertrain On-Board Diagnostic (OBD) System Check guides the user to the correct diagnosis and repair of the MIL circuit.

Up-Shift Indicator Lamp

The upshift indicator lamp is located in the instrument panel cluster assembly and is controlled by the powertrain control module. The purpose of the upshift indicator is to provide a display that indicates to the driver when to upshift the manual transaxle for optimum fuel economy. The powertrain control module determines the optimal upshift point based on engine speed and load. The upshift indicator lamp will not be operational under any of the following conditions:

    • The vehicle's speed is less than 5 km/h (3 MPH).
    • The engine is idling or the engine is running under a heavy load.
    • The engine's speed is less than 1500 RPM.

Duty Check Data Link Connector


Object Number: 236945  Size: MH
(1)Blank (Not Used)
(2)Diagnostic Request Terminal
(3)Blank (Not Used)
(4)Ground Terminal
(5)Test Switch Terminal
(6)Duty Check Terminal
(7)Powertrain Control Module
(8)Duty Check Data Link Connector

The duty check data link connector contains a group electrical terminals connected directly to the powertrain control module (PCM). The duty check data link connector receives diagnostic requests and outputs diagnostic information from the PCM. The duty check data link connector is located behind the glove box next to the PCM.

Diagnostic Request Terminal

The diagnostic request terminal is located in the duty check data link connector. When the diagnostic request terminal is grounded, the powertrain control module outputs the idle speed control motor duty cycle (throttle valve opening) through the duty check terminal. The idle speed control motor duty cycle can be read with a DMM at the duty check terminal when the diagnostic request terminal is grounded.

When both the test switch terminal and the diagnostic request switch terminal are grounded simultaneously, the powertrain control module outputs the air/fuel duty cycle through the duty check terminal.

Test Switch Terminal

The test switch terminal is located in the duty check data link connector. When the test switch terminal is grounded, the powertrain control module sets the ignition timing to the base setting.

When both the test switch terminal and the diagnostic request switch terminal are grounded simultaneously, the powertrain control module outputs the air/fuel duty cycle through the duty check terminal.

Early Fuel Evaporation (EFE) Heater


Object Number: 56673  Size: SH
(1)Gasket
(2)Intake Manifold
(3)EFE Heater

The early fuel evaporation (EFE) system provides rapid heating of the air/fuel mixture during cold start conditions. Rapid heating of the air/fuel mixture provides quick fuel evaporation and more uniform fuel distribution. Rapid heating of the air/fuel mixture improves cold driveability. The EFE system also reduces the length of time the engine is in open loop. Reducing the open loop operation time helps lower exhaust emission levels. The EFE system consists of the following components:

    • The EFE Heater (Positive Temperature Coefficient heater)
    • The EFE Heater Relay

The EFE heater is located between the throttle body fuel injection unit and the intake manifold. The EFE heater relay is mounted in the relay box.

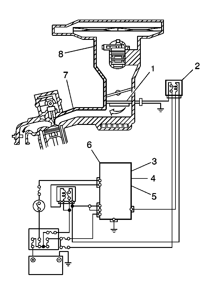
Early Fuel Evaporation (EFE) Heater Operation


Object Number: 56523  Size: MH
(1)EFE Heater
(2)EFE Heater Relay
(3)Engine Coolant Temperature Sensor Signal
(4)Camshaft Position Sensor Signal
(5)Engine Start Signal
(6)Powertrain Control Module
(7)Intake Manifold Runner
(8)Throttle Body Injection Unit

The powertrain control module (PCM) will energize the EFE heater relay coil when the engine is below normal operating temperature and engine speed is above idle. Ignition positive voltage is supplied to the EFE heater through the electrical contacts in the EFE heater relay. The EFE heater will preheat the air/fuel mixture before it enters the combustion chambers. The PCM will de-energize the EFE system when the engine reaches normal operating temperature, or the engine speed is reduced to idle.

A/C Cutout Signal

The powertrain control module (PCM) can prevent the engagement of the A/C compressor clutch through the A/C compressor control module. The PCM provides a ground signal to the A/C compressor control module that enables the A/C compressor control module to operate the A/C compressor clutch relay. The PCM allows the A/C compressor clutch to operate at customer request except during wide open throttle engine operation.