GM Service Manual Online
For 1990-2009 cars only

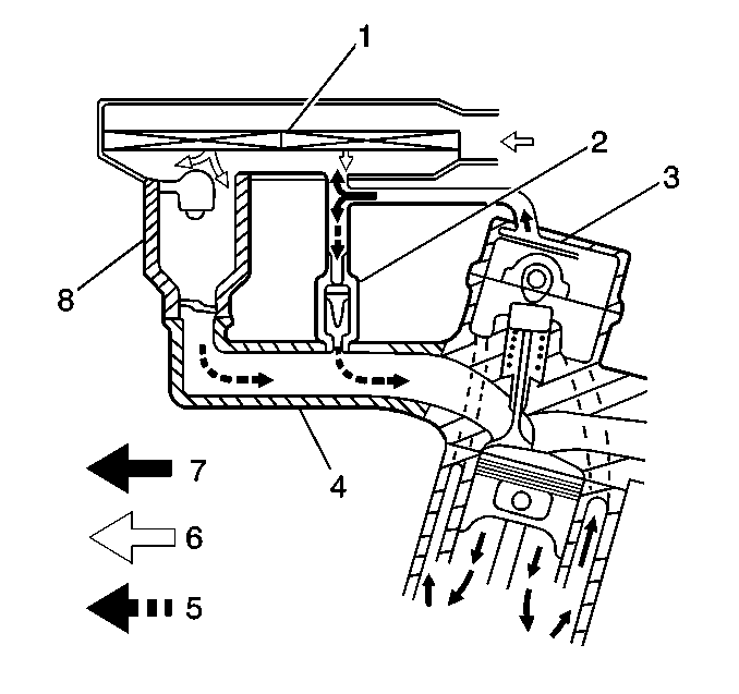
Object Number: 56696  Size: SH
(1)Air Cleaner Assembly
(2)PCV Valve
(3)Valve Cover
(4)Intake Manifold
(5)Blowby Gas and Fresh Air Mixture
(6)Fresh Air
(7)Blowby Gas
(8)Throttle Body Injection Unit

The compressed combustion gas which escapes past the piston rings into the crankcase is known as blowby gas. Blowby gas contains large amounts of CO and HC. The PCV system prevents the blowby gas from being emitted into the atmosphere. The PCV system routes crankcase blowby gas back into the intake system where it becomes part of the combustion process. The Positive Crankcase Ventilation (PCV) system consists of the following components:

    • The PCV valve
    • The crankcase vent (breather) or air inlet tube
    • The air inlet filter or separator (if used)
    • Any hoses or couplers

Operation

The primary control of engine crankcase blowby gas is the PCV valve. The PCV valve meters the flow of blowby gas according to the manifold vacuum signal.

PCV Valve


Object Number: 56689  Size: SH
(1)Check Valve

In order to maintain idle quality, the PCV valve restricts the flow of blowby gas whenever intake manifold vacuum is high. Abnormally high crankcase pressure may cause the blowby gases to flow through the crankcase vent tube and into the air cleaner. The blowby gases are then drawn into the intake system and consumed in the normal combustion process. The relationship between the flow of blowby gas and engine manifold vacuum is charted in the following table:

PCV Valve Operation

Manifold Vacuum

PCV Valve Opening

Blowby Gas Flow

Low

Large

High

High

Small

Low

Results Of Incorrect Operation

A plugged valve or hose may cause any of the following conditions:

    • A rough engine idle
    • Engine stalling or low engine idle speed
    • High engine crankcase pressure
    • Engine oil leaks
    • Engine oil in the air cleaner
    • Oil sludge in the engine
    • Engine oil consumption
    • Excessive exhaust emissions

A leaking valve or hose may cause any of the following conditions:

    • A rough engine idle
    • Engine stalling
    • High engine idle speed
    • Incorrect engine crankcase pressure
    • Excessive exhaust emissions