| ||||||
|---|---|---|---|---|---|---|
Connector Part Information |
| |||||
Pin | Wire Color | Function | ||||
C1-1 | BLK/GRN | PCM Ground | ||||
C1-2 | WHT/BLU | Ignition Positive Voltage | ||||
C1-3 | PNK/BLU | EVAP Canister Vent Solenoid Control | ||||
C1-4 | PNK | HO2S 2 Heater Control | ||||
C1-5 | ORN/GRN | Shift Solenoid-B (A/T only) | ||||
C1-6 | ORN | Shift Solenoid-A (A/T only) | ||||
C1-7 | RED/GRN | EVAP Canister Purge Valve Control | ||||
C1-8 | ORN/GRN | 2nd Brake Solenoid Control - A/T | ||||
C1-9 | ORN | Direct Clutch Solenoid Control - A/T | ||||
C1-10 | ORN | Ignition Trigger Signal | ||||
C1-11 | GRY/YEL | Idle Speed Control (ISC) Motor Command | ||||
C1-12 | BRN/WHT | Fuel Injector Control | ||||
C1-13 | BLK/BLU | PCM Ground | ||||
C1-14 | WHT | Memory Power Input | ||||
C1-15 | WHT/BLU | Ignition Positive Voltage | ||||
C1-16 | GRY/BLK | Idle Speed Control (ISC) Motor Relay Control | ||||
C1-17 | PPL/YEL | Malfunction Indicator Lamp (MIL) Control | ||||
C1-18 | PPL/RED | Upshift Indicator Lamp Control | ||||
C1-19 | RED/BLU | EVAP Tank Pressure Control Solenoid Valve Control | ||||
C1-20 | BLU | Engine Cooling Fan Relay Control | ||||
C1-21 | PNK/WHT | Fuel Pump Relay Control | ||||
C1-22 | BLU/BLK | Main Relay Control | ||||
C1-23 | -- | Not Used | ||||
C1-24 | GRY/RED | Idle Speed Control (ISC) Motor Command | ||||
C1-25 | YEL/RED | Early Fuel Evaporative (EFE) Heater Relay Control | ||||
C1-26 | BLK/RED | PCM Ground | ||||
| ||||||
|---|---|---|---|---|---|---|
Connector Part Information |
| |||||
Pin | Wire Color | Function | ||||
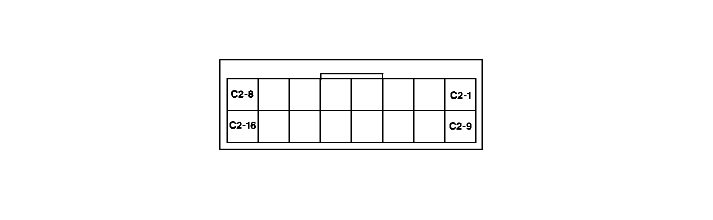
C2-1 | LT GRN | Reference Voltage | ||||
C2-2 | ORN | Ignition Reference (CMP Sensor) | ||||
C2-3 | WHT/BLK | Ignition Reference High (CKP Sensor) | ||||
C2-4 | PPL | Vehicle Speed Sensor (VSS) High - A/T | ||||
YEL/GRN | Vehicle Speed Sensor (VSS) - M/T | |||||
C2-5 | ORN/GRN | Manifold Absolute Pressure (MAP) Sensor Input | ||||
C2-6 | LT GRN/WHT | Throttle Position (TP) Sensor Input | ||||
C2-7 | GRY/WHT | Engine Coolant Temperature (ECT) Sensor Input | ||||
C2-8 | PNK/BLK | HO2S 1 Heater Control | ||||
C2-9 | LT GRN/BLK | Sensor Ground | ||||
C2-10 | WHT | Ignition Reference Low (CMP Sensor) | ||||
C2-11 | WHT/BLK | Ignition Reference Low (CKP Sensor) | ||||
C2-12 | GRY/YEL | Early Fuel Evaporative (EFE) On Signal | ||||
C2-13 | RED | HO2S 1 Signal | ||||
C2-14 | GRY | Intake Air Temperature (IAT) Sensor Input | ||||
C2-15 | BLU/WHT | Power Steering Pressure Switch Input | ||||
C2-16 | BLK/YEL | Transmission Range (TR) Switch Input - A/T Closed Pedal Position (CPP) Switch - M/T | ||||
| ||||||
|---|---|---|---|---|---|---|
Connector Part Information |
| |||||
Pin | Wire Color | Function | ||||
C3-1 | -- | Not Used | ||||
C3-2 | PPL | Vehicle Speed Sensor (VSS) Signal High - A/T | ||||
C3-3 | GRN | 2 Position Signa - A/T | ||||
C3-4 | ORN/YEL | N Position Signal - A/T | ||||
C3-5 | ORN/BLK | P Position Signal - A/T | ||||
C3-6 | BLU/YEL | Diagnostic Request Signal | ||||
C3-7 | PPL/GRN | Test Switch Signal | ||||
C3-8 | YEL | HO2S 2 Signal | ||||
C3-9 | -- | Not Used | ||||
C3-10 | YEL/GRN | Fuel Level Sensor Input | ||||
C3-11 | YEL/RED | Vehicle Speed Sensor (VSS) Input - M/T | ||||
C3-12 | PPL/WHT | Serial Data Output | ||||
C3-13 | LT GRN | Vehicle Speed Sensor (VSS) Signal Low - A/T | ||||
C3-14 | GRN/BLU | L Position Signall - A/T | ||||
C3-15 | GRN/RED | D Position Signall - A/T | ||||
C3-16 | RED | R Position Signall - A/T | ||||
C3-17 | GRY | A/C Cut-Out Control | ||||
C3-18 | BRN/WHT | Electrical Load Idle-Up Signal | ||||
C3-19 | BLU/RED | A/C Idle-Up Signal | ||||
C3-20 | BLK/WHT | Ignition Positive Voltage | ||||
C3-21 | LT GRN/YEL | Fuel Tank Pressure (FTP) Sensor Input | ||||
C3-22 | -- | Not Used | ||||