Removal Procedure
- Remove the fuel tank from the vehicle. Refer to
Fuel Tank Replacement
.
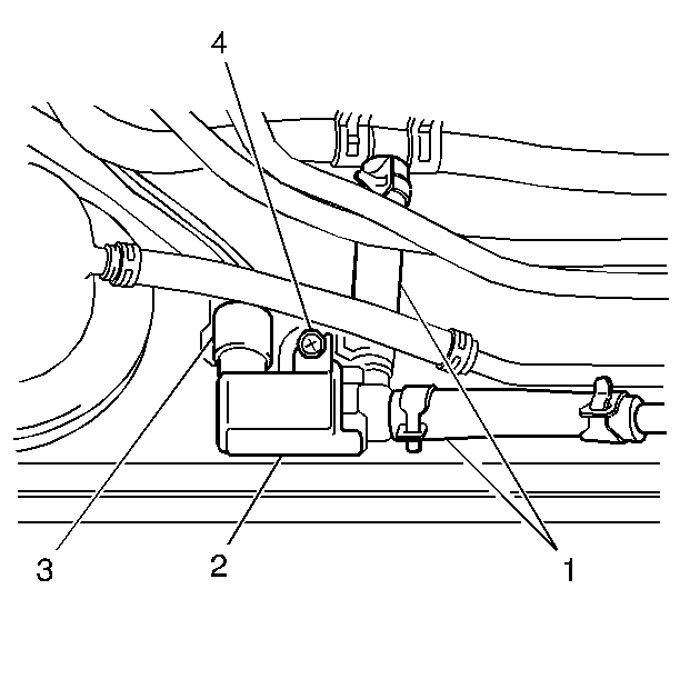
- Disconnect the 2 vacuum hoses (1) from
the EVAP tank pressure control solenoid valve (2).
- Disconnect the electrical connector (3) from the pressure control
solenoid valve.
- Remove the one screw (4) and the EVAP tank pressure control solenoid
valve (2) from the fuel tank.
Installation Procedure
Notice: Use the correct fastener in the correct location. Replacement fasteners
must be the correct part number for that application. Fasteners requiring
replacement or fasteners requiring the use of thread locking compound or sealant
are identified in the service procedure. Do not use paints, lubricants, or
corrosion inhibitors on fasteners or fastener joint surfaces unless specified.
These coatings affect fastener torque and joint clamping force and may damage
the fastener. Use the correct tightening sequence and specifications when
installing fasteners in order to avoid damage to parts and systems.
- Install the pressure control valve (2) to
the fuel tank, and secure the valve with the screw (4).
Tighten
Tighten the screw to 1.6 N·m (14 lb in).
- Connect the electrical connector (3) to the pressure control valve
.
- Connect the 2 vacuum hoses (1) to the EVAP tank pressure control
solenoid valve (2).
- Install the fuel tank to the vehicle. Refer to
Fuel Tank Replacement
.