GM Service Manual Online
For 1990-2009 cars only

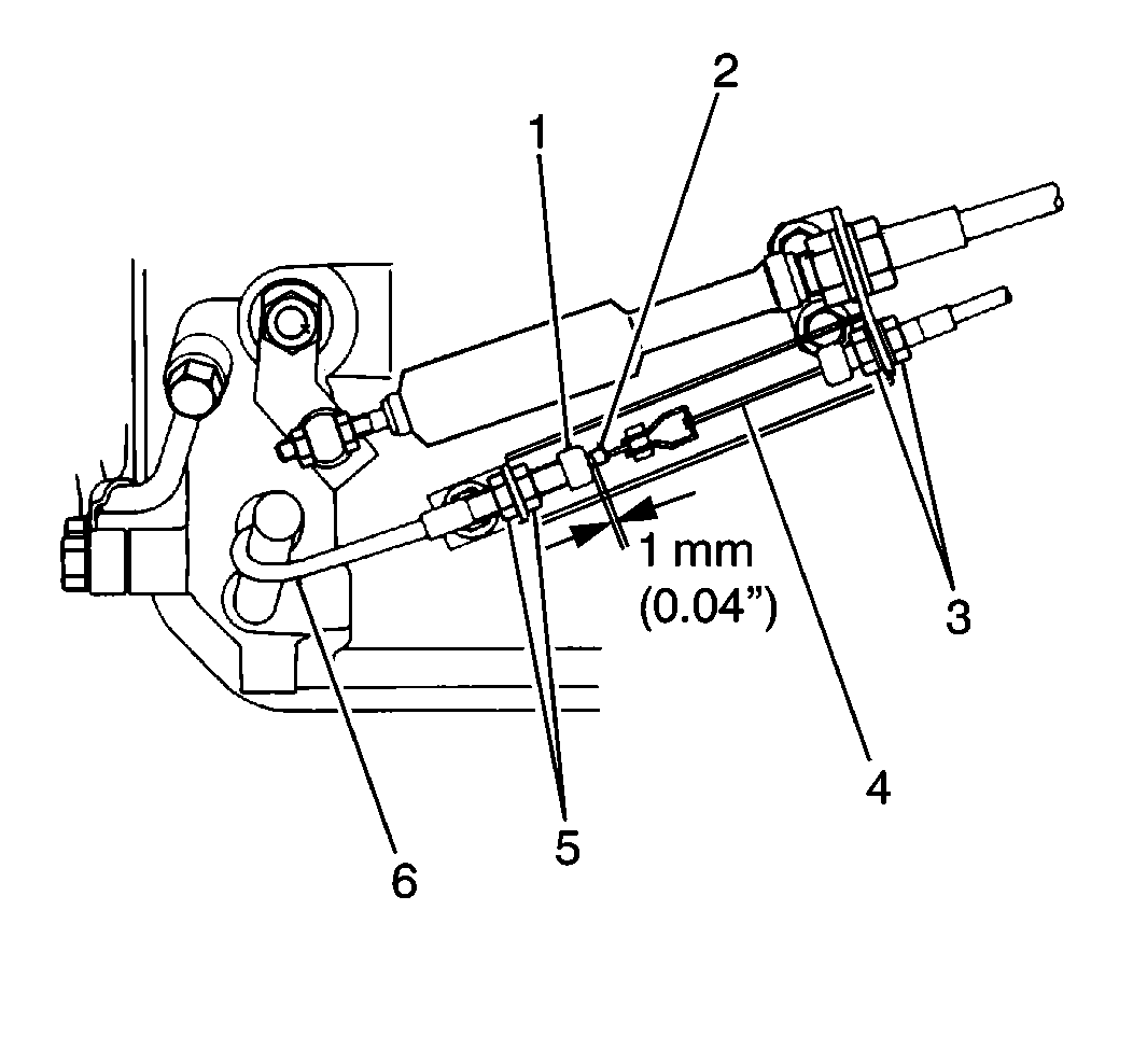
    Object Number: 179485  Size: SH
  1. Inspect the accelerator cable (4) for play and adjust the accelerator cable if necessary. Refer to Accelerator Cable Adjustment in Engine Controls.
  2. Start the engine and let the engine idle until the normal operating temperature has been reached.
  3. Remove the throttle valve (TV) cable adjustment cover.
  4. Measure the TV cable boot-to-inner cable stopper (2) clearance with a feeler gage. If the clearance is more than 1.0 mm (0.04 in), adjust the TV cable.
  5. Adjust the TV cable boot-to-inner cable stopper clearance by turning TV cable adjustment nuts (5) until a clearance of 1.0 mm (0.04 in) has been reached. You may additionally use the accelerator cable adjustment nuts (3) in order to adjust the TV cable boot-to-inner cable stopper clearance.