GM Service Manual Online
For 1990-2009 cars only

Removal Procedure

Tools Required

J 34673 Flat Gage Bar

  1. Remove the 16 upper valve body bolts.
  2. Important: The upper half of the valve body contains  4 check balls, also known as the check valves. When you seperate the valve body halves, do so with the upper half facing downward in order not to displace the 4 check balls. When you reassemble the valve body, confirm that you have positioned these check balls in their correct passages. Failure to observe this procedure may result in transaxle shift failure.

  3. Disassemble the lower valve body from the upper valve body. Position the upper valve body on the bottom and the lower valve body on the top.
  4. Remove the spacer plate and the gaskets.
  5. Remove the valve body and the accumulators. Refer to Valve Body and Accumulators .

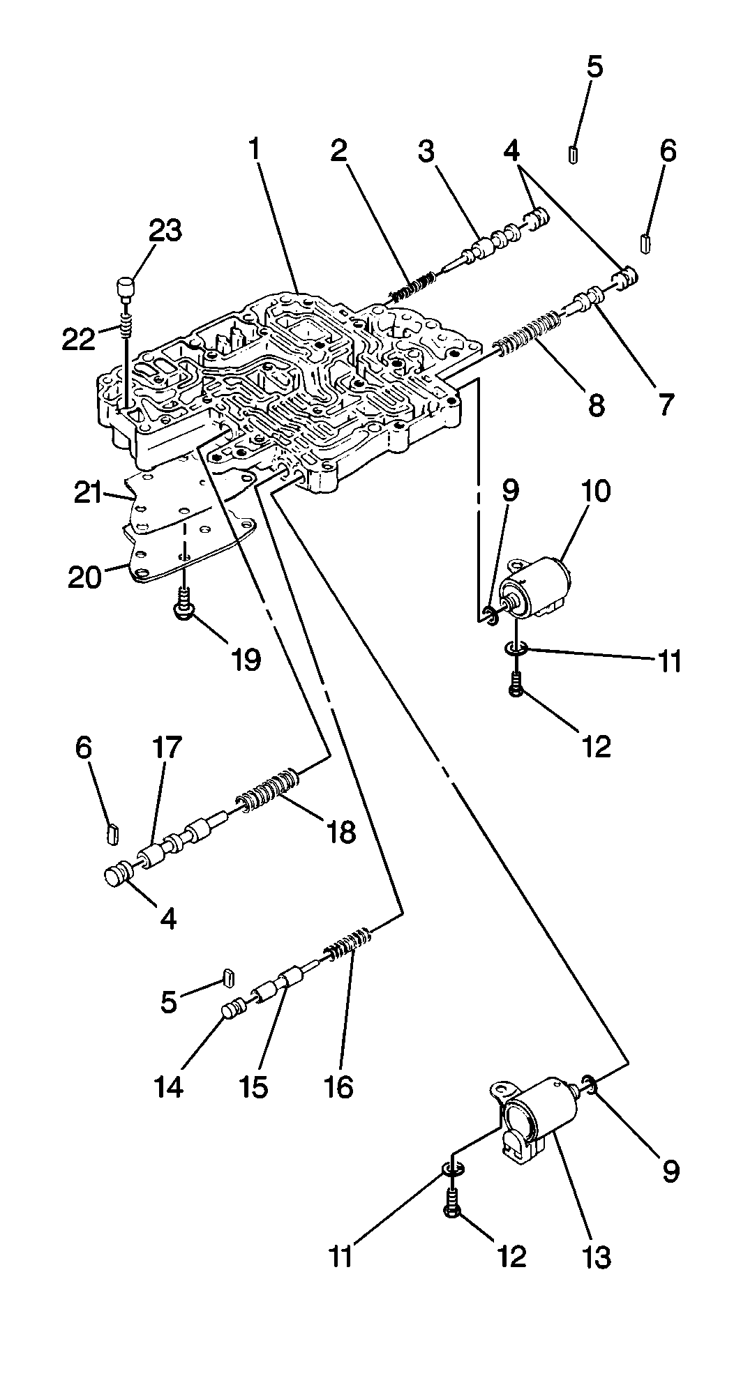
  6. Object Number: 179565  Size: LH
  7. Remove one bolt and the direct clutch solenoid (10) from the lower valve body (1).
  8. Remove one bolt and the second brake solenoid (13) from the lower valve body.
  9. Remove the No. 2 valve body key (6) from the lower valve body.
  10. Remove the shift valve plug (4) from the lower valve body.
  11. Remove the 2-3 shift valve (7) from the lower valve body.
  12. Remove the 2-3 shift valve spring (8) from the lower valve body.
  13. Remove the No. 1 valve body key (5) from the lower valve body.
  14. Remove the shift valve plug from the lower valve body.
  15. Remove the secondary regulator valve (3) from the lower valve body.
  16. Remove the secondary regulator valve spring (2) from the lower valve body.
  17. Remove the No. 1 valve body key from the lower valve body.
  18. Remove the B2 control valve plug (14) from the lower valve body.
  19. Remove the B2 control valve (15) from the lower valve body.
  20. Remove the B2 control valve spring (16) from the lower valve body.
  21. Remove the No. 2 valve body key from the lower valve body.
  22. Remove the shift valve plug from the lower valve body.
  23. Remove the 1-2 shift valve (17) from the lower valve body.
  24. Remove the 1-2 shift valve spring (23) from the lower valve body.
  25. Remove the cooler bypass valve (22) from the lower valve body.
  26. Remove the cooler bypass valve spring (21) from the lower valve body.
  27. Remove six bolts and lower valve body cover (19) and gasket from the lower valve body.
  28. Clean all parts with clean solvent and dry them thoroughly.
  29. Inspect the lower valve body for distorted or damaged valve bores.
  30. Inspect the lower valve body for blocked fluid passages.
  31. Place J 34673 across the lower valve body mating surface.
  32. Rotate J 34673 . Inspect for surface warp every 30 degrees.
  33. If lower valve body surface warp exists, replace the upper valve body.

  34. Inspect the valves, the springs and the attaching parts for unusual wear or damage. Replace as necessary.
  35. Inspect the direct clutch and the second brake solenoid O-rings for cuts or damage. Replace as necessary.

Installation Procedure

Tools Required

J 36850 Transjel® Transmission Assembly Lubricant


    Object Number: 179565  Size: LH
  1. Apply a thin coat of J 36850 to all parts prior to assembly.
  2. Notice: Use the correct fastener in the correct location. Replacement fasteners must be the correct part number for that application. Fasteners requiring replacement or fasteners requiring the use of thread locking compound or sealant are identified in the service procedure. Do not use paints, lubricants, or corrosion inhibitors on fasteners or fastener joint surfaces unless specified. These coatings affect fastener torque and joint clamping force and may damage the fastener. Use the correct tightening sequence and specifications when installing fasteners in order to avoid damage to parts and systems.

  3. Lower the valve body cover (19) and the new gasket onto the lower valve body (1). Secure the cover with 6 bolts.
  4. Tighten
    Tighten the lower valve body cover bolts (18) to 4 N·m (35 lb in).

  5. Install the cooler bypass valve spring (21) into the lower valve body.
  6. Install the cooler bypass valve (22) into the lower valve body.
  7. Install the 1-2 shift valve spring (23) into the lower valve body.
  8. Install the 1-2 shift valve (17) into the lower valve body.
  9. Install the shift valve plug (4) into the lower valve body.
  10. Install the No. 2 valve body key (6) into the lower valve body.
  11. Install the B2 control valve spring (16) into the lower valve body.
  12. Install the B2 control valve (15) into the lower valve body.
  13. Install the B2 control valve plug (14) into the lower valve body.
  14. Install the No. 1 valve body key (5) into the lower valve body.
  15. Install the secondary regulator valve spring (2) into the lower valve body.
  16. Install the secondary regulator valve (3) into the lower valve body.
  17. Install the shift valve plug into the lower valve body.
  18. Install the No. 1 valve body key into the lower valve body.
  19. Install the 2-3 shift valve spring (8) into the lower valve body.
  20. Install the 2-3 shift valve (7) into the lower valve body.
  21. Install the shift valve plug into the lower valve body.
  22. Install the No. 2 valve body key into the lower valve body.
  23. Install the second brake solenoid (13) into the lower valve body. Secure with one bolt.
  24. Tighten
    Tighten the second brake solenoid retaining bolt to 4 N·m (35 lb in).

  25. Install the direct clutch solenoid (10) into the lower valve body. Secure the solenoid with one bolt.
  26. Tighten
    Tighten the direct clutch solenoid retaining bolt to 4 N·m (35 lb in).

  27. Inspect all of the valves in order to ensure smooth operation.
  28. Install the gaskets and spacer plate.
  29. Position the lower valve body with the upper valve body.
  30. Install the 16 valve body bolts. Refer to Valve Body and Accumulators
  31. Install the valve body assembly to the transmission. Refer to Valve Body and Accumulators